Kampa GA7500 EVO Series 2 Portable Gas Stove Instruction Manual

Portable gas stove
Operating manual
© 2022 Dometic Group. The visual appearance of the contents of this manual is protected by copyright and design law. The underlying technical design and the products contained herein may be protected by design, patent or be patent pending. The trademarks mentioned in this manual belong to Dometic Sweden AB. All rights are reserved.






Please read these instructions carefully and follow all instructions, guidelines, and warnings included in this product manual in order to ensure that you install, use, and maintain the product properly at all times. These instructions MUST stay with this product.
.By using the product, you hereby confirm that you have read all instructions, guidelines, and warnings carefully and that you understand and agree to abide by the terms and conditions as set forth herein. You agree to use this product only for the intended purpose and application and in accordance with the instructions, guidelines, and warnings as set forth in this product manual as well as in accordance with all applicable laws and regulations. A failure to read and follow the instructions and warnings set forth herein may result in an injury to yourself and others, damage to your product or damage to other property in the vicinity. This product manual, including the instructions, guidelines, and warnings, and related documentation, may be subject to changes and updates. For up-to-date product information, please visit kampaoutdoors.com.
Explanation of symbols
DANGER!
Safety instruction: Indicates a hazardous situation that, if not avoided, will result in death or serious injury.
WARNING!
Safety instruction: Indicates a hazardous situation that, if not avoided, could result in death or serious injury.
CAUTION!
Safety instruction: Indicates a hazardous situation that, if not avoided, could result in minor or moderate injury.
Safety instructions
General safety
WARNING! Failure to obey these warnings could result in death or serious injury.
Explosion hazard
- This product may only be repaired by qualified personnel.
Inadequate repairs may cause serious hazards. - Do not modify this product.
- Do not remove or replace any components of this product.
- This product shall only be used with a Kampa butane gas cartridge (ref. no. 9120000991) or other P220 cartridges complying with EN 417. It may be hazardous to attempt to fit other types of gas containers.
CAUTION! Failure to obey these cautions could result in minor or moderate injury.
Fire Hazard
- Only adults shall operate this product.
- Do not leave this product unattended when hot or in use.
- Keep a fire extinguisher or other means suitable to extinguish a flame ready.
Burn hazard
- Keep hands, face and hair away from burners.
- Do not wear loose clothing or allow long hair to hang freely while lighting or using this product.
- Keep children and pets safely away.
- Carefully monitor all activity around this product to avoid burns or other injuries.
Operating this product safely
DANGER! Failure to obey these instructions will cause death or serious injury.
Hazard of carbon monoxide poisoning
- Never use this product indoors.
The process of burning liquid gas produces carbon monoxide which accumulates inside enclosed areas.
Beware of suffocation
- Operating this product in an unventilated area will reduce the amount of oxygen in this area.
- Do not operate this product in unventilated areas such as enclosed premises, tents, awning tents, motor vehicles, motor homes, caravans or inside ships, yachts, boats and truck cabs.
- Use outdoors only.
- Do not use as a space heater.
WARNING! Failure to obey these warnings could result in death or serious injury.
Explosion hazard
- This product shall only be used in an above ground open air situation with natural ventilation, without stagnant areas, where gas leakage and products of combustion are rapidly dispersed by wind and natural convection.
- Do not use this product if it is leaking, damaged or does not operate properly.
- Do not place chemicals, flammable materials or spray aerosols near this product.
- Never use a naked flame to check for gas leak, use soapy waters.
- If you wish to check for leaks on this product, do it outside.
- If you smell gas:
– Do not attempt to light this product.
– Extinguish any naked flames.
– Disconnect from gas supply.
– Have the gas system checked by a specialist. - Only attach or detach the gas cartridge outdoors away from a naked flame, pilot light or other source of ignition and only when this product is cool to touch.
- Check that the seal between this product and the gas cartridge is in place and in good condition before using the gas cartridge.
- Do not use this product if the seal is damaged or worn.
CAUTION! Failure to obey these cautions could result in minor or moderate injury.
Fire Hazard
- Do not operate this product within 100 cm of any combustible material including walls and ceiling.
- Do not place any objects other than cooking pots and pans on or against this product.
- Never place this product near flammable materials (paper, dry leaves, textiles).
- Keep flammable objects away from the burner.
- In case of fire shut off the gas supply.
Burn hazard
- Do not move this product during use.
- Use protective gloves when handling hot components.
- Leave this product to cool down properly before you touch it with bare hands.
- Accessible parts may be very hot. Keep young children away.
- The use of alcohol or prescription or non-prescription drugs may impair your ability to properly assemble or safely operate this product.
Health hazard
- Only operate this product when an adult can attend to it.
Safety precautions when handling liquid gas
WARNING! Failure to obey these warnings could result in death or serious injury.
- After use always disconnect the liquid gas cartridge.
- Never insert or remove the gas cartridge indoors, in badly ventilated areas, near other people, near heat sources or when the device is still warm.
- Store gas cartridges away from heating or cooking devices and heat sources in a well-ventilated area out of the reach of children.
- Never store gas cartridges in unventilated areas or below ground level (funnel-shaped holes in the ground).
- Never store gas cartridges in buildings such as garages.
- Do not store gas cartridges on their side.
- Keep gas cartridges away from direct sunlight. The temperature should not exceed 50 °C.
Scope of delivery
- Portable gas stove
Intended use
The portable gas stove EVO Series 2 is suitable for:
- Outdoor cooking
The portable gas stove EVO Series 2 is not suitable for: - Use as a heating device
- Operation in enclosed spaces like buildings, tents or awning tents
- Operation in caravans, mobile homes or boats
This product is only suitable for the intended purpose and application in accordance with these instructions.
This manual provides information that is necessary for proper installation and/or operation of the product. Poor installation and/or improper operating or maintenance will result in unsatisfactory performance and a possible failure.
The manufacturer accepts no liability for any injury or damage to the product resulting from:
- Incorrect assembly or connection, including excess voltage
- Incorrect maintenance or use of spare parts other than original spare parts provided by the manufacturer
- Alterations to the product without express permission from the manufacturer
- Use for purposes other than those described in this manual
Kampa reserves the right to change product appearance and product specifications.
Technical description
This portable gas stove has one burner.
Safety device
This oven is equipped with a safety device which stops the flow of gas if the pressure in the cartridge becomes too high (for example because of overheating).
If the cartridge is ejected from the regulator, do not connect the cartridge again, let the stove cool down completely before further use.
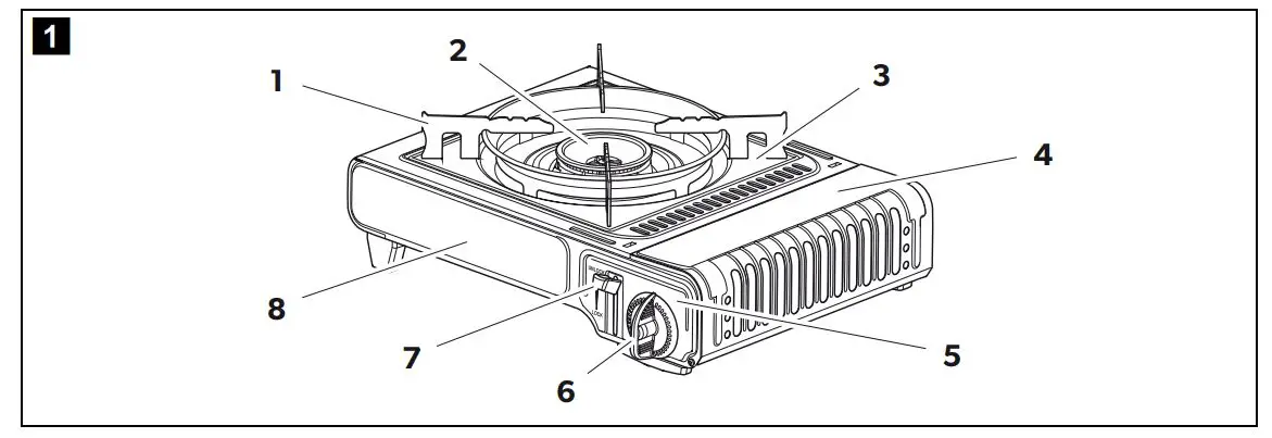
Parts and controls

Using this product
WARNING! Explosion hazard
This product shall only be used with a Kampa butane gas cartridge (ref. no. 9120000991) or other P220 cartridges complying with EN 417. It is hazardous to attempt to fit other types of gas cartridges.
CAUTION! Burn hazard
- Keep hands, face and hair away from burners.
- Do not wear loose clothing or allow long hair to hang freely while lighting or using this product.
- Keep children and pets safely away.
- Carefully monitor all activity around this product to avoid burns or other injuries.
- Do not move the product during use.
- Do not touch the hot parts of the product during and after use.
- Use heatproof gloves to handle the cooking appliances.
- Use sturdy long handled cooking tools when cooking.
- Leave the product to cool down properly before storing.
- After use always disconnect the liquid gas cartridge.
➤ Follow the safety instructions shown (fig.2, page 3 to fig.3, page 3).
Before first use
Familiarize yourself with the product by carrying out a test set up before the product is used for the first time.
Placing the product
WARNING! Explosion hazard
- If there is a leak on your appliance (smell of gas) take it outside immediately into a well ventilated flame free location where the leak can be detected and stopped.
- If you wish to check for leaks on your appliance, do it outside. Do not try to detect leaks using a flame, use soapy water.
When selecting the location for setting up this product, observe the following instructions:
- Position the product outdoors.
- The place must be well-ventilated. Do not place it in a dip to prevent any gases from accumulating there.
- Place the product on a horizontal surface.
- Keep the product protected from the wind and direct drafts.
- The ground must be firm, level and stable.
- Never place the product near or on flammable materials, even when cooling down. Keep a distance of at least 100 cm to flammable materials.
- The product must stand on a base that can withstand heat of up to at least 80 °C. The housing can become very hot when in use.
- Observe the safety instructions, see chapter “Safety precautions when handling liquid gas” on page 5.
Inserting the gas cartridge
WARNING! Explosion hazard
Check that the seal (fig.4 4. A, page 3) is in place and in good condition.
- Proceed as shown (fig.4, page 3).
- Do not use excessive force. If the cartridge lock lever will not push down, check the position of the notch (fig.4 4. B, page 3).
- If you hear a hissing noise, the gas cartridge has not been fitted correctly. Release the cartridge lock lever and reposition the cartridge.
Igniting the product
WARNING! Health hazard
Do not leave the product unattended while in use.
- Proceed as shown (fig.5, page 4).
- If the burner does not ignite, repeat the ignition.
Removing the gas cartridge
WARNING! Health hazard
- Do not transport or store the device with the gas cartridge inserted.
- Remove the gas cartridge in a well-ventilated location, away from any sources of ignition and away from other people.
- Ensure that there are no naked flames in the vicinity.
- Only remove the gas cartridge when the product is switched off and has cooled down.
The cartridge may be disconnected even if some gas remains.
- Proceed as shown (fig.6, page 4).
- Check the content of a cartridge by shaking and listening for the liquid gas.
- Refit the protective cap and store the gas cartridge in a cool, dry, well ventilated place out of the reach of children.
- Check the condition of the seal (fig.4 4. A, page 3). Let the seal be replaced by a qualified person if material is brittle or porous.
Moving and storing the product
WARNING! Health hazard
Do not transport or store the device with the gas cartridge inserted.
Proceed as follows:
- Turn off the product.
- Let the product cool down completely.
- Remove the gas cartridge from the product (see chapter “Removing the gas cartridge” on page 7).
- Clean the product (see chapter “Cleaning and maintenance” on page 7).
- Store the device on a level, stable place out of the reach of children.
Cleaning and maintenance
WARNING! Health hazard
Check the proper functioning of the connection/disconnection system of the gas cartridge regularly.
Clean the product after each use:
- Ensure the product is cold.
- Remove the gas cartridge from the product.
- Wash the surfaces of the product with hot soapy water (fig.7, page 4).
- Periodically check the burner to see it is free of dirt like insects or food remains. Use a brush to clean it.
Troubleshooting

Warranty
The statutory warranty period applies. If the product is defective, please contact the manufacturer’s branch in your country (see kampaoutdoors.com/store-locator) or your retailer.
For repair and warranty processing, please include the following documents when you send in the device:
- A copy of the receipt with purchase date
- A reason for the claim or description of the fault
Disposal
➤ Place the packaging material in the appropriate recycling waste bins, wherever possible.
![]()
Consult a local recycling center or specialist dealer for details about how to dispose of the product in accordance with the applicable disposal regulations.
Technical data


Part of the Dometic Group
We distribute our products in around 100 markets. Please ask for your contact point or check the web. kampaoutdoors.com
Manufacturer: Dometic UK Awnings Limited, Witham, Essex, UK
Importer EU: Dometic Germany GmbH, Hollefeldstraße 63, 48282 Emsdetten, Germany



















