Crosby S-423T Wire Rope End Fittings

S-423T SUPER TERMINATOR
The intended purpose of the SUPER TERMINATOR is to offer a Wedge Socket termination, which when assembled properly with high performance, high strength, compacted strand, rotation resistant wire rope will achieve an 80% termination efficiency. Due to the unique construction of these ropes, Crosby cannot make a broad general statement that all current and future designed ropes, when properly assembled with a SUPER TERMINATOR , will achieve a minimum 80% termination efficiency (To determine the efficiency rating for a specific rope, contact Crosby Engineering at 918-834-4611.).
The SUPER TERMINATOR may be purchased as a complete Wedge Socket assembly or the Wedge assembly may be purchased for retrofit onto your Crosby S-421T wedge socket basket.
The Crosby S-423T SUPER TERMINATOR Wedge is designed to be assembled only into the Crosby S-421T socket basket. For the 1-1/4″ S-423T, assemble only on to S-421T basket marked TERMINATOR .
Important Safety Information – Read and Understand Inspection/Maintenance Safety
- Always inspect socket, wedge and pin before using.
- Do not use part showing cracks.
- Do not use modified or substitute parts.
- Repair minor nicks or gouges to socket or pin by lightly grinding until surfaces are smooth. Do not reduce original dimension more than 10%. Do not repair by welding.
- Inspect permanent assemblies annually, or more often in severe operating conditions.
- Do not mix and match wedges or pins between models or sizes. · Always select the proper wedge and socket for the wire rope size.
Assembly Safety
- Properly match socket and wedge assembly to wire rope size.
- Ensure the dead end is properly seized before inserting the wire rope into the wedge socket basket. High performance, high strength, compacted strand, rotation resistant wire ropes are sensitive to seizing methods. For specific seizing procedures, contact the wire rope manufacturer. The tail length of the dead end should be a minimum of 20 rope diameters but not less than 10″ (See Fig. 1). · Mount wedge socket basket in vice.
- Insert live end of wire rope into wedge basket, aligning live end of rope with center line of pin. Make a loop and return (See Figure 2).
- Pull on live line to remove excess out of loop, leaving enough room to properly insert wedge into basket (See Figure 3).
- Secure rope to SUPER TERMINATOR Wedge with clamp (See Figure 4).
- Pull Wedge and rope into basket until tensioner bolt, with washers properly applied, can engage threads in nose of wedge. Auxillary power may be required to fully pull wedge and rope into basket (See Figure 5).
- Use torque wrench to tighten tensioner bolt to recommended torque value, properly seating wedge and rope into basket. Reference Table 1 for recommended Torque in Ft Lbs.
- Secure dead end section of rope with clip base. Tighten bolts to recommended torque values (See Table 1).
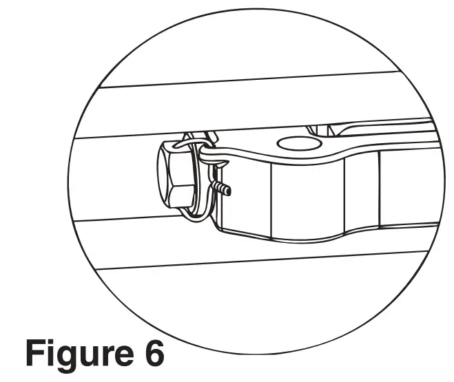
- Properly install wire to securely lock tensioner bolt to tensioner. (See Figure 6). · Do not attach dead end to live end or install wedge backwards. (See Figure 7).
Operating Safety
- Proper application of the Super TERMINATOR eliminates the “first load” requirement of conventional wedge socket terminations.
- Efficiency rating of the Wedge Socket termination is based upon the catalog breaking strength of Wire Rope. The efficiency of a properly assembled Super Terminator on most high performance, high strength, compacted strand, rotation resistant ropes will achieve 80% of catalog breaking strength of rope, depending on the unique construction of these ropes (To determine the efficiency rating for a specific rope, contact Crosby Engineering at 918-834-4611.).
- During use, do not strike the dead end section or wedge with any other elements of the rigging (Called two blocking).
- The SUPER TERMINATOR wedge socket may also be used with standard 6 to 8 strand and rotation resistant wire rope (special wire rope constructions with 8 or more strands).
- Do not allow direct load to contact the wedge.
WARNING
- Loads may slip or fall if the Wedge Socket is not properly installed.
- A falling load can seriously injure or kill.
- Load misapplied in direct contact with the wedge can dislodge the wedge and cause loss of load.
- Read and understand these instructions before installing the Wedge Socket.
- Do not side load the Wedge Socket.
- Apply recommended torque to tensioner and clip bolts, and properly install wire to securely lock tensioner bolt to tensioner.
- Do not assemble the S-423 Wedge in any brand or model socket basket other than the Crosby S-421T TERMINATOR.
- The size is marked on the socket basket and wedge, do not interchange wedge between sizes.
- The reuse of clips is discouraged. As recommended by Crosby, have qualified personnel inspect product before use.
![]() Tail Length A minimum of 20 rope diameters, but not less than 10” |
![]() ![]() ![]() |
TABLE 1 | ||
| Wedge Size (in) | Tensioner Bolt Torque ft•lbf* | Clip Bolts Torque ft•lbf* |
| 5/8 | 110 | 95 |
| 3/4 | 150 | 130 |
| 7/8 | 380 | 225 |
| 1 | 380 | 225 |
| 1-1/8 | 600 | 225 |
| 1-1/4 | 900 | 360 |
- The tightening torque values shown are based upon the threads being clean, dry, and free of lubrication.
![]() |
![]() |
![]() |

























