Danfoss RT102 Wrap On Thermostat

Thermostats Types RT 101, RT 102


- Max. ambient temperature: 70 °C
- Max. temperature of sensor : 300 °C
INSTALLATION
A set of Pg13.5 cable gland is attached to the RT in a separate bag. To ensure IP66 (units with automatic reset) or IP54 (units with external reset) grade of RT enclosure it is necessary to assemble this gland as shown in the fig. 3. If this gland is not used with a cable, a metal blinding should be also assembled.

SETTING

- A. Range setting
- B. Differential obtained
- C. Differential setting
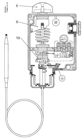
The thermostat should be set according to the function – make or break – to take place on a drop in temperature (range setting). Setting is done by rotating the knob (5), at the same time reading the main scale (9). The differential is set by rotating the differential adjusting nut (19) to the value indicated by the nomogram in Fig. 4. The maximum operating temperature is thus the sum of the temperature setting and the differential.
Example
It is desired to control the temperature of an oil-fired central heating boiler by the use of an RT 101. Maximum temperature: 76 °C Minimum temperature: 70 °C Differential: 76 °C – 70 °C = 6 °C
- Connect the oil burner to terminals 2-1 of the thermostat
- Set the thermostate for 70 °C by rotating the knob (5)
- Set the differential adjusting nut (19) between figures 3 and 4, as indicated by the nomogram in
Danfoss can accept no responsibility for possible errors in catalogues, brochures and other printed material. Danfoss reserves the right to ater its products without notice. This also applies to products already on order provided that such alterations can be made without subsequential changes being necessary in specifications already agreed. All trademarks in this material are property of the respective companies. Danfoss and the Danfoss logotype are trademarks of Danfoss A/S. All rights reserved.




















