Danfoss RT 103 Thermostat Installation Guide
Introduction
Thermostats Types RT 103, RT 140, RT 141
Fig. 1, 2 and 4
Ambient temperature: -50 °C – 70 °C
Maximum sensor temperature:
RT 103: 100 °C
RT 140: 240 °C
RT 141: 250 °C
INSTALLATION
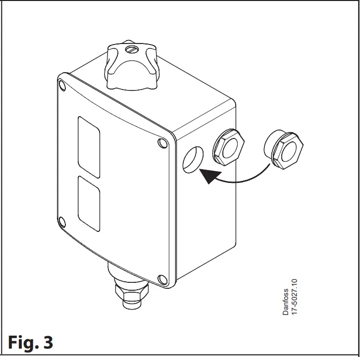
A set of Pg13.5 cable gland is attached to the RT in a separate bag. To ensure IP66 (units with automatic reset) or IP54 (units with external reset) grade of RT enclosure it is necessary to assemble this gland as shown in the fig. 3. If this gland is not used with a cable, a metal blinding should be also assembled.
SETTING
Fig. 4
- Range setting
- Differential obtained
- Differential setting
The thermostat is set by rotating the knob (5), at the same time reading the main scale (9).
The differential is set by rotating the differential adjusting nut (19) to the value indicated by the use of the nomogram in fig. 4. The maximum operating pressure is thus the sum of the setting temperature and the differential.
Example
It is desired to control an air heater by the use of an RT 103.
Maximum discharge temperature: 32 °C
Minimum discharge temperature: 30 °C
Differential: 32°C – 30 °C = 2 °C
- Connect the heater to terminals 1-2 of the thermostat
- Set the thermostat for 30 °C by rotating the knob (5)
- Set the differential adjusting nut (19) at the figure 4 which is found by reading the nomogram for RT 103 in fig. 4.




















