peerless-AV TVFT665 TruVue Universal Flat Tilt Wall Mount

tools
WARNING
This product is designed to be installed on wood stud or solid concrete walls. Hardware is included for wood stud and solid concrete installation. Before installing make sure the supporting surface will support the combined load of the equipment and hardware. Screws must be tightly secured. Do not overtighten screws or damage can occur and product may fail. Never exceed the Maximum Load Capacity. Always use an assistant or mechanical lifting equipment to safely lift and position equipment. This product is intended for indoor use only. Use of this product outdoors could lead to product failure or personal injury. Be careful not to pinch fingers when operating the mount. For support please call customer care at 905-503-7733
Tools Needed for Assembly
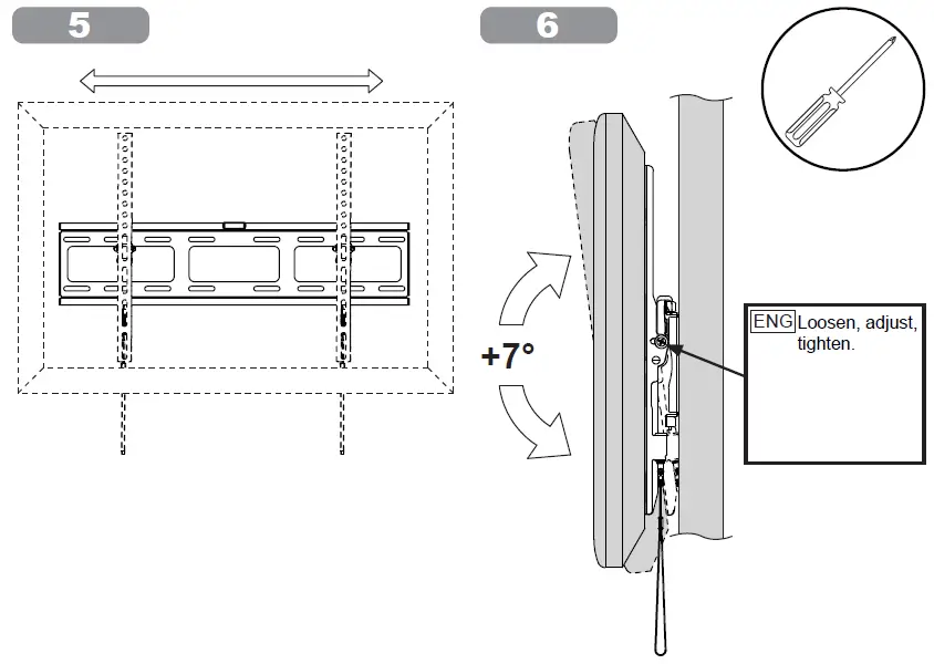
To properly tighten screws: Tighten until screw head makes contact, then tighten another 1/2 turn. Do not overtighten screws

WARNING
When installing Peerless wall mounts on a wood stud wall covered with gypsum board (drywall), verify that the wood studs are a minimum of 2″ x 4″ nominal size. Do not install over gypsum board thicker than 3/8″.




Level wallplate. Mark mounting holes.




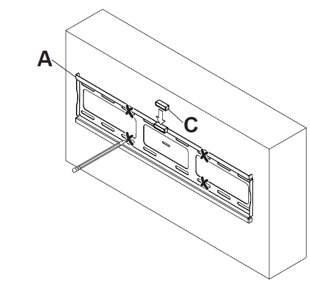
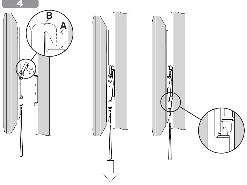
Center adaptor brackets vertically on back of screen.
Use of spacers and washers is optional




Warranty
Peerless-AV Europe
Unit 3 Watford Interchange,
Colonial Way, Watford, Herts,
WD24 4WP, United Kingdom
Customer Care
44 (0) 1923 200 100
www.peerless-av.com




















