EZYmount VP-F80 Flat with Tilt TV Wall Mount

CAUTION: DO NOT EXCEED THE MAXIMUM STATED WEIGHT CAPACITY. SERIOUS INJURY OR PROPERTY DAMAGE MAY OCCUR!

NOTE: Please read the entire instruction manual before you start installation and assembly.
Precautions
- Do not commence installation until you have read and understood the instructions and warnings contained in this installation sheet. If you have any questions regarding any of the instructions or warnings, please contact your place of purchase.
- This mounting bracket was designed to be installed and utilized ONLY as specified in this manual. Improper installation or use of this product may cause damage or serious injury.
- This product should only be installed by someone of good mechanical ability, with basic building experience and full understanding of this manual.
- Make sure that the supporting surface (i.e. wall) will safely support the combined load of this bracket and all attached hardware (1V) and components.
- If mounting to timber wall studs, make sure that the mounting screws are anchored into the center of the studs. Use of a stud finder is highly recommended.
- Always use an assistant or mechanical lifting equipment to safely lift and position equipment.
- Tighten screws firmly, but do not over tighten. Over tightening can cause damage, greatly reducing their holding power.
- This product is intended for indoor use only. Using this product outdoors could lead to product failure and personal injury.
Component Checklist
IMPORTANT
- Ensure that you have received all parts according to the component checklist prior to installation.
- If any parts are missing or faulty, contact your local distributor for a replacement.

Package M

PackageW

Mounting
Mounting on Timber Stud Walls




- 1,2 Find and mark the exact location of mounting holes

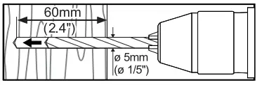
- 3 Drill pilot holes
Warning


- 4 Screw the wall plate onto the wall

WARNING
- Make sure that mounting screws are anchored into the centre of the studs. The use of a stud finder is highly recommended.
- Installers are responsible to provide hardware for other types of mounting situations.
- Installers must verify that the supporting surface will safely support the combined weight of the equipment and all attached hardware and components.
Mounting on Solid Brick and Concrete Block



- Mark the exact location of mounting holes

- Drill pilot holes

- Warning

- Warning
- Screw the wall plate onto the wall
WARNING
- When installing wall mounts on cinder block, verify that you have a minimum of 35mm of actual concrete thickness in the hole to be used for the concrete anchors. Do not drill into mortar joints! Be sure to mount in a solid part of the block, generally 25mm minimum from the side of the block. It is suggested electric drill on slow setting is used to drill the hole instead of a hammer drill to avoid breaking out the back of the hole when entering a void or cavity.
- Installers must verify that the supporting surface will safely support the combined weight of the equipment and all attached hardware and components.
Installing the Vertical Rails

For Flat Back Screens

For Recessed Back Screens or to Access A/V Inputs

Note: Choose the appropriate screws, washers, and spacers (if necessary) according to the type of screen.
- Position the vertical rails as close as possible to the center of the TV.
- Screw the vertical rails onto the TV.
Warning: Tighten all screws but do not over-tighten.
Hanging the TV onto the Wall Plate

- Lift your TV and hook the top hooks over the top of wall plate.
To attach tilt brackets

Hanging the TV onto the Wall Plate

- Attach the tilt brackets to the TV rails using supplied screws and lock nuts.
Important: Make sure the TV is safely secured before releasing it.
Locking the TV Rails
- Insert the locking bar to secure the TV.
- Fit a padlock (not supplied) to prevent unauthorized removal of the TV.
Maintenance
- Check that the bracket is secure and safe to use at regular intervals (at least every three months).
- Please contact your dealer if you have any questions.
Please dispose of this packaging in a responsible manner – recycle cardboard/plastic wherever possible.
















