FEIT ELECTRIC S8.5CWPK Outdoor Commercial Wall Light

Safety Information
READ BEFORE INSTALLATION
- Follow all safeguards stated in the manual, in addition to normal safety precautions in working with electrical devices. /JJways follow basic safety precautions to reduce the risk of fire, electric shock and personal injury.
- WARNING: RISK OF SHOCK: House electric current can cause painful shock or serious injury unless handed properly. For your safety, always remember to:
- Turn OFF the power supply at the fuse or circuit breaker box before you install the fixture.
- Ground the fixture to avoid potential electric shock and to ensure reliable starting.
- Double check all connections to be sure they are tight and correct.
- Wear rubber sole shoes and work on a sturdy ladder.
- This fixture is designed for use in a circuit protected by a fuse or circuit breaker. It is also designed to be installed in accordance with local electrical codes. If you
are unsure about your wiring, consult a qualified electrician or local electrical inspector, and check your local electrical code. - WARNING: RISK OF CUTS: Some metal parts in the fixture may have sharp edges. To prevent cuts and scrapes, wear gloves when handling the parts.
- Account for small parts and destroy packaging material, as these may be hazardous to children.
SAVE THESE INST RUCTIONS
FCC STATEMENT
This device complies with part 15 of the FCC Rules. Operation is subject to the following two conditions:
- This device may not cause harmful interference, and
- this device must accept any interference received, including interference that may cause undesired operation. Note: This
equipment has been tested and found to comply with the limits for a Class B digital device,pursuant to part 15 of the FCC Rules. These limits are designed to provide reasonable protection against harmful interference in a residential installation. This equipment generates, uses and can radiate radio frequency energy and, if not installed and used in accordance with the instructions, may cause harmful interference to radio communications. However, there is no guarantee that interference will not occur in a particular installation. If this equipment does cause harmful interference to radio or television reception, which can be determined by turning the equipment off and on, the user is encouraged to try to correct the interference by one or more of the following measures: Reorient or relocate the receiving antenna. Increase the separation between the equipment and receiver. Connect the equipment into an outlet on a circuit different from that to which the receiver is connected. Consult the dealer or an experienced radio/TV technician for help. Any changes or modifications not expressly approved by the manufacturer could void the user’s authority to operate the equipment. CAN ICES-005 (B)
WARNING: These products may represent a possible shock or fire hazard if improperly installed or attached in any way. Products should be installed in accordance with the owners manual, current electrical codes and/or the current National Electric Code (NEC). Properly ground electrical enclosure. Use only UL or IEC approved wire for input/output connections.
WARNING: Risk of fire. Use only on 120-277 volt 60Hz .. circuits. Suitable for wet locations. Do not use with dimmers. Do not look directly at the operating LED lamp. The luminaire should be grounded. This device is not intended for use with emergency exits or emergency lights.
CAUTION: To avoid risk of fire, explosion, or electrical .. shock, this product should be installed, inspected and maintained by a qualified electrician only, in accordance with all applicable electrical codes. Be certain electrical power is OFF before and during installation and maintenance.
CAUTION: This product must be installed in accordance .. with the applicable installation code by a person familiar with the construction and operation of the product and the hazards involved.
Limited Warranty
This product is warrantied to be free from defects in workmanship and materials for up to 5 years from date of purchase. If the product fails within the warranty period,
please contact Feit Electric at [email protected] or visit feit.com/contact-us for instructions on replacement or refund. REPLACEMENT OR REFUND IS YOUR SOLE REMEDY. EXCEPT TO THE EXTENT PROHIBITED BY APPLICABLE LAW, ANY IMPLIED WARRANTIES ARE LIMITED IN DURATION TO THE DURATION OF THIS WARRANTY. LIABILITY FOR INCIDENTAL OR CONSEQUENTIAL DAMAGES IS HEREBY EXPRESSLY EXCLUDED. Some states and provinces do not allow the exclusion of incidental or consequential damages, so the above limitation or exclusion may not apply to you. This warranty gives you specific legal rights, and you may also have other rights which vary from state to state or province to province.
Pre-Installation

WALL MOUNT INSTALLATION 
FLUSH J-BOX INSTALLATION
- J-Box
- Back Plate
- Front Cover
- Mounting Screws
- Wire Connectors
- Front Cover Screws
- Wall
- Anchors
Wall Mount Installation
- Turn the power OFF at the switch and fusebox or the circuit breaker.
- Open the Wall Light by unscrewing the front cover screws (6) using a phillips screwdriver.

- Remove the front cover (3) from the back plate (2) by disconnecting the quick connect wires and sliding the front cover (3) in an upward direction.

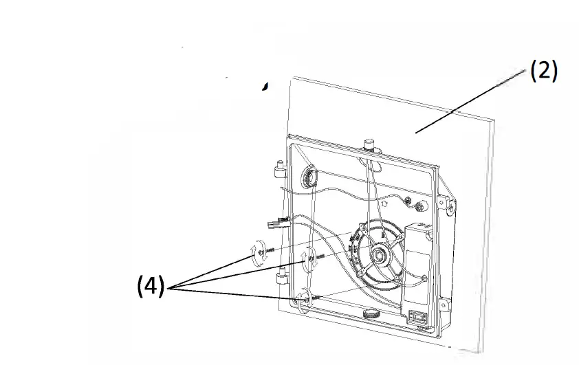
Drill three holes from the inside surface on the back plate (2) using a 1/4 in. drill bit as indicated. Select the desired conduit location and remove the appropriate screw (II).

Using the back plate (2) as a guide, mark the position on the wall where the anchors will be placed.

- Drill the marked holes using a 1/4 in. drill bit, then insert anchors (8).

- Affix back plate (2) to anchors using mounting screws (4)

- Feed thee power supply wires through th? desired. consult melt on the back plate (2). Using wire connectors (5), connect wires coming from the LED driver on the back plate (2) to the power supply wires.

- Re-attach the front cover (3) to the back plate (2) and re-connect the quick release wires. Using a wire connector, connect the green-ground wires from the back plate and front.

- Close the front cover (3) and secure with the front cover screws (6).

- Once the fixture is tightly secured to the wall, apply silicone sealant around the base of the fixture to prevent moisture from reaching the connections.
Flush J-Box Installation
- Turn the power OFF at the switch and fusebox or the circuit breaker.
- Open the Wall Light by unscrewing the front cover screws (6) using a phillips screwdriver.

- Remove the front cover (3) from the back plate (2) by disconnecting the quick connect wires and sliding the front cover (3) in an upward direction.

- Drill two holes using a 1/4 in. drill bit on the universal knockouts on the back plate (2) needed to install on your j-box (1).
- Remove the knock out on the back plate (2) by using a phillips screwdriver.

- Feed the power supply wires through the knockout using the mounting screws (4).

- Using wire connectors (5), connect wires coming from the LED driver on the back plate (2) to the power supply wires.
• Black – Line Voltage
• White – Neutral
- Re-attach the front cover (3) to the back plate (2) and re-connect the quick release wires. Using a wire connector, connect the green-ground wires from the back plate and front cover to the supply ground wire.

- Close the front cover (3) and secure with the front cover screws (6).

- Once the fixture is tightly secured to the j-box, apply to prevent moisture from reaching the connections.




































