FOTILE GAS78307, GAG86309 Built In Gas Cooktop

⚠ WARNING: If the information in this manual isnot followed exactly, a fire or explosion may result causing property damage, personal injury or death.
- Do not store or use gasoline or other flammable vapors and liquids in the vicinity of this or any other appliance.
- WHAT TO DO IF YOU SMELL GAS
- Do not try to light any appliance.
- Do not touch any electrical switch.
- Do not use any phone in your building.
- Immediately call your gas supplier from a neighbor’s phone. Follow the gas supplier’s instructions.
- If you cannot reach your gas supplier, call the fire department.
– Installation and service must be performed by a qualified installer, service agency or the gas supplier.
INSTRUCTIONS FOR THE USER: these provide recommendations for use, a description of the controls and the correct procedures for cleaning and maintaining the appliance
INSTRUCTIONS FOR THE INSTALLER: these are intended for the qualified engineer who install, commission and test the appliance.
WARNING AND SAFETY INSTRUCTIONS
Special version:
Please properly use the appliance, strictly complying with the user manual. FOTI LE company will not bear responsibility for property loss and personal injury due to improper use.
Warning: It may cause people danger, serious injury or fire, if you ignore the following contents and improperly operate.⚠ Strictly Execute
![]() | The gas cooktop can be used only in domesticc kitchen. Please do not install ii in the bath room, bed room , basement or places that are flammable, explosive and corrosive. | |
![]() | uch works as gas cooktop installation, refitting , removal , dismantle, repair should be done installed by authorized instal lers certificated companies and operated by professional people. | |
![]() | Some gas suppliers provide • Gas Usage Safety Manual ” You must ask gas operating agency for” Gas Usage Safety Manual ” , and comply with it. The appliance must be installed in accordance with AS5601 , local gas authority regulations, the gas cooktop will go wrong due to gas pressure abnormity. | |
![]() | To prevent asphyxiation, after installation and before usage, please check you cannot smell gas. Keep the room ventilated when daily use. | |
![]() | If there is gas leak, please turn off the switch knob and appliance isolating gas valve soon, open the window, contact FOTILE service center to repair it. At this time don’t touch the power switch or ignite, and don’t use mobile phone, fixed-line telephone etc, to prevent explosion. | |
![]() | Please don’t let the gas cooktop work at strong win disturbing environment, because it will influence the normal burning, even failed to work. | |
![]() | If there happens burning due to over high oil temperature, please cover the source of fire with large size metal items, like irony pot cover(please don’t use water), and close the general gas valve. | |
![]() | Please don’t go out or go to bed when gas cooktop is working. Please turn off the knobs and general gas valve after usage and repeatedly check whether they are turned off before you sleep or go out. | |
\![]() | Used batteries must be placed into appointed used batteries reclamation bin or recyclable garbage can. | |
![]() | Please keep the product plastic package away from the infants, to avoid suffocation , etc. |
⚠ Forbidden
![]() | Do not modify this appliance. |
![]() | Please confirm the gas type is the same with nameplate indicate before using. It is forbidden to change into other gas type, especially the man-made gas which produces CO. |
![]() | This gas cooktop is for heating cook untensil, don’t use it for drying towels, clothes, etc. Where this appliance is installed in marine craft or in caravans, it shall not be used as a space heater. |
![]() | Please don’t turn on the gas cooktop for heating when there is no pan or there is no food in the pan. It may damage the range hood which is above the stove, even will burn the grease inside of the range hood and cause fire accident. |
![]() | Please don’t touch the cooktop that is off work for a short while, to avoid scalding . |
![]() | Do not use or store flammable materials in the appliance storage drawer or near this appliance. |
![]() | Please don’t place any acidic or alkaline substance on the cooktop(vinegar, lemon juice, etc). |
![]() | Do not place anything , e.g. flame tamer, asbestos mat, between pan and pan support as serious damage to the appliance may result. |
![]() | Do not remove the pan support and enclose the burner with a wok stand as this will concentrate and deflect heat onto the hotplate. |
![]() | Do not use large pots or heavy weights which can bend the pan support or deflect flame onto the hotplate. |
![]() | Locate pan centrally over tahe burner so that it is stable and does not overhang the appliance. |
![]() | Use only a wok support supplied or recommended by the manufacturer of the appliance. |
![]() | Do not spray aerosols in the vicinity of this appliance while it is in operation. |
The glass used in FOTILE products is tempered glass, and the tempering mechanisof glass decides that there is extremely small probability for tempered glas self explosion. Once it happens self explosion do not due to improper use, we promise to replace the tempered glass for free.
USAGE PRECAUTIONS
This manual is an integral part of the appliance. Take good care of it and keep it on hand throughout the hob’s lifecycle. We urge you to read this manual and al l theinformation it contains carefully before using the appliance. The manufacturer declines all liability for uses other than those stated above.
This appliance is not connected to a combustion products exhaust system device. Itshall be installed and connected in accordance with current installationregulations. Particular attention shall be paid to the relevant requirements regarding ventilation. The use of inappropriate hob guards can cause accidents.
Before installation, please ensure that the local distribution conditions (Type of the gas and gas pressure) and the adjustment of the appliance are compatible_The appliance are designed for using LP gas or Nat. gas_ The adjustment conditions for this appliance are stated on the label (or data plate)
Never use this appliance for heating rooms.
Never use packaging residues unattended in the house. Separate the various wastepackaging materials by type and consign them to the nearest separate disposal centre.
This appliance is marked according to the European directive 2002/96/ec on WasteElectrical and Electronic Equipment (WEEE). This guideline is the frame of European-wide validity of return and recycling on waste electrical and electronic equipment.
Never obstruct the openings and slits provided for ventilation and heat dispersal
The nameplate with the technical data, serial number and mark are in a visible position underneath the appliance. The nameplate must never be removed where the data plate cannot be easily seen at installation_ The duplicate data plate must be fitted in a adjacent position where it can be seen by the operator.
Poisoning Hazard. Never use this appliance as a space heater to heat or warm the room. Doing so may result in carbon monoxide poisoning and overheating of the appliance. Failure to follow this advice may result in poisoning or death.
Hot Surface Hazard This appliance becomes hot during use. Do not touch the cooktop components, burners, pan supports or the ceramic glass when hot.
Fire Hazard Never leave the appliance unattended when in use. Boilover causes smoking and greasy spillovers that may ignite. Failure to follow this advice may result in serious injury.
Explosion Hazard Do not use cooktop where flammable materials such as gasoline near this appliance. Do not spray aerosols in the vicinity of this appliance while it is in operation . Failure to follow this advice may result in death or serious injury.
The appliance is intended for use by adults_ Keep children at a safe distance and never allow them to play with it.
Always check that the control knobs are turned off after each use.
The manufacturer declines all responsibility for injury or damage caused by failure to comply with the above regulations or deriving from tampering with even just one part of the appliance and the use of non-original spare parts.
PACKAGE DISPOSAL INSTRUCTIONS – ENVIRONMENT POLICY
Our products are only packaged using non-pollutant, environment-friendly, recyclable materials.We urge you to cooperate by disposing of the packaging properly_ Contact your local dealer or the competent local organizations for the addresses of collection , recycling and disposal facilities. Never leave all or part of the packaging lying around . Packaging parts, and especially plastic bags, may represent a suffocation hazard for children.Your old appliance must also be disposed of properly. Important: deliver the appliance to your local organization authorized to collect scrapped appliances. Proper disposal allows the intelligent recovery of valuable materials.
Never leave packaging residues unattended in the house. Separate waste packaging materials by type and consign them to the nearest separate disposal centre.
The inside of the appliance should be cleaned to remove all manufacturing residues_ For further information, see point “CLEANING AND MAINTENANCE”.
PACKING LIST
Please pay attention to the amount of accessories, and make sure there is no scarcity or shatters
(1) Please contact with the dealer when our company or the dealer is responsible for the above carelessness.
(2) Please contact the nearest service center engaged by special arrangement if the user should undertake the responsibility.
![]() | Complete Appliance | 1 | ![]() | D battery (suggest alkaline battery) | 4 |
![]() | User Manual with Warranty Card | 2 | ![]() | Connector with Seal ring | 5 |
![]() | Pressure regulator | 3 |
INSTRUCTIONS FOR THE INSTALLER
The minimum distances given in these Installation instructions are to combustible surfaces, and must be observed to ensure safe operation. Failure to do so increases the risk of fire. The cabinetry and venting hood should be installed first to prevent damage to the cook top
The following operation requires building and/or carpentry work, so it must be carried out by a qualified person Installation can be carried out with various materials such as masonry,metal ,solid wood or plastic laminated wood,as long as they are heat-resistant (T90°C)
Safety distances above the Appliance
The minimum safety distance given by the hood manufacturer must be maintained between the cook top and the hood above it. See the installation instructions of the hood for these safety measurements. If the hood manufacturer’s instructions are not available or if flammable objects are installed over the cook top (e.g . cabinets, utensil rail , etc.), a minimum safety distance of 30″ (760 mm) must be maintained. ( figure 1)
Minimum vertical clearances of 18 inches from top surface unit to side cabinets [A]. Minimum horizontal distance(s) from sides and back of appliance to adjacent vertical combustible walls extending above the top panel, 6 inches from the left side[B’1, 6 inches from right side[B], 2 inches from rear wall [C]. Minimum clearance to combustible construction centered above cooking surface: vertical 30 inches[D], horizontal 30 inches[E]. The unit overhead cabinet maximum depth: 13 inches [F]. Minimum horizontal distance from front edge of counter to front side of appliance, 1 inches [G]. If there are several appliances beneath a hood, and they have different minimum safety distances always observe the greatest distance.
Installation dimensions
Create an opening with the dimensions shown as figure 2 . Place the hob in the cut out, and then make a hole with dimensions 150mm”‘150mm under the cooktop and on the side of the kitchen cupboard in order to meet air supply.
| A | B | C | D | E | |
| GAG86309 | 33.86 | 19 .69 | 4.92 | 32.13 | 18.11 |
| GAS78307 | 30.7 | 17 .72 | 6.14 | 27.87 | 15.28 |
Electrical connection
- This appliance uses a DC1 .5V (D SIZE) battery power supply.
- Install the battery ( figure 3 )
Open the battery box at the bottom of the appliance, the cathode connect the spring end A and press the spring; theanode connect the end B of the battery box, make sure that the battery is put in the right direction and then close the battery box.
Gas connection
Installation and service must be performed by a qualified installer, service agency or gas supplier. In Massachusetts installation must be performed by a licensed plumber/ gas fitter. This appliance must be installed with a shut off valve and the included gas pressure regulator. Both the valve and the regulator must be easily accessible to the consumer to turn on or shut off the gas supply after the appliance is installed.
This appliance and its individual shut off valve must be disconnected from the gas supply during any pressure testing of that system performed in excess of ½ psi . The appliance must be isolated from the gas supply line by closing its individual manual shut off valve at test pressures equal to or less than ½ psi.
Any pipe connections must be made using a thread sealant approved for gas connections. Failure to correctly install these items could lead to a gas leak and subsequent explosion. Leak testing of the appliance shall be conducted according to the manufacturer’s instructions.
The gas connection must be made in accordance with local codes or , in the absence of local codes, with the National Fuel Gas Code, ANSI Z 21 .1 / NFPA 54 for the USA or the current Can I CGA B 149.1 and .2 Installation Codes for gas bu ming appliances for Canada. Make sure that the maximum gas supply pressure before the gas pressure regulator is nevermore than½ psi for both natural gas and LP gas. The minimum required gas supply pressure to get the required gas inputs 4″ W.C. for natural gas 10″ W.C. for LP gas.
Gas pressure regulator
he pressure regulator is already settle for using natural gas or LP gas.The adjusted pressure is: natural gas 4″ W.C. LP gas 1 O” W.C. As shown in figure 4 the included regulator must be used when connecting the FOTILEappliance to your gas supply. This item has been customized by FOTILE to meet all applicable safety requirements. Make sure the regulator is easily accessible for adjustment after the appliance has been installed.
After connecting the appliance check all fittings for gas leaks e.g. with soapy water.
When installed properly, the flame will be steady and quiet. It will also have a sharp, blue inner core that will vary in length proportional to the burner size. Flame adjustment will not be necessary.
Install the flame spread cap
Figure 5 shows the large burner and Figure 6 shows the small burner.
To fix the burner, please do as below: Point the locating pin Ato the locating hole D and point the locating pin B to the locating hole C. If there’s a small burner, put the part E to the part F. Please make sure the fire caps are placed right and they can’t be turned to the left or right side.
Check that all the burners are operating correctly .Theflame must not go out on the lowest setting, or when the control is turned quickly from a high to a low setting. On the highest setting, the flame must have a distinctive and visible core.
INSTRUCIONS FOR THE USER
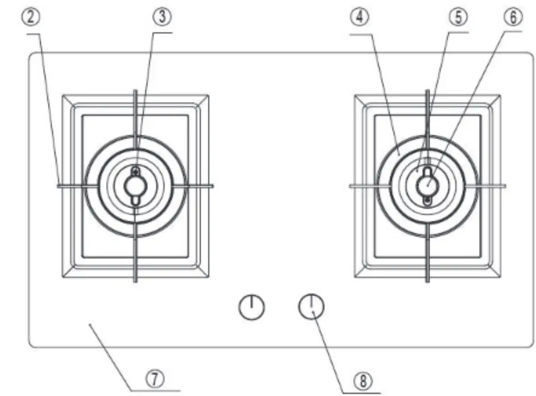
- About your new cooktop
The control knobs can be removed for cleaning by just pulling. - Safety feature: flame failure device
Your cooktop is equipped with flame failure device: the gas supply will automatically be cut off to a burner that is accidentally blown out by a draught or extinguished by a spill. - Specifications and structure




- Battery box
- Pan support
- gnition pin
- External Flame Cap
- Thermocouple
- nternal Flame Cap
- Panel
- Knob

| Burner | Minimum | Minimum |
| Small | N/A | 20cm |
| Large | N/A | 27cm |
CLEANING AND MAINTENANCE
Notice
![]() | ![]() | ![]() |
| Before cleaning and maintain-ing the stove, switch off the general gas valve and wait for it cooling down thoroughly. | When you maintain the follow ing, make sure not disassem bly the safety device or gas dud parts. | Please contact FOTILE service center if there is abnormity. |
Check
![]() | Please don’t stack the inflammable around the gas stove. | ![]() | Never let the spilth block the burner. Make sure there isno food residua , foreign matter and water touch theignition and thermocouple head. |
![]() | Burners, flame caps and pan supports shall be correctly positioned . | ![]() | The flame should not be irregular. |
In case of hotplate glass breakage, shut immediately off all burners and any electrical heating element and isolate the appliance from the power supply. Do not touch the appliance surface. Do not use th appliance.
Please don’t wipe the stainless steel panel with sharp material like steel wire ball, etc. It wi ll greatly shorten the cooktop lifespan.
Maintenance
![]() | ![]() |
| 1.Before cleaning, please take remove pan supports and flame caps. | 2. Movable parts of burner like copper flam cap must be washed with warm water and neutral cleanser freguently. Remove the nugget and dry it, then use the stove. |
![]() | ![]() |
| Please use neutral cleanser which is without corrosiveness, to clean the stainless steel panel and burner_ Never use chlorine-base cleanser to clean glass. | 4.Make sure that there is no carbon in the firehole, and no jam. |
![]() | ![]() |
| S_Please don’t use such aculeated articles as graininess abluent (putty-powder), clean ball, knife, etc. to clean the residualstubborn besmirch in the burners_Otherwise, it will make the kitchen countertop go wrong or fray theassembly surface, then influence cooktop lifespan. | 6Afler cleaning, dry them well and install them correctly. |
TROUBLESHOOTING
Troubleshooting for gas burner Servicing/ repairs must only be carried out by an authorized person
| Problems | The cause of problem | Settlements for the problems |
| It won’t fire | It is forgotten to open the general gas valve | Firstly tum off the knob, and then open the general gas valve |
| Air is mixed into the gas pipe | Ignite repeatedly until the air is absolutely discharged | |
| The rubber tube bends or flattens | Unfold or change the rubber tube | |
| Ignition device and insulation point is dirty and damp | Clean it with a dried cloth | |
| Safety valve doesn’t open | Press and turn the knob to intense fire. make sure the hob is fired and keep on pressing for 3 to 4 seconds | |
| The batte,y is out of use; the batte,y doesn’t touch well; or the battery is up side down | Change the battery or refix the battery | |
| There’s problem with the ignition device or the ignition pin is not in the right position | Ask the professional maintenance man for maintaining | |
| There is a warning tone when ignition | The battery is low thee rubber tube cracks o, b,eaks | Change the battery Change the rubber tube by authorised person |
| Gas leak | The rubber tube joint doesn’t connect well with rubber tube or other tube | Replace hose |
| Unstable flame | Whether the LPG is used up | Change into a new bottle of LPG |
| Soft and yellow flame | The throttle is not properly adjusted, and the air is insufficient | Gradually enlarge the throttle until the flame turns normal blue |
| The flame escapes from the dire hole or flameout is with fulmination | The throttle is not proper1y adjusted, and the air is insufficient | |
| Few flames | Inector stopcock is jammed | |
| The flame isn’t in unifom, length and the flame is yellow | Fire lid is not proper1y covered, and there’ s charcoal or other dirt stuffing the fire hole | Make sure that the fire lid is on the right position ; get rid of the dirt in the fire hole |
| The flame accidentally goes red | lunder a certain climate, the gas is with much humidity
| The flame turns red because there’s calcium in water, so don’t worry about it |
WIRING DIAGRAM

Every effort has been made to ensure that the information given in this manual is correct at the time of printing. However,due to the contiuous product improvement,FOTILE reserves the right to make changes to the products and technical data without prior notice.
Manufactory: Ningbo Fotile Kitchenware Co.,Ltd.
No.218 Binhai 2 Road,Hangzhou Bay Nay New Distrct,Cixi,Zhejiang,China
Fotile Canada
+1 844-315-0315
8365 Woodbine ave, Unit 113
Markham, ON, L3R 2P4
ca.fotileglobal.com
[email protected]



























































