USER’S HANDBOOK
Please read this instruction manual carefully before using
BUILT-IN GAS COOKTOP
GAS78307 /GAG86309 /GAG76202
WARNING:
Never Operate the Top Surface Cooking Section of this Appliance Unattended
- Failure to follow this warning statement could result in fire, explosion, or burn hazards that could cause property damage, personal injury, or death. \If a fire should occur, keep away from the appliance and immediately call you to fire department.
DO NOT ATTEMPT TO EXTINGUISH AN OIL GREASE FIRE WITH WATER.
WARNING: If the information in this manual is not followed exactly, a fire or explosion may result causing property damage, personal injury, or death.
- Do not store or use gasoline or other flammable vapors and liquids in the vicinity of this or any other appliance.
- What to do if you smell gas
- Do not try to light any appliance.
- Do not touch any electrical switch.
- Do not use any phone in your building.
- Immediately call your gas supplier from a neighbor’s phone. Follow the gas supplier’s instructions.
- If you cannot reach your gas supplier, call the fire department. – Installation and service must be performed by a qualified installer, service agency or gas supplier.
INSTRUCTIONS FOR THE USER: these provide recommendations for use, a description of the controls, and the correct procedures for cleaning and maintaining the appliance
INSTRUCTIONS FOR THE INSTALLER: these are intended for the qualified engineer who installs, commission, and test the appliance
WARNING AND SAFETY INSTRUCTIONS
Special version: Please properly use the appliance, strictly complying with the user manual. FOTILE company will not bear responsibility for property loss and personal injury due to improper use. &Warning: It may cause people in danger, serious injury, or fire if you ignore the following contents and improperly operate.
Strictly Execute
| The gas cooktop can be used only in a domestic kitchen. Please do not install it in the bathroom, bedroom, basement, or places that are flammable, explosive, and corrosive. | |
| Such works as gas cooktop installation, refitting, removal, dismantling, and repair should be installed by authorized installers certificated companies and operated by professional people. | |
| Some gas suppliers provide a ” Gas Usage Safety Manual – You must ask the gas operating agency for a” Gas Usage Safety Manual ” . and comply with it. The appliance must be installed in accordance with AS5601, local gas authority regulations, the gas cooktop will go wrong due to gas pressure abnormity. | |
| To prevent asphyxiation, after installation and before usage, please check you cannot smell gas Keep the room ventilated when daily use. | |
| If there is a gas leak, please turn off the switch knob and appliance isolating gas valve soon, open the window, and contact the FOTILE service center to repair it. At this time, don’t touch the power switch or ignite it. and don’t use a mobile phone, fixed-line telephone, etc, to prevent an explosion. | |
| Please don’t let the gas cooktop work a strong wind disturbing environment, because it will influence the normal burning, even failed to work. |
| If there happens burning due to over-high oil temperature, please cover the source of fire with large size metal items, like an irony pot cover(please don’t use water), and close the general gas valve. | |
| Please don’t go out or go to bed when the gas cooktop is working. Please turn off the knobs and general gas valve after usage and repeatedly check whether they are turned off before you sleep or go out. | |
| Used batteries must be placed into an appointed used batteries reclamation bin or recyclable garbage can. | |
| Please keep the product plastic package away from the infants, to avoid suffocation, etc. |
Forbidden
| Do not modify this appliance. | |
| Please confirm the gas type is the same as the nameplate indicate before using. It is forbidden to change into another gas type, especially the man-made gas which produces CO. | |
| This gas cooktop is for heating cook utensils, don’t use it for drying towels, clothes, etc. Where this appliance is installed in marine craft or in caravans, it shall not be used as a space heater. | |
| Please don’t turn on the gas cooktop for heating when there is no pan or there is no food in the pan. It may damage the range hood which is above the stove, even will burn the grease inside of the range hood and cause fire accident. | |
| Please don’t touch the cooktop that is off work for a short while, to avoid scalding. | |
| Do not use or store flammable materials in the appliance storage drawer or near this appliance. |
| Please don’t place any acidic or alkaline substance on the cooktop(vinegar, lemon juice, etc). | |
| Do not place anything, e.g. flame tamer, or asbestos mat, between pan and pan support as serious damage to the appliance may result. | |
| Do not remove the pan support and enclose the bumper with a wok stand as this will concentrate and deflect heat onto the hotplate. | |
| Do not use large pots or heavy weights which can bend the pan support or deflect flame onto the hotplate. | |
| Locate the pan centrally over the burner so that it is stable and does not overhang the appliance. | |
| Use only one wok support supplied or recommended by the manufacturer of the appliance. | |
![]() | Do not spray aerosols in the vicinity of this appliance while it is in operation. |
The glass used in FOTILE products is tempered glass, and the tempering mechanism of glass decides that there is an extremely small probability for tempered glass self explosion. Once it happens self explosion do not due to improper use, we promise to replace the tempered glass for free.
USAGE PRECAUTIONS
This manual is an integral part of the appliance. Take good care of it and keep it on hand throughout the hob’s lifecycle.
We urge you to read this manual and all the information it contains carefully before using the appliance.
The manufacturer declines all liability for uses other than those stated above.
This appliance is not connected to a combustion products exhaust system device. It shall be installed and connected in accordance with current installation regulations. Particular attention shall be paid to the relevant requirements regarding ventilation. The use of inappropriate hob guards can cause accidents.
Before installation, please ensure that the local distribution conditions (Type of the gas and gas pressure) and the adjustment of the appliance are compatible.
The appliance is designed for using LP gas or Nat. gas.
The adjustment conditions for this appliance are stated on the label (or data plate)
Never use this appliance for heating rooms.
Never use packaging residues unattended in the house. Separate the various waste packaging materials by type and consign them to the nearest separate disposal center.
This appliance is marked according to the European directive 2002/96/ec on Waste Electrical and Electronic Equipment (WEEE). This guideline is the frame of European-wide validity of retum and recycling on waste electrical and electronic equipment.
Never obstruct the openings and slits provided for ventilation and heat dispersal.
The nameplate with the technical data, serial number, and mark are in a visible position underneath the appliance. The nameplate must never be removed where the data plate cannot be easily seen at installation. The duplicate data plate must be fitted in an adjacent position where it can be seen by the operator.
Poisoning Hazard. Never use this appliance as a space heater to heat or warm the room. Doing so may result in carbon monoxide poisoning and overheating of the appliance. Failure to follow this advice may result in poisoning or death.
Hot Surface Hazard This appliance becomes hot during use Do not touch the cooktop components, burners, pan supports or the ceramic glass when hot.
Fire Hazard Never leave the appliance unattended when in use. Boilover causes smoking and greasy spillovers that may ignite.
Failure to follow this advice may result in serious injury.
Explosion Hazard
Do not use a cooktop where flammable materials such as gasoline near this appliance.
Do not spray aerosols in the vicinity of this appliance while it is in operation.
Failure to follow this advice may result in death or serious injury.
The appliance is intended for use by adults. Keep children at a safe distance and never allow them to play with it.
Always check that the control knobs are turned off after each use.
The manufacturer declines all responsibility for injury or damage caused by failure to comply with the above regulations or deriving from tampering with even just one part of the appliance and the use of non-original spare parts.
PACKAGE DISPOSAL INSTRUCTIONS – ENVIRONMENT POLICY
Our products are only packaged using non-pollutant, environment-friendly, recyclable materials. We urge you to cooperate by disposing of the packaging properly. Contact your local dealer or the competent local organizations for the addresses of collection, recycling and disposal facilities. Never leave all or part of the packaging lying around. Packaging parts, and especially plastic bags, may represent a suffocation hazard for children. Your old appliance must also be disposed of properly. Important: deliver the appliance to your local organization authorized to collect scrapped appliances. Proper disposal allows the intelligent recovery of valuable materials.
Never leave packaging residues unattended in the house. Separate waste packaging materials by type and consign them to the nearest separate disposal center.
The inside of the appliance should be cleaned to remove all manufacturing residues. For further information, see point “CLEANING AND MAINTENANCE”.
PACKING LIST
Please pay attention to the number of accessories, and make sure there is no scarcity or shatters
- Please contact with the dealer when our company or the dealer is responsible for the above carelessness.
- Please contact the nearest service center engaged by special arrangements if the user should undertake the responsibility.
| Complete Appliance | 1 | D battery(suggest alkaline battery) | 1 | ||
| User Manual Warranty Card | 1 | Connector with Seal ring | 1 | ||
| Pressure regulator | 1 |
INSTRUCTIONS FOR THE INSTALLER
The minimum distances given in these Installation instructions are to combustible surfaces and must be observed to ensure safe operation. Failure to do so increases the risk of fire. The cabinetry and venting hood should be installed first to prevent damage to the cooktop.
The following operation requires building and/or carpentry work, so it must be carried out by a qualified person.
Installation can be carried out with various materials such as masonry, metal, solid wood, or plastic laminated wood, as long as they are heat-resistant (T90°C )
Safety distances above the Appliance
The minimum safety distance given by the hood manufacturer must be maintained between the cooktop and the hood above it. See the installation instructions of the hood for these safety measurements. If the hood manufacturer’s instructions are not available or if flammable objects are installed over the cooktop (e.g. cabinets, utensil rail, etc.), a minimum safety distance of 30″ (760 mm) must be maintained. (figure 1)
Minimum vertical clearances of 18 inches from top surface unit to side cabinets [A]. The minimum horizontal distance(s) from the sides and back of the appliance to adjacent vertical combustible walls extending above the top panel, is 6 inches from the left side[B1, 6 inches from the right side[BJ, 2 inches from the rear wall [C]. Minimum clearance to combustible construction centered above the cooking surface: vertical 30 inches[D], horizontal 30 inchesIE]. The unit overhead cabinet maximum depth: 13 inches [F]. The minimum horizontal distance from the front edge of the counter to the front side of the appliance is 1 inch [G].
If there are several appliances beneath a hood, and they have different minimum safety distances always observe the largest distance.
Installation dimensions
Create an opening with the dimensions shown in figure 2. Place the hob in the cutout, and then make a hole with dimensions 150mme150mm under the cooktop and on the side of the kitchen cupboard in order to meet the air supply.
| A | B | C | D | E | |
| GAG86309 | 33 7/a | 19 11/18 | 4 15/18 | 32 3/1e | 181/8 |
| GAS78307 | 30 3/4 | 17 3/4 | 6 3/18 | 27 7/a | 15 5/18 |
| GAG76202 | 29 15/1e | 17 9/16 | 6 3/16 | 27 7/8 | 15 5/16 |
unit: inch
Electrical connection
- This appliance uses a DC1.5V (D SIZE) battery power supply.
- Install the battery ( figure 3 ) Open the battery box at the bottom of the appliance, the cathode connects the spring end A and press the spring; the anode connects the end B of the battery box, make sure that the battery is put in the right direction and then close the battery box.

Gas connection
Installation and service must be performed by a qualified installer, service agency, or gas supplier. In Massachusetts installation must be performed by a licensed plumber/gas fitter. This appliance must be installed with a shut-off valve and the included gas pressure regulator. Both the valve and the regulator must be easily accessible to the consumer to turn on or shut off the gas supply after the appliance is installed.
This appliance and its individual shut-off valve must be disconnected from the gas supply during any pressure testing of that system performed in excess of ‘A psi. The appliance must be isolated from the gas supply line by dosing its individual manual shut-off valve at test pressures equal to or less than 1/2 psi.
Any pipe connections must be made using a thread sealant approved for gas connections. Failure to correctly install these items could lead to a gas leak and subsequent explosion. Leak testing of the appliance shall be conducted according to the manufacturer’s instructions.
The gas connection must be made in accordance with local codes or, in the absence of local codes, with the National Fuel Gas Code, ANSI Z 21.1 / NFPA 54 for the USA or the current Can / CGAB 149.1 and .2 Installation Codes for gas burning appliances for Canada.
Make sure that the maximum gas supply pressure before the gas pressure regulator is never more than/ psi for both natural gas and LP gas. The minimum required gas supply pressure to get the required gas inputs is 4″ W.C. for natural gas and 10″ W.C. for LP gas.
Gas pressure regulator
The pressure regulator is already settled for using natural gas or LP gas. The adjusted pressure is: natural gas 4″ W.C. LP gas 10″ W.C.
As shown in figure 4 the included regulator must be used when connecting the FOTILE appliance to your gas supply. This item has been customized by FOTILE to meet all applicable safety requirements. Make sure the regulator is easily accessible for adjustment after the appliance has been installed.
After connecting the appliance check all fittings for gas leaks e.g. with soapy water.
When installed properly, the flame will be steady and quiet. It will also have a sharp, blue inner core that will vary in length proportional to the burner size. Flame adjustment will not be necessary.
Install the flame spread cap
Figure 5 shows the large burner and Figure 6 shows the small burner.
To fix the burner, please do as below: Point the locating pin A to the locating hole D and point the locating pin B to the locating hole C. If there’s a small burner, put part E to part F. Please make sure the fire caps are placed right and they can’t be turned to the left or right side.
Check that all the burners are operating correctly. The flame must not go out on the lowest setting, or when the control is turned quickly from a high to a low setting. On the highest setting, the flame must have a distinctive and visible core.
INSTRUCTIONS FOR THE USER
■ About your new cooktop The control knobs can be removed for cleaning by just pulling.
■ Safety feature: flame failure device Your cooktop is equipped with a flame failure device: the gas supply will automatically be cut off to a bumper that is accidentally blown out by a draught or extinguished by a spill.
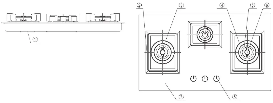
■ Specifications and structure
- Battery box
- Pan support
- Ignition pin
- External Flame Cap
- Thermocouple
- Internal Flame Cap
- Panel
- Knob
Attention
The pan support of GAS78307 should be placed as follows (Do not put it wrong)
a Be careful the pot (pan) is too heat to cause fire when cooking with vegetable oil and animal fat oil. When cooking with such kind of oil, please don’t leave it alone after you put the food into the pot (pan).
b.The stove will heat when using, please keep it off heating items. Such metal objects as knives, forks, spoons,s, and covers, should not be placed on the stove to prevent heat conduction.
Burner and nozzle date table
| Gas type | Model | Heat input (BUT/HR) | Nozzle diameter(mm) | |||||
| Left | Middle | Right | Total | Left | Middle | Right | ||
| Nat. Gas 4″ W.C. | GAG86309 | 14800 | 5800 | 14800 | 35400 | 1.20’280.85 | 0.66 | 1.20″280.85 |
| GAS78307 | 14800 | 5800 | 14800 | 35400 | 1.20’280.85 | 0.66 | 1.20*280.85 | |
| GAG76202 | 14800 | / | 14800 | 29600 | 1.20’28%0.85 | / | 1.20’2&0.85 | |
| LP gas 10 W.C. | GAG86309 | 13000 | 5000 | 13000 | 31000 | 0.661’280.55 | 0.66 | 0.66`2&0.55 |
| GAS78307 | 13000 | 5000 | 13000 | 31000 | 0.66’28,0.55 | 0.66 | 0.66.280.55 | |
| GAG76202 | 13000 | / | 13000 | 29600 | 0.66’28,0.55 | / | 0.66’280.55 | |
Using the gas hob
The bumper it controls is shown next to each knob. The appliance is equipped with an electronic ignition device. Simply press the knob and turn it anti-clockwise to the maximum flame symbol (2), until the burner lights. If it does not light within the first 15 seconds, to turn the knob off (1) and wait at least 60 seconds before trying to light the burner again.
On models equipped with valves, once the burner is ignited, to keep the knob pressed down for a few seconds to allow the thermocouple to heat up. The burner may go out when the knob is released: in this case, the thermocouple has not heated up sufficiently. To wait a few moments and repeat the operation, and to keep the knob pressed down for longer. Once the burner has been ignited, the flame can be regulated as required (3. 4 . 5). After each use of the hob, always check that the control knobs are turned off (1).
If the flame goes out accidentally a safety device will be tripped about 20 seconds later, and cut off the gas supply even if the gas tap is open. In this case, to turn the knob back to the off position and wait at least 60 seconds before trying to relight the burner.
Selection of pans
Please choose the proper pan, and you will enjoy a better cooking experience.
- Please make sure the diameter of the pan used is equal to or more than the cooking area.
- To avoid rubbing the surface, use a clean and bottom-slick pan.
- To get the best cooking results, the bottom of the porcelain enamel steel pan shall be 2-3mm thick, the bottom of the stainless steel-filled pan shall be 4-6mm thick.

| Burner | Minimum | MAXIMUM |
| Small | N/A | 20cm |
| Large | N/A | 27cm |
The use of a gas cooking appliance results in the production of heat, moisture and products of combustion in the room in which it is installed. Ensure that the kitchen is well ventilated especially when the appliance is in use: keep natural ventilation holes open or install a mechanical ventilation device (mechanical extractor hood). Prolonged intensive use of the appliance may call for additional ventilation, for example, opening of a window, or more effective ventilation, for example increasing the level of mechanical ventilation where present
CLEANING AND MAINTENANCE
Notice
| Before cleaning and maintaining the stove, switch off the general gas valve and wait for it to cool down thoroughly. | Then you maintain the following make sure not to disassemble the safety device or gas dud parts. | Please contact the FOTILE service center if there is an abnormity. |
Check
In case of hotplate glass breakage, shut immediately off all burners and any electrical heating element and isolate the appliance from the power supply. Do not touch the appliance surface. Do not use the appliance.
Please don’t wipe the stainless steel panel with sharp material like steel wire ball. etc. It will greatly shorten the cooktop’s lifespan.
Maintenance
- Before cleaning, please take remove pan supports and flame caps.

- Movable parts of a bummer like copper flame cap must be washed with warm water and a neutral cleanser frequently. Remove the nugget and dry it, then use the stove.

- Please use a neutral cleanser that is without corrosiveness, to clean the stainless steel panel and burner. Never use chlorine-based cleaner to clean glass.

- Make sure that there is no carbon in the Firehole and no jam.

- Please don’t use such aculeated articles as graininess abluent (putty-powder), clean ball, knife, etc. to clean the residual stubborn besmirch in the burners. Otherwise, it will make the kitchen countertop go wrong or fray the assembly surface, then influence the cooktop lifespan.

- After cleaning, dry them well and install them correctly.
![]()
TROUBLESHOOTING
Troubleshooting for gas burner Servicing/repairs must only be carried out by an authorized person
| Problems | The cause of the problem | Settlements for the problems |
| It won’t fire | It is forgotten to open the general gas valve | Firstly turn off the knob, and then open the general gas valve |
| Air is mixed into the gas pipe | Ignite repeatedly until the air is absolutely discharged | |
| The rubber tube bends or flattens | Unfold or change the rubber tube | |
| The ignition device and insulation point is dirty and damp | Clean it with a dried cloth | |
| The safety valve doesn’t open | Press and turn the knob to intense fire, make sure the hob is fired, and keep on pressing for 3 to 4 seconds | |
| The battery is out of use; the battery doesn’t touch well, or the battery is upside down | Change the battery or refix the battery | |
| There’s a problem with the ignition device or the ignition pin is not in the right position | Ask the professional maintenance man for maintaining | |
| There is a warning tone when ignited | The battery is low | Change the battery |
| Gas leakage | The rubber tube cracks or breaks | Change the rubber tube by the authorized person |
| The rubber tube joint doesn’t connect well with the rubber tube or another tube | Replace hose | |
| Unstable flame | Whether the LPG is used up | Change into a new bottle of LPG |
| Soft and yellow flame | The throttle is not properly adjusted, and the air is insufficient | Gradually enlarge the throttle until the flame turns normal blue |
| The flame escapes from the dire hole or flameout is with fulmination | The throttle is not properly adjusted, and the air is insufficient | Gradually enlarge the throttle until the flame turns normal blue |
| Few flames | The injector or stopcock is jammed | |
| The flame isn’t in uniform length and the flame is yellow | The fire lid is not properly covered, and there’s charcoal or other dirt stuffing the fire hole | Make sure that the fire lid is on the right position; get rid of the dirt in the fire hole |
| The flame accidentally goes red | Under a certain climate, the gas is with much humidity | The flame turns red because there’s calcium in the water, so don’t worry about it |
WIRING DIAGRAM

WARRANTY CARD
Warning: Do not modify this appliance.
| Name | Date of purchase | Serial NO. of the Invoice | |||||
| Address (post code) | Tel | ||||||
| Type of product | Serial NO. of the appliance | ||||||
| Repair Record(for repairer) | |||||||
| Content | Date | ||||||
Every effort has been made to ensure that the information given in this manual is correct at the time of printing. However, due to the continuous product improvement, FOTILE reserves the right to make changes to the products and technical data without prior notice.
Ningbo Fotile Kitchenware Co., Ltd.
No.218 Binhai 2 Road, Hangzhou Bay New District, Cixi, Zhejiang, China
Tel: 0086-574-23456666
WWW.FOTILEGLOBAL.COM
E-mail:oyerseas©fotile.corn
110200130324C/20191105


















