2MX1M Pro Stage Platform
User Guide
Warnings
- Read and ensure that you fully understand the assembly guide before commencing assembly.
- Wear suitable PPE such as safety shoes, hard hat, gloves etc. when assembling the stage.
- Assembly and maintenance should be carried out by qualified personnel.
- Some components are heavy. Use the appropriate number of personnel and/or lifting equipment when handling heavy items.
- Thoroughly inspect each component before assembly to check for damage, wear etc. Do not attempt to use any damaged or worn components.
- Thoroughly inspect the assembled stage before each use, to ensure that all fixing are fully tightened and there is no damage to any part of the assembly.
- Ensure that the stage surface is completely flat and level before use.
- Ensure that the configuration is designed and assembled in accordance with it’s intended use and with local regulations.
- Site the stage on firm level ground.
- Familiarise yourself with the load limits of the product and ensure that these limits are not exceeded.
- Be aware that the surface of the stage may be slippery when wet.
- Do not mix components from different stage systems or brands.
Contents Checklist
![]() | ||
| PRO STAGE PLATFORM 2MX1M OR 1MX1M | STAGE HANDRAIL 2M OR 1M | STAGE STEPS 40CM OR 60CM |
![]() | ||
| STAGE LEGS 60CM OR 40CM, 4 PACK | STAGE HANDRAIL HOLDER | STAGE PLATFORM LEVELER |
![]() | ||
| STAGE HANDRAIL CLAMP | STAGE PLATFORM CLAMP | STAGE PLEATED CURTAIN 250X60 OR 104X60 OR 205X40 OR 105X40 |
Tools Required
ALLEN KEY, SIZE 3 – STAGE PLATFORM LEVELER
ALLEN KEY, SIZE 6 – STAGE STEPS
ALLEN KEY, SIZE 8 – STAGE HANDRAIL HOLDER
Construction
![]() | |
| Insert the four legs into each corner of the Pro Stage Platform and turn each bolt clockwise to secure. Repeat for all Pro Stage Platforms ensuring that all legs are securely attached. | Two persons are required to turn the staging upright. Never manoeuvre stage platforms alone. |
![]() | |
| Slide a Stage Platform Leveler into the mounting rail of one of the Pro Stage Platforms, midway along the edge you wish to connect. Tighten it with a size 3 allen key. This will ensure that your Pro Stage Platforms stay in alignment with each other. Push the two Pro Stage Platforms together. | Use 2 x Stage Platform Clamps to attach the two Pro Stage Platforms. Turn the bolt on each Stage Platform Clamp clockwise to ensure the Pro Stage Platforms are securely joined. |
Attaching Handrails
STEP 1

To attach Stage Handrails to your Pro Stage Platforms, first slide a Stage Handrail Holder mounting point into the mounting rail of your Pro Stage Platform. Place the Stage Handrail Holder over the mounting point and tighten the screw with a size 8 allen key in a clockwise direction. Do not tighten fully until lined up with the handrail.
STEP 2

Slide the Stage Handrail down in to the Stage Handrail Holders. Once in place tighten the bolts on the Handrail Holders in a clockwise direction.
STEP 3

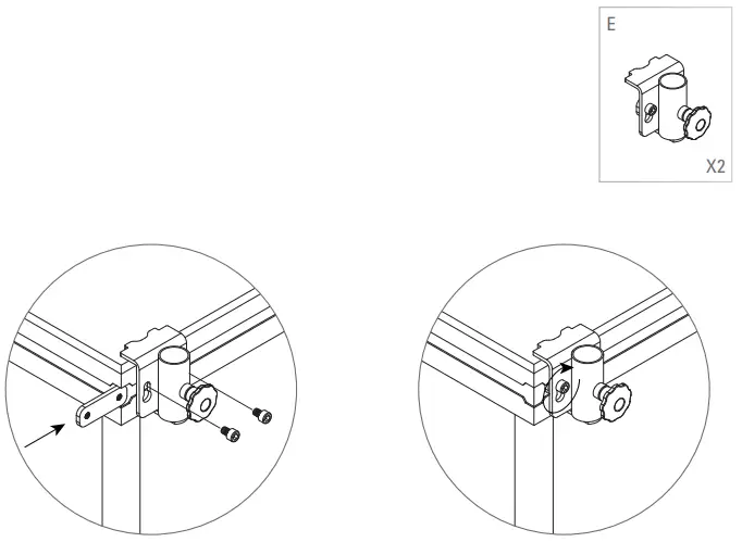
Use a Stage Handrail Clamp to join and secure two Stage handrails. Loosen the Handrail Clamp and place it against the two handrails. Rotate the rear of the Handrail Clamp so that it sits behind the two Handrails. Tighten the bolt on the Handrail Clamp in a clockwise direction.
Attaching Steps
![]() | |
| To attach either 20 or 40cm Stage Steps to your platform, loosen the metal arms on the steps at their base so they can be turned freely and remove the bolts from the end of the arms to release the connection blocks and washers using a size 6 allen key. | Turn the arms until they line up with the platform rail and slide your connection blocks in to the rail, so that they are aligned with the arms. Tighten the bolts though the arms and in to the connection blocks, securing the steps in place. |
Attaching Skirts
![]() | |
| To attach skirts to your platform take a pack of skirt mounts and affix them to the edge of the platform above the rail, evenly spaced and using five per metre. | Use the velcro on the skirts to fix the skirt to the skirt mount. |
Note on Uneven Ground
If built on uneven ground reduce the vertical movement of the Pro Stage Platforms using an appropriately sized block of at least 250x250mm width and depth. Only use one block per group of legs to preserve structural integrity.
Do not build the Pro Stage system on an inclined surface as this can impact stability and integrity. Only build on an appropriately flat and solid surface.

NOTES
- Maximum Load: 500kg/m2
- Operating Temperature: -40 – 60deg. celcius
- Maximum point loads (50mmx50mm point)
Centre of 2m edge – 340kg
Centre of 1m edge – 650kg
Centre of platform – 180kg - Any parts deformed by more than 5% of their intended dimensions should be replaced immediately
If you have any more questions about this product, please do not hesitate to contact the Gear4music Customer Service Team on: +44(0) 330 365 4444 or [email protected]
KETTLESTRING LANE
YORK
YO30 4XF
UNITED KINGDOM
LAHNSTRAßE 27
45478 MÜLHEIM AN DER RUHR
DEUTSCHLAND
WWW.GEAR4MUSIC.COM


























