Cesicia Ch-4620 Modern Classic 27 Inch 4 Light Chrome Bathroom Vanity Light Instruction Manual
PACKAGE CONTENTS
This Fixture Can Be Installed Up or Down In Two Ways

HARDWARE CONTENTS
Note: Hardware not show actual size.

SAFETY INFORMATION
Please read and understand this entire manual before attempting to assemble, operate or install the product.
WARNING
- Turn off electricity at main fuse box (or circuit breaker box) before beginning installation by removing fuse (or switching off circuit breaker).
- Be careful not to damage or cut the wire insulation (covering) during fixture installation. Do not permit wires to contact any surface having a sharp edge. To do so may damage or cut the wire insulation, which could cause serious injury or death from electric shock.
CAUTION
- All electrical connections must be in agreement with local codes, ordinances or the national electric code (NEC). Contact your municipal building department to learn about your local codes, permits and/or inspections.
- Risk of fire — most dwellings built before 1985 have supply wire rated for 140°F/60°C. Consult a qualified electrician before installation.
- Do not connect this fixture to an electrical system that does not provide a means for equipment grounding. Never use a fixture in a two-wire system that is not grounded. If you are not sure your lighting system has a grounding means, do not attempt to install this fixture. Contact a qualified, licensed electrician for information with regards to proper grounding methods as required by the local electrical code in your area.
PREPARATION
Before beginning assembly, installation or operation of product, make sure all parts are present. Compare parts with package contents list and diagram on previous page. If any part is missing or damaged, do not attempt to assemble, install or operate the product. Contact customer service for replacement parts.
Tools Required for Assembly (not included): Screwdriver, Phillips Screwdriver, Pliers, Electrical Tape, Wire Cutters, Safety Glasses, Ladder, Wire Stripper.
ASSEMBLY INSTRUCTIONS
Turn off the power at fuse or circuit box.
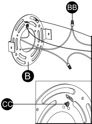
- Remove two mounting screws (FF) to separate the mounting bracket(B) from back plate(A).

- Fix the mounting bracket(B) to the wall.
Attach the mounting bracket(B) to the outlet box by using two mounting screws(AA).
Insert lanyard clip (E) into bracket slot to release hands to connect wires.
- Connect fixture black wire to house black wire and fixture white wire to house white wire using wire nuts(BB) provided. Connect the copper wire on the light fixture to the mounting bracket(B) by securing it with the pre-installed grounding screw(CC), and then connect it to the house grounding wire with wire nut(BB).
Tuck all the wires into outlet box.
- Attach the back plate(A) to the mounting bracket(B), and then secure it with mounting screws (FF).

- Install the outer clear glass shade (C) Put the socket ring(DD) into the tool(GG), slip the shade (C) into the socket and fastened the shade (C) by the socket ring(DD) with the tool(GG).

- Install inner crystal shade (D) and G9 bulbs(HH) Put the socket ring(EE) into the tool(GG), Slip the shade (D) into the socket and fastened the shade (D) by the socket ring(EE) with the tool(GG).
Insert the G9 bulb(HH)into the socket.
Turn on the power at fuse or circuit box.
CARE AND MAINTENANCE
• To clean, turn off and wipe with a damp, non-abrasive cloth.
TROUBLESHOOTING
- The light does not come on at all:
a) Make sure the wall switch and circuit breaker are on.
b) Make sure the wiring is correct. - Fuse blows or circuit trips when light is turned on.
a) Check for crossed wires, ensure wiring is correct.
If unable to fix any of the above issues, please consult a certified electrician.























