ET2 Contemporary Lighting E23414-01PC Soprano 30 Inch LED Bath Vanity Instruction Manual
Introduction
Please consult your electrician for hanging fixture and wiring.
Light Source: LED Integrated 30W
Before Getting Started
- Read the instructions carefully prior to assembling the product.
- When you open the package with a sharp tool like a cutter knife, be careful not to damage the components inside.
- Carefully remove all packaging materials and retain for future use.
- Keep all hardware parts and packaging out of reach of small children.
- Choose a clean, level, spacious assembly area.
Avoid hard surfaces that may damage the product. - Ensure that you have all required contents for complete assembly.
- Take care when lifting. Assemble the product in close proximity to where you intend to position the item.
- Do not over tighten the screws and bolts as this may damage the threads.
- Do not let children play with this product.
Risk of suffocation!
Keep any packaging materials away from children.
Lamp Care Instructions
- Carefully read through the instruction sheet before assembly and using the product.
- Caution there is a risk of shock. Disconnect from power source before assembling or cleaning.
- Switch off, unplug and allow bulb to cool before replacing bulb or cleaning.
- Only use the recommended bulb type and do not exceed the maximum wattage as it could cause fire.
- Do not plug the product in if cord is torn or frayed.
Cleaning & Maintenance
- On polished finishes, often using talc powder reduces the appearance of fingerprints and other smudges.
- For respective shade surfaces, use the appropriate cleansers, i.e. glass cleaner, acrylic polish, and wood polish.
- Clean with soft cloth and a mild detergent.
DO not use abrasive cleaner. - Periodically (every 90 days) make sure that the screws are fully tightened.
- Prolonged exposure to heat sources may cause glazing, melting and scorching, or even cause color to fade.
Contents
Before getting, started, ensure the package contains the following components:
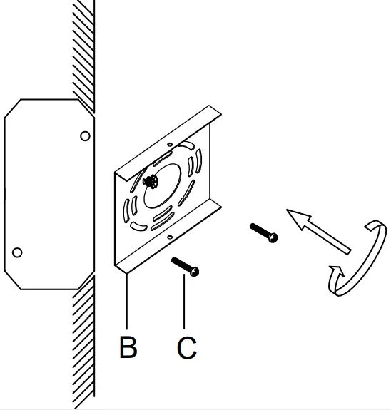
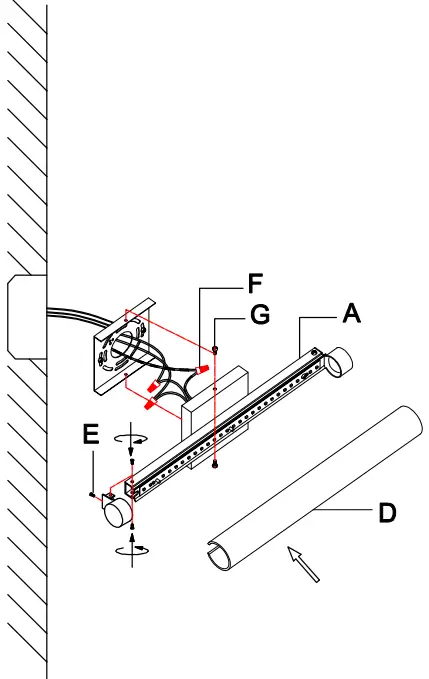
| A. | Fixture![]() | X1 |
| B. | Mounting Bracket![]() | X1 |
| C. | Screws #5-32 x 1.25″![]() | X2 |
| D. | Glass-D2.0″*L27.56″![]() | X1 |
| E. | Bolts![]() | X3 |
| F. | Wire nuts![]() | X3 |
| G. | Bolts![]() | X2 |
Dimensions


























