ET2 Contemporary Lighting E23400 Series Baritone LED Bath Vanity
Before Getting Started
- Read the instructions carefully prior to assembling the product.
- When you open the package with a sharp tool like a cutter knife, be careful not to damage the components inside.
- Carefully remove all packaging materials and retain for future use.
- Keep all hardware parts and packaging out of reach of small children.
- Choose a clean, level, spacious assembly area. Avoid hard surfaces that may damage the product.
- Ensure that you have all the required contents for complete assembly.
- Take care when lifting. Assemble the product in close proximity to where you intend to position the item.
- Do not over-tighten the screws and bolts as this may damage the threads.
- Do not let children play with this product.
Risk of suffocation!
Keep any packaging materials away from children.
Lamp Care Instructions
- Carefully read through the instruction sheet before assembly and using the product.
- Caution there is a risk of shock. Disconnect from power source before assembling or cleaning.
- Switch off, unplug and allow bulb to cool before replacing bulb or cleaning.
- Only use the recommended bulb type and do not exceed the maximum wattage as it could cause fire.
- Do not plug the product in if cord is torn or frayed.
Cleaning & Maintenance
- On polished finishes, often using talc powder reduces the appearance of fingerprints and other smudges.
- For respective shade surfaces, use the appropriate cleansers, i.e. glass cleaner, acrylic polish, and wood polish.
- Clean with soft cloth and a mild detergent. DO not use abrasive cleaner.
- Periodically (every 90 days) make sure that the screws are fully tightened.
- Prolonged exposure to heat sources may cause glazing, melting and scorching, or even cause color to fade
CONTACT




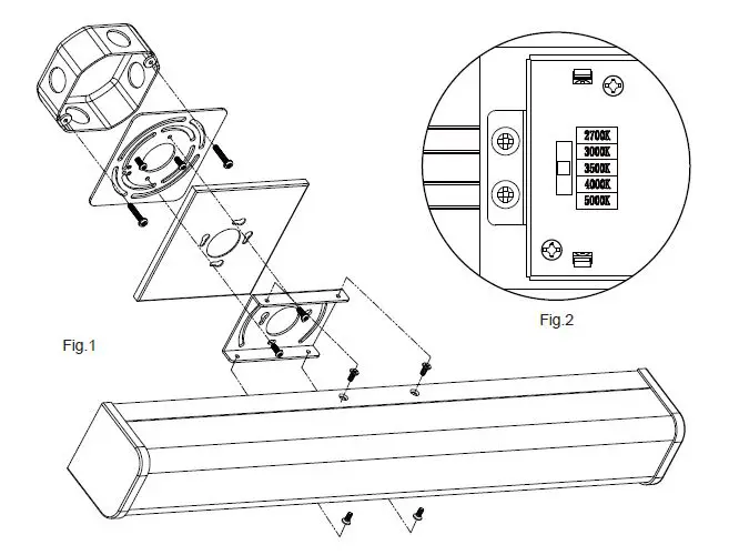
- Prior to installation, install the back plate on the junction box with junction box screws. Drive screws completely to the end of the junction box.
- Put two mounting screws on the back plate then install the base plate and mounting plate.
- Connect supply wires to wires on fixture with wire nuts. Connect white to white, black to black and Green to Green as a grounding connection.
- Select the desired Color Temperature by setting the sliding switch to the target CCT(See Fig.2)
- Install the fixture on the mounting plate using the fixture screws provided.

- Prior to installation, install the mounting plate on the junction box with junction box screws. Drive screws completely to the end of the junction box.
- Connect supply wires to wires on fixture with wire nuts. Connect white to white, black to black and Green to Green as a grounding connection.
- Select the desired Color Temperature by setting the sliding switch to the target CCT(See Fig.4)
- Install the fixture on the mounting plate using the fixture screws provided.
PRODUCT NAME: BARITONE LED BATH VANITY ITEM NUMBER:
- E23400
- E23402
- E23404
- E23406
- E23408
Please consult a qualified electrician for hanging fixture and wiring.
Light Source : LED Integrated 15W/20W/25W/30W/40W 120V-277V/60Hz
Made in China / Hecho én China /Fabrique en China


















