ET2 E23412-01PC Soprano 24 Inch LED Bath Vanity Installation Guide
Before Getting Started
- Read the instructions carefully prior to assembling the product
- When you open the package with a sharp tool like a cutter knife, be careful not to damage the components inside.
- Carefully remove all packaging materials and retain for future use.
- Keep all hardware parts and packaging out of reach of small children
- Choose a clean, level, spacious assembly area. Avoid hard surfaces that may damage the product
- Ensure that you have all required contents for complete assembly
- Take care when lifting. Assemble the product in close proximity to where you intend to position the item.
- Do not over tighten the screws and bolts as this may damage the threads
- Do not let children play with this product.
Risk of suffocation! Keep any packaging materials away from children.
Lamp Care Instructions
- Carefully read through the instruction sheet before assembly and using the product
- Caution there is a risk of shock. Disconnect from power source before assembling or cleaning
- Switch off, unplug and allow bulb to cool before replacing bulb or cleaning.
- Only use the recommended bulb type and do not exceed the maximum wattage as it could cause fire.
- Do not plug the product in if cord is torn or frayed.
Cleaning & Maintenance
- On polished finishes, often using talc powder reduces the appearance of fingerprints and other smudges.
- For respective shade surfaces, use the appropriate cleansers, i.e. glass cleaner, acrylic polish, and wood polish.
- Clean with soft cloth and a mild detergent. DO not use abrasive cleaner.
- Periodically (every 90 days) make sure that the screws are fully tightened.
- Prolonged exposure to heat sources may cause glazing, melting and scorching, or even cause color to fade.
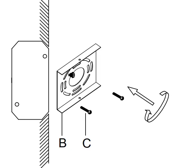
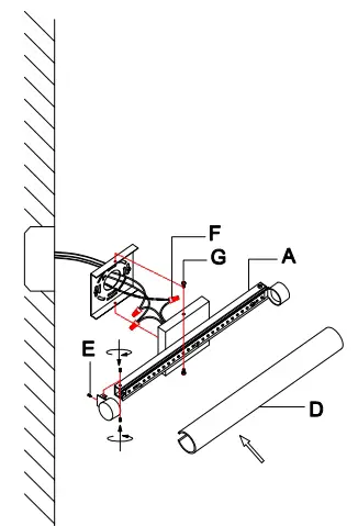
Contents
Before getting,started,ensure the package contains the following components:
- Fixture

- Mounting Bracket

- Screws #5-32 x 1.25″

- Glass-D2.0″*L21.65”

- Bolts

- Wire nuts

- Bolts

Assembly Instruction




























