EXTECH LT40 White LED Light Meter

Introduction
Congratulations on your purchase of the Extech LT40 LED Light Meter that measures light intensity from white LED light sources. The LT40 can also measure light from fluorescent, metal halide, high-pressure sodium, and incandescent sources, for reference only (unspecified accuracy). The LT40 can measure light up to 40,000 Fc (400,000 Lux). This instrument is shipped fully tested and calibrated and, with proper use, will provide years of reliable service. Please visit our website (www.extech.com) to check for the latest version of this User Guide, Product Updates, and Customer Support.
Features
- Overload Indication: The LCD will show OL.
- Low battery Indication.
- Display Update Rate: 2.5 times per second.
- Cosine Angle corrected.
- Measures white LED light.
- Measures the intensity of illumination in Lux or foot-candles.
- Data hold freezes displayed reading.
- Maximum/Average/Minimum reading Hold.
- Zero Calibration adjustment.
- Auto power off with disable function.
- Auto range.
Safety
- Do not operate the meter in environments where the following are present: explosive gases (or materials), combustible gases (or materials), steam, or dust.
- Please replace the battery immediately when the low battery symbol appears on the LCD.
- Do not touch the meter’s circuit board for any reason; static electricity or contamination could damage the sensitive components.
- For Indoor use only. This instrument was designed for pollution degree 2.
- Operation Altitude: Up to 7000’ (2000m).
Meter Description
- Photo detector (remove protective cover to expose sensor)
- Display (LCD)
- Control push-buttons
Power Button: ON/OFFMeasurement Considerations and User Tips
Battery compartment and tripod mount are located on rear of instrument
Push-Button Description
- Lux/Fc units selector
- Zero Calibration button
- Maximum/Average/Minimum memory button
- Data hold button
Operation
Power ON/OFF: Long press the Power button to power the meter. To power the meter OFF, short press the Power button.
Taking Measurements
- Switch the meter ON and remove the sensor’s protective cover to expose the light sensor dome. The display should switch ON; if not, check that batteries are installed and fresh.
- The meter measures the intensity of the light (illuminance) that strikes the sensor dome in foot-candles and Lux units (1 fc = 10.76 lux), displaying this measured value on its LCD.
- Position the meter and light source so that the light strikes the sensor dome straight on (perpendicular) with as little an angle as possible.
- The meter’s display can show a value up to 9999. However, for readings that represent measurements higher than this, the meter uses x10 or x100 feature. For example, to represent a measurement of 11,000 fc the meter will display 1100 with the x10 indicator.
Auto Power OFF: To save battery life, the meter powers down automatically after approximately 12 minutes of inactivity.
Enable/Disable Auto Power Off: While the meter is ON, long press the Power button to disable the Auto Power OFF utility (the Clock symbol will switch OFF). To enable the Auto Power OFF utility, repeat this process.
LUX/FC Button: Press the LUX/FC button to toggle between Lux and FC (foot-candles) measurement units.
MAX/MIN Button
The meter can record the maximum, minimum, and average readings as described below:
- Short press the “MAX/MIN” button and the meter will begin to track the
maximum/average/minimum measurements; the “MAX” icon will display at the top of the LCD window indicating that the meter is now showing the maximum reading. The reading will not change until a higher reading is registered. - Press the “MAX/MIN” button again to switch from “MAX” to “AVG”, where the meter will show the average measurement value. The “AVG” icon will be displayed above the displayed value.
- Press the “MAX/MIN” button again to change the mode from “AVG” to “MIN”, where the meter will show the minimum value measured. The “MIN” icon will be displayed.
- Press the “MAX/MIN” button again to switch from “MIN” back to “MAX”.
- To exit this mode, hold the “MAX/MIN” button for at least 2 seconds. The MAX/AVG/MIN icons should all be switched OFF when the unit returns to the normal operating mode.
HOLD Button
Press the HOLD button to freeze the current reading on the LCD. Press the HOLD button again to release the reading. In the Data Hold mode, HOLD is displayed on the LCD.
Zero Calibration Procedure
- Ensure that the protective cap is attached to the light sensor.
- Power the meter and the LCD should display ‘0’.
- Short press the “CAL ZERO” button to perform the zero adjustment (CAL will appear on the display).
- The CAL display will switch off when the calibration has been completed.
- If the protective cap is not covering the sensor when the Zero calibration is started the LCD display will read CAP. In this case, please cover the sensor with the cap and restart this procedure.
Measurement Considerations and User Tips
- For maximum accuracy allow the light being measured to fall directly on the sensor as perpendicular as possible with a minimal angle of incidence.
- When the meter is not in use, please keep the protective cap in place over the light sensor. This will prolong the life of the sensor.
- When the meter is to be stored for long periods, please remove the batteries and store them separately. Batteries can leak and cause damage to the meter’s components.
- Avoid areas of high temperature and humidity when using this instrument.
Battery Replacement and Maintenance
Cleaning and storage
1. The white plastic sensor dome should be cleaned with a damp cloth when necessary. Use only a mild soap if needed. Do not use solvents, abrasives, or harsh detergents to clean the dome.
2. Store the meter in an area with moderate temperature and relative humidity.
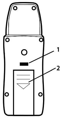
Battery Replacement: When the battery power decreases to a critical level, the low battery symbol “
”will appear on the LCD. Replace the 2 x 1.5V AAA batteries located in the rear battery compartment.
- Press and hold the battery compartment lock button (see diagram).
- Slide the battery compartment cover off in the direction of the arrow.
Install two (2) 1.5V ‘AAA’ batteries observing correct polarity and close the battery compartment. Ensure that the compartment cover is securely fastened before using the meter.
Specifications
General Specifications
| Sampling rate | 2.5 times per second (digital display) |
| Photo detector | Silicon photodiode with cosine correction |
| Display | 4-digit LCD (maximum display: 9999) with low battery icon, measurement overload, and other function indicators |
| Auto Range | Meter automatically ranges the display |
| Operating conditions | Temperature: 41 to 104oF (5 to 40oC); Humidity: < 80% RH |
| Storage conditions | Temperature: 14 to 140oF (-10 to 60oC); Humidity: < 70% RH |
| Low battery indication | appears on the LCD when battery voltage falls critically low |
| LED Type | White LED light |
| Power supply | 2 x 1.5V ‘AAA’ batteries |
| Battery life | Approximately 200 hours |
| Auto Power OFF | Meter switches OFF after 12 minutes of inactivity |
| Dimensions | 5.2 x 1.9 x 0.9” (133 x 48 x 23 mm) |
| Weight | 8.8 oz. (250g) including batteries |
Appendices
Typical Light Levels (1 Fc = 10.76 Lux)
| Lux | Foot Candles | Lux | Foot Candles | ||
| Factories | Home | ||||
| 20-75 | 2-7 | Emergency Stairs, Warehouse | 100-150 | 10-15 | Washing |
| 75-150 | 7-15 | Exit/Entrance Passages | 150-200 | 15-20 | Recreational Activities |
| 150-300 | 15-30 | Packing Work | 200-300 | 20-30 | Drawing Room, Table |
| 300-750 | 30-75 | Visual Work: Production Line | 300-500 | 30-50 | Makeup |
| 750-1,500 | 75-150 | Typesetting: Inspection Work | 500-1,500 | 50-150 | Reading, Study |
| 1,500-3,000 | 150-300 | Electronic Assembly, Drafting | 1,000-2,000 | 100-200 | Sewing |
| Office | Restaurant | ||||
| 75-100 | 7-10 | Indoor Emergency Stairs | 75-150 | 7-15 | Corridor Stairs |
| 100-200 | 10-20 | Corridor Stairs | 150-300 | 15-30 | Entrance, Wash Room |
| 200-750 | 20-75 | Conference, Reception Room | 300-750 | 30-75 | Cooking Room, Dining Table |
| 750-1,500 | 75-150 | Clerical Work | 750-1,500 | 75-150 | Show Window |
| 1,500-2,000 | 150-2000 | Typing, Drafting | |||
| Store | Hospital | ||||
| 75-150 | 7-15 | Indoors | 30-75 | 3-7 | Emergency Stairs |
| 150-200 | 15-20 | Corridor/Stairs | 75-100 | 7-10 | Stairs |
| 200-300 | 20-30 | Reception | 100-150 | 10-15 | Sick Room, Warehouse |
| 300-500 | 30-50 | Display Stand | 150-200 | 15-20 | Waiting Room |
| 500-750 | 50-75 | Elevator | 200-750 | 20-75 | Medical Exam Room |
| 750-1,500 | 75-150 | Show Window, Packing Table | 750-1,500 | 75-150 | Operating Room |
| 1,500-3,000 | 150-300 | Storefront, Show Window | 5,000-10,000 | 500-1000 | Eye Inspection |
Two-year Warranty
Teledyne FLIR warrants this Extech brand instrument to be free of defects in parts and workmanship for two years from date of shipment (a six-month limited warranty applies to sensors and cables). To view the full warranty text please visit: http://www.extech.com/support/warranties.
Calibration and Repair Services
Teledyne FLIR offers calibration and repair services for the Extech brand products we sell. We offer NIST traceable calibration for most of our products. Contact us for information on calibration and repair availability, refer to the contact information below. Annual calibrations should be performed to verify meter performance and accuracy. Product specifications are subject to change without notice. Please visit our website for the most up-to-date product information:
www.extech.com.
Contact Customer Support
- Customer Support Telephone List: https://support.flir.com/contact
- Calibration, Repair, and Returns: [email protected]
- Technical Support: https://support.flir.com
Copyright © 2022 Teledyne FLIR Commercial Systems, Inc. All rights reserved including the right of reproduction in whole or in part in any form www.extech.com
This document does not contain any export-controlled information



















