
How to set-up your ORYX evo W laptop stand





1. Push here to form laptop/document support
2. Unfold rear support
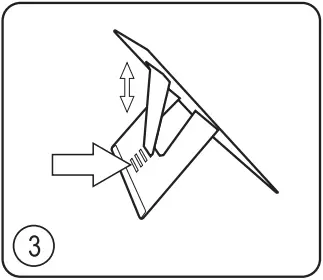
3. Select one of four angle settings
4. Place laptop and document on stand
5. Position your laptop stand on your desk about an arm’s length away with the screen raised. Add an external mouse and keyboard to create an ergonomic workstation.


















