STAR & ART BLACK ECOLINE DOUCHECABINE
Installation instructions

SIZE:90*90 *200 cm
SIZE:100 *100 *200 cm
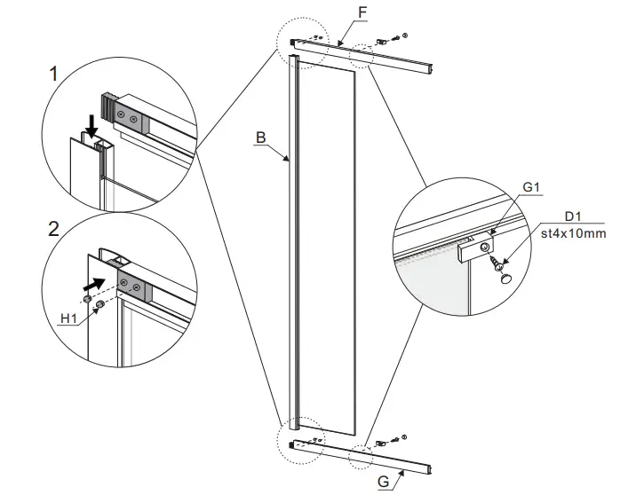
Installation instructions
TOOLS REQUIRED(NOT SUPPLIED)![]()
when you’re ready to start. make sure that you have the following tools to hand, plenty of space, and a clean dry area for assembly.
Two people are needed. Please note: Although these instructions are comprehensive, We always recommend that a technically competent installer should undertake the installation.































