B08VYLQS9F HoverBar Duo for iPad
User Guide

What’s in the Box

A.Ipad Clip
B.Desk Base with Attached Arm
C.Shelf Clamp
D.Large Hex Wrench (4MM)
E. Small Hex Wrench (3MM)
Attaching iPad Clip
- Align Locking Washer with the back of the iPad Clip
- Hand tighten iPad Clip onto end of iPad Arm with Locking Washer

Using the HoverBar Duo Desk Stand or Shelf Clamp

HoverBar Duo includes both a freestanding, weighted Desk Stand and a Shelf Clamp. The Desk Stand comes pre-attached and is the easiest to move from place to place. The Shelf Clamp attaches the HoverBar Arm securely to a shelf or desk edge up to 1.5-inches thick for display in any orientation.
Your HoverBar + iPad can be quickly and easily moved from Desk Stand to Shelf Clamp with the QuickSwitch Tab. See page 6 for instructions.
Securing iPad

- Insert the bottom edge of iPad into the clip and push down to open the iPad Clip.
- When the top of the iPad Clip is expanded beyond the top edge of the iPad, lean the iPad back into the iPad Clip.
- Carefully release the iPad and let the HoverBar iPad Clip hold the iPad.
- Rotate and position the iPad into the desired placement and orientation.
Note: Please remove the iPad from the iPad Clip when significantly repositioning the HoverBar or moving it from the Desk Stand to the Shelf Clamp.
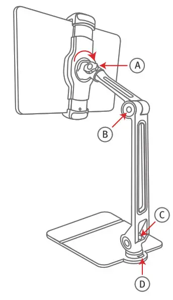
Adjusting and Tightening HoverBar
All HoverBar joints can be adjusted and tightened as needed. All arm hinges use one of two Hex Wrenches included with HoverBar.

A. iPad Clip Adjustment Knob. Loosen to adjust the orientation and angle of iPad. Note: Utilize notch opposite the adjustment knob to position iPad parallel to HoverBar.
B.HoverBar Arm Elbow Use the Large Hex Wrench to adjust the height and angle of the Upper Arm.
C.Base Hinge Adjustment Screw
Use the Small Hex Wrench to adjust the screw on the top of the hinge.
D.QuickSwitch Tab easy-release mechanism
Push down to easily switch the arm between the Base and the Shelf Clamp.
Switching to Shelf Clamp
To switch the arm from the Desk Stand to the Shelf Clamp, press down on the QuickSwitch Tab, and slide it off. Then slide the arm onto the Shelf Clamp, making sure it locks into place.

Using the Shelf Clamp
![]() | |
| Position the Shelf Clamp on the edge of a table or shelf and hand-tighten with the thumbscrew. | The included Shelf Clamp allows the use of HoverBar + iPad in any position – even upside down – suspended from an overhead shelf or cabinet edge. |
HoverBar Tips & Tricks

Combine HoverBar with iPad to use as a second display for your Mac with Sidecar.
With the SideCar feature, most newer Macs can turn most newer iPads into a second screen for applications pallets, email, small widgets, et cetera. Use HoverBar to position your Sidecar iPad right next to your Mac screen in vertical or horizontal position.
Learn more about SideCar here: https://support.apple.com/en-us/HT210380
HoverBar and iPad – with an external keyboard & trackpad
The latest iPad iOS lets you use external keyboards and pointing devices (such as a TrackPad or mouse) to control iPad. With iPad control on your desk – you are now free to position iPad anywhere you like with HoverBar.

Better Video chats
To look your best on FaceTime videos, Zoom calls, et cetera, it is always better to have your camera at eye level and, most often, in portrait mode. Use HoverBar to position your iPad at the perfect height for any video call. You can even hang it from a nearby shelf to keep your desktop nice and clear.
THANK YOU


















