My Lines LED Pendant Lamp
Instruction Manual
My Lines LED Pendant Lamp
INSTRUCTION FOR CORRECT INSTALLATION AND USE
WARNING!
The safety of this fitting can only be guaranteed if these instructions are observed, during both installation and use. Please retain these instructions safety.
REMARKS:
- When installing and whenever acting on the appliance, ensure that the power supply has been switched off.
- The appliance may in no way be modified or tampered with. Any modification may compromise safety and making the appliance itself dangerous. FLOS declines all responsibility for products that are modified.
- The appliance can only be installed by using the special MY LINES ROSE accessory.
- The device carries no risk of photobiological emissions.
- The light source cannot be replaced by the customer. Contact FLOS for information.
- Should the external trailing cable get damaged, it must be replaced by FLOS or by qualified personnel in order to avoid any danger.
- The symbol
shown on the device indicates that the product must be disposed of in a different manner than with the urban waste.
TECHNICAL DATA
46W LED
CLEANING INSTRUCTIONS
- Use only a soft cloth to clean the appliance, dampened with water and soap or mild cleanser if needed for resistant dirt.
- Warning: do not use alcohol or other solvents.


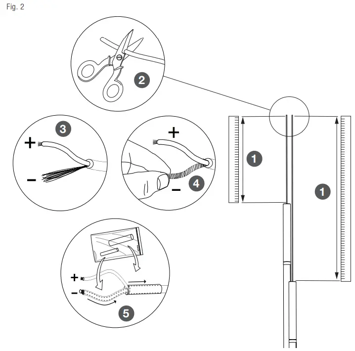
Fig.2 Cut the power cable to the desired length and prepare it for connection to the ceiling rose by using the sheaths provided as shown in the illustrations.

Fig.3 Install the appliance to the ceiling by using the MY LINES ROSE accessory and by following the instructions provided with it.
Design Michael Anastassiades, 2023
flos.com
35514 LB – 12/04/2023

















