80LB ATV Receiver Mount Spreader Owner’s Manual
Congratulations on your Guide Gear purchase.
Take your game to the next level with field-tested Guide Gear products for a confident, competitive edge that strikes the perfect balance between performance and value.
ITEM# 583375

For assistance with your Guide Gear product, please contact the Sportsman’s Guide service at 1-800-888-3006 7:00am – 9:00pm CST Mon-Fri, 8:00am – 8:00pm Sat-Sun or go to https://www.sportsmansguide.com/customerservice/contactus

IMPORTANT
- This spreader is designed and intended for use mounted to the receiver of an ATV.
- This spreader is designed and intended to broadcast dry materials such as seed, fertilizer, salt or sand.
SAFETY PRECAUTIONS ![]()
- Read and understand all warnings and instructions in this manual. Failure to follow all warnings and instructions in this manual may result in damage to property or serious injury.
- NEVER allow anyone to assemble, install or operate this spreader until they have read and understood all of the warnings and instructions in this manual.
- NEVER attempt to modify this spreader.
- NEVER use this spreader for anything other than its intended use.
- NEVER use this spreader if you are under the influence of alcohol or drugs/medications.
- ALWAYS wear appropriate safety gear and clothing to protect you while operating your ATV, the spreader, and from any hazardous materials being applied.
- ALWAYS keep hands, hair, and loose clothing/jewelry away from all moving parts or severe injury could occur.
- ALWAYS remove any contents that are in the spreader’s hopper before attaching, detaching, or lifting this unit.
- To reduce the risk of injury, and possible damage to the spreader, ALWAYS have someone help you with installation and removal.
- To reduce the risk of injury, and possible damage to the spreader, NEVER overload the hoper.
- NEVER exceed the maximum weight rating, or the maximum tongue weight, declared by the vehicle manufacturer. Keep in mind the weight of the empty spreader, material to be spread and other items being carried.
- ALWAYS follow the directions on the package of whatever material you are applying with this unit.
- Keep away from children.
- The warnings and instructions in this manual cannot cover all possible conditions or situations that could occur. It must be understood by the operator that the exercise of caution and good judgment are factors which cannot be built into this product, but must be supplied by the operator.
PRE-ASSEMBLY
- Read all instructions before beginning.
- Unpack carton and ensure you have all parts and assembly hardware listed in the Carton Contents on page 3. Contact customer service regarding any missing or damaged parts.
- Do not attempt to assemble or use until all missing or damaged parts have been replaced.
- Gather the necessary tools.
- Approximate assembly time of the product is 1 hour.
CARTON CONTENTS

HARDWARE PACK

PARTS LIST

TOOLS REQUIRED FOR ASSEMBLY
- (2) 10mm wrenches
- (1) 17mm wrench
Exploded Diagram

Note: A connect to another A, B connect to another B, C connect to another C, D connect to another D, E connect to another E, F connect to another F.
ASSEMBLY INSTRUCTIONS
Step 1:
- Connect the deflector plate (#24) to the crossbeam tube (#23) using hex bolt M6x16 (#8), hex lock nut M6 (#3) and big flat washer Ø6 (#14). And then tighten them.
- Connect the crossbeam tube (#23), connecting rod (#22) and hopper assemble tube (#21) using hex bolt M6x40 (#2), hex lock nut M6 (#3) and flat washer Ø6 (#9).

Step 2:
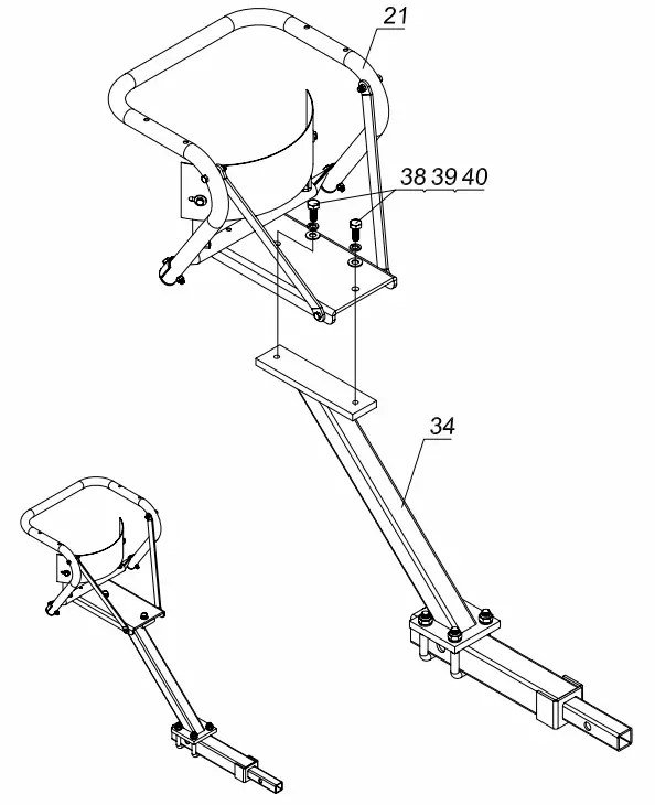
Assemble the connecting tube assembly (#34) and extension tube (#56) using “U” bolt (#35), lock washer Ø12 (#36) and hex lock nut M12 (#37), then tighten it. NOTE: extension tube (#56) can be reversed to fit 1.25″ or 2″ receiver (see step 7 for more detail.)

Step 3:
Connect the hopper assemble tube (#21) and spacer plate (#33) using hex bolt M6x40 (#2), hex bolt M6x20 (#41) ,hex lock nut M6 (#3) and flat washer Ø6 (#9). Fully tighten.

Step 4:
Assemble the connecting tube assembly (#34) and hopper tube assembly (#21) using hex bolt M10x25 (#38), lock washer Ø10 (#39) and flat washer Ø10 (#40).

Step 5:
- Pull out the switch box on the cable assembly, insert switch into the hole on the gauge base plate, then plug-in the cable, and connect the other end of the cable with the cable on the motor.
- Secure the gauge base plate (#53) and cable assembly (#10) using screw M5x12 (#17), flat washer Ø5 (#5) mounting the clamp press plate (#43).

Step 6:
- Connect the hopper assembly (#1) and hopper assemble tube (#21) using hex bolt M6x40 (#2) and hex lock nut M6 (#3), then tighten.
- Connect the gauge base plate(#12) center spacer busing(#11) and hopper assembly (#1) using hex bolt M6x70(#13), big flat washer Ø6 (#14) and hex lock nut M6 (#3), then Connect the lower hole of gauge base plate (#12) and hopper assembly (#1) using hex bolt M6x16(#8) and hex lock nut M6 (#3).
- Attach the gauge base plate assembly (#53) onto gauge base plate (#12) using hex bolt M6x16 (#8) and hex lock nut M6 (#3).

Step 7:
Tighten all the nuts and bolts.

OPERATION
- ALWAYS inspect the spreader for damaged, missing or loose parts prior to each use. Do not attempt to use until all problems have been corrected.
- Read and follow directions on the package of the material being spread with this unit.
- Fill hopper with desired material to be spread by this unit, not exceeding maximum load of 80lbs, or your vehicles maximum load limit, whichever is lower.
- Adjust the handle on the gauge assembly so that it is at the desired setting. Then tighten the wing nut on the gauge assembly to set the desired opening. This allows the driver to set the opening to the same place every time while driving the vehicle.
- Adjust handle on the gauge assembly until desired amount of spreading material is flowing out of the hopper onto the turning plate.
- Flip rocker switch on cable assembly to on position and begin spreading.
- Turn rocker switch off to stop or pause spreading.
- Empty the hopper, thoroughly wash all spreader parts and allow to dry before storing. Adding a light coating of oil to metal parts will help prevent corrosion.
Note: Settings for this product need to be determined by user since factors such as coarseness and density of “material used” affect the spread rates. See page 14 “Spread Rate Worksheet” to calculate approximate spread rates.
When Rate settings are not available, follow these guidelines to calculate spread rates:
On the bag of material to spread, you will find recommended spread rates, usually in terms to the effect of: so many pounds will cover so many sq. ft.
Read these steps, and then refer to the Spread Rate Worksheet (see page 14).
- Determine how much material to apply to 1,000 sq. ft
- Measure off a distance of 50 ft., preferably on a paved area (i.e. parking lot)
- Weigh out enough material from bag to fill the hopper half full (recommend at least half full hopper). Record the weight for later.
- Set the stop at position with opening of hopper at the position you feel appropriate.
- With the hopper half full, bring vehicle to desired speed before the start line of your 50 ft. test area. When you arrive at the start line, turn on the spreader. Turn off the spreader at the finish line.
- Stop the vehicle and note the width of spread path from your test run.
SAVE THIS INSTRUCTION MANUAL FOR FUTURE REFERENCE
SPREAD RATE WORKSHEET
On the bag of material to spread, you will find recommended spread rates, usually in terms to the effect of: so many pounds will cover so many sq. ft.
1. Find your Desired Application (spread) Rate
Example: To find your desired rate, divide the area (sq. ft.) that the bag of material covers by the weight of the bag of material itself. Then multiply by 1,000.
Example: 25lb bag / 2000 sq. ft. coverage = .0125
.0125 x 1,000 = 12.5 (12.5 is your desired lbs per 1,000 feet)
Record Desired Rate = (lbs per 1,000 sq. ft.) _________________
Test Run to Determine Spread Rate:
2. Determine lbs (weight) of Material in Hopper for Test Area:
______________ Weight of material put into Hopper
(Example: pour a 25 lb bag into spreader)
(-) ____________ Subtract Weight of Material in Hopper (after Test Area is spread)
(=) ____________ Weight of Material Used (will be used below)
3. Test Area Measurements
______________ Length of Test Area (recommend: 50 ft.)
(x) ____________ Width of Spread Area
(=) ____________ Total Spread Area
4. Determine Rate of Spread
Divide the Weight of Material Used in #2 by your Total Area Spread #3.
Weight of Material Used/Total Spread Area = lbs per sq. ft.
Example: 2 lbs / 500 ft = .004
Multiply lbs per sq ft (x) 1000 = _________ lbs per 1000 sq. ft.
Example: .004 x 1000 = 4
Compare these results to your desired application rate in #1.
Adjust the rate setting stop on the spreader accordingly and run test area again.
Example: Adjust 2 times more open to achieve double the rate of test.
Now you should approximately match your desired application in #1.
Repeat the process if necessary until you achieve your desired application rate.
Settings and guidelines furnished on the Rate Worksheet are intended as a guide only. Variations in materials applied, ground roughness and speed of operator may affect rate. There is no warranty as to the rate of coverage derived from above guidelines.
SAVE A COPY OF THIS WORKSHEET FOR FUTURE REFERENCE

















