Mikasa MTR-40H Tamping Trench Rammer Owner’s Manual
General Cautions to exercise before starting service work
- Before removing or disassembling any part or component, be sure to know exactly how it was installed or assembled.
- Protect the part or component with sheet to avoid smearing or damaging during service work.
- Use new oil seal, gasket, packing, felt ring or lock washer whenever it is removed for service.
- Do not reuse any bolt that has been heated for disassembly.
- Tighten bolt or nut to specified torque and use bonding compound such as LOCTITE #271 per instruction.
See Tightening Torque Chart for those not specified. (If bonding compound is to be applied, clean threaded portion with gasoline or thinner.)
Torque Chart
| Thread Dia. | 6 mm | 8 mm | 10mm | 12mm | 14mm | 16mm | 18mm | 20mm |
| 4 T (SS41 ) | 70 | 150 | 300 | 500 | 750 | 1,100 | 1,400 | 2,000 |
| 6 —- 8 T ( S 4 5C ) | 100 | 250 | 500 | 800 | 1,300 | 2,000 | 2,700 | 3,800 |
| 11T ( SCM3 ) | 150 | 400 | 800 | 1,200 | 2,000 | 2,900 | 4,200 | 5,600 |
Inspection Procedure
- Appearance check
(1) Mounting of sub-assemblies.
(2) Missing part or component.
(3) Rubber couplings for crack, deformation or deterioration.
(4) Governor oil (for EC10).
(5) Any damage on rammer body.
(6) Oil or grease (leak or smear). - Functional check
(l) Engine: High speed setting 3,800 + 100RPM
(2) Impact check with engine running at maximum speed. (Fatigue or failure of spring)
(3) Speed control wire and lever for proper function.
Disassembly And Reassembly
Engine and clutch
Disassembly
- Remove fuel pipe and speed control wire.
- Loosen engine mounting bolts and demount the engine.
EC08 — M8 bolt x 4
EC 10 — M10 bolt x 3 - With lock washer (53) removed, take off nut(63).
- With clutch guide B (71) removed, turn-in M6 bolts to threaded holes in clutch boss (72) and take off the clutch assembly.
Reassembly
- Reassemble with disassembly procedure reversed.
- After installing fuel line, bleed air in the following manner: Open fuel cock and loosen guide holder screw at carburetor bottom. Tighten the screw when fuel oozes out.
- Adjust the engine high speed setting to 3,800 +100RPM.
Note: With EC-10 engine, the speed may not rise if excessive governor oil exists. (Oil capacity is 60cc for maximum level.)

Crankcase
Disassembly
- Demount engine assembly per 1— 1, steps 1 2.
- Drain lubricant from drain plug.
- Separate crankcase and guide cylinder with connecting bolts removed.
- Removing piston pin with piston rod stop ring taken off, allows removal of the crankcase as an asse’y.
- Remove front cover (24) from crankcase (1).
- After removing bolt (6) that held connecting rod ( 16), remove the connecting rod. Use threaded holes in connecting rod for easier removal.
- Remove bearing cover (8) from crankcase (1).
- Removing bolt (6) that held crank gear (2) permits to remove the crank gear toward front cover end.
- Removing bolt (34) permits to remove pinion (38) toward front cover end and clutch drum (42) toward engine.
(In case of MT-50, the pinion comes off in the form of ASSY toward engine).

Reassembly
- Reassemble with the reversed procedure of disassembly.
- Replace oil seal, O-ring or packing with new one.
- Apply grease to contact surface of oil seal, pinion and tooth face of crank gear.
- Use Loctite on No. 6 and No. 34 bolts.
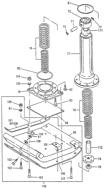
Spring cylinder and foot
Disassembly
- Drain oil from drain plug.
- Removing sunk head bolt (102, 113) causes foot ass’y (l 10) to come off.
- With 4 bolts (83) removed, remove 2 bolts (82) diagonally and turn-in special tools to remaining threaded holes and tighten nuts to them. Remove remaining bolts (82). Loosening the nuts slowly will cause foot plate (78) and foot end of main spring (76) to come off.
If the special tool is not available, fasten foot plate (78) to rammer body with rope before removing bolts (82 and 83)
- With nut (75) removed, remove piston end (74). Use special tool for removal of piston end. In case piston rod and connecting rod have been separated (2—1— 4), it will be easier to remove spring cylinder ass’y (77) from guide cylinder and lock with vice before
disassembling.
Reassembly
- Reassemble in the reversed procedure of disassembling. Mating groove for guide cylinder and spring cylinder is provided for the Types other than MT-50.
- Replace O-ring with new one.
- Apply grease to internal sliding parts. of guide cylinder and spring cylinder as well as the sprñig before assembling.
- Tighten nut (75) to the torque of 1900 2000 kgfcm.
- Use Loctite for nut (75) and bolt (82).
- After assembling, enter engine oil 10W-30 (or turbine oil # 68).
- Springs should be replaced as a set whenever to be replaced.

Guide cylinder and bellows
Disassembly
- Follow the steps 1 4 of 2—1 and separate crankcase ass’y from guide cylinder (89).
- Removing upper hose clip (97) permits to pull out guide cylinder (89) upward.
- Removing lower hose clip (97) allows to remove bellows (95) upward.
Reassembly
- Reassemble with reversed procedure of disassembly while paying attention to the direction of guide cylinder (89) and crankcase.
- Use Loctite # 221 or equivalent for bolts (90 and 93).
- Replace O-ring or packing with new one.
- Bellows (95) should be replaced with new one if damage is substantial.
Installation of bellows will be easier if grease is applied to inner wall of its opening. - Apply grease to sliding part inside the guide cylinder.

Troubleshooting
- Engine
“For repair of the Engine, refer to the Engine Service Manual”- Hard starting



- Poor operational performance


- Recoil starter

- Hard starting
- Rammer proper
While engine rotates, stroke is errastic or does not impact.
Operation of speed control lever is delayed.- Lubricant is viscous: Perform a warm-up run.
- Use proper lubricant’s: Engine oil 10W-30 (or turbine oil # 68)
- Excessive amount of lubricant: 750cc for EC-08 engine or 1000 l200cc for EC-10 engine
- Clutch slips: Replace clutch shoe.
- Spring fatigue or failure: Replace the spring Engine high speed setting deficient — Adjust to 3800+100RPM
Parchem Construction Supplies Pty Ltd
1956 Dandenong Road, Clayton VIC 3168, Australia
Phone: 1300 353 986
flextool.com.au
ABN 80 069 961 968
This manual summarizes our best knowledge of the product based on the information available at the time of publication.
You should read this manual carefully and consider the information in the context of how the product will be used.
Our responsibility for products sold is subject to our standard terms and conditions of sale.
DISCLAIMER:
Any advice, recommendation, information, assistance or service provided by us in this manual is given in good faith and is believed by us to be appropriate and reliable.
However, any advice, recommendation, information, assistance or service provided by us is provided without liability or responsibility PROVIDED THAT the foregoing shall not exclude, limit, restrict or modify the right entitlements and remedies conferred upon any person or the liabilities imposed upon us by any condition or warranty implied by Commonwealth, State or Territory Act or ordinance void or prohibiting such exclusion limitation or modification.
The product can be expected to perform as indicated in this manual so long as operation and operational procedures of the individual products are followed as recommended in this manual.
Design and technical specifications may be subject to changes.
© This publication is copyright. All rights are reserved. Flex tool is a registered trade mark of Parched Construction Supplies Pty Ltd. Mikasa is a registered trade mark of Mikasa Sangyo Co. Ltd, used under licensee.
CUSTOMER SUPPORT
FOR MORE INFORMATION
CONTACT US ON: 1300 353 986 OR
VISIT: flextool.com.au






























