Lighting DCP-SPT6 6 Inch Pro RGB CCT Landscape Projector
Installation Guide
DCP-SPT6 6 Inch Pro RGB CCT Landscape Projector
877 430 1818
www.dals.com
Download the free Dals Connect app ![]()
| MODEL | WATTS | LUMENS | KELVIN | INPUT | DIMMABLE9* |
| DCP-SPT6 | 10W | 540 Im | ROB + CCT 2200-4000K | 24VDC |
ITEMS INCLUDED IN THE BOX
![]() | ![]() |
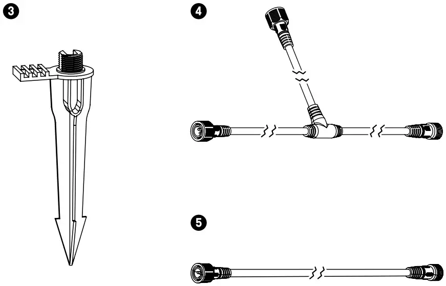
- 6″ LED landscape spotlight
- 120° Frosted lens
- Ground stake
- 6″ T-connector
- 6’ Extension cable
COMPATIBLE ACCESSORIES (SOLD SEPARATELY):
DCP-TR60-BK: Transformer
DCP-TR200-BK: Transformer
DCP-PTR36: Plug-in driver
DCP-ACC-MS12: Metal ground stake 12″
DCP-ACC-MS06: 6″ metal stake
DCP-ACC-MB: Mounting bracket
DCP-EXT2OFT: 20′ extension cable
DCP-EXT6FT: 6′ extension cable
DCP-EXT-T: 6″ T-connector
DCP-SPTEXT14: 14″ extension tube
WARRANTY
DALS offers a 5 year warranty from the date of purchase which covers repairs or replacements of defective parts of the housing, optics, and electronics. To contact DALS customer service call 1 877 430 1818 or send an e-mail to [email protected].
Installation guide
BEFORE YOU START BEFORE STARTING INSTALLATION, SHUT THE LINE FEED POWER OFF USING THE CIRCUIT BREAKER.
Instructions pertaining to a risk of fire, electric shock or injury to persons. Installation must be done according to local electrical codes. Installation should be done by a certified electrician.
Installation with ground stake
- Make sure the power to the transformer is turned off.

- Position the wire through the stake slot then secure the fixture on the stake.

- With your foot, insert the stake into the ground.

- Rotate the fixture head to the desired orientation.

- Turn the power back on.
Dais Connect
To pair your product, follow the steps on the App
Multiple devices installation
- Unscrew the top end cap to reveal the daisy chain connector inside the tube.

- Remove the stake adapter at the bottom of the (B) fixture.

- Make the connections then stack the (B) fixture on top of the (A) fixture.
![]() | ![]() |
Notice: Loosen the set screws to redirect the fixture.
FCC COMPLIANCE
FCC STATEMENT
- This device complies with Part 15 of the FCC Rules. Operation is subject to the following two conditions: (1) This device may not cause harmful interference, and (2) This device must accept any interference received, including interference that may cause undesired operation.
- Changes or modifications not expressly approved by the party responsible for compliance could void the user’s authority to operate the equipment.
This equipment has been tested and found to comply with the limits for a Class B digital device, pursuant to part 15 of the FCC Rules. These limits are designed to provide reasonable protection against harmful interference in a residential installation. This equipment generates, uses and can radiate radio frequency energy and, if not installed and used in accordance with the instructions, may cause harmful interference to radio communications. However, there is no guarantee that interference will not occur in a particular installation. If this equipment does cause harmful interference to radio or television reception, which can be determined by turning the equipment off and on, the user is encouraged to try to correct the interference by one or more of the following measures:
- Reorient or relocate the receiving antenna.
- Increase the separation between the equipment and receiver.
- Connect the equipment into an outlet on a circuit different from that to which the receiver is connected.
- Consult the dealer or an experienced radio/ TV technician for help.
FCC Radiation Exposure Statement:
This equipment complies with FCC radiation exposure limits set forth for an uncontrolled environment. In order to avoid the possibility of exceeding the FCC radio frequency exposure limits, Human proximity to the antenna shall not be less than 20cm (8 inches) during normal operation
IC COMPLIANCE
CANICES-5(*)/NMB-5(*)
Industry Canada Notice
This device contains licence-exempt transmitter(s)/receiver(s) that comply with Innovation, Science and Economic Development Canada’s licence-exempt RSS(s). Operation is subject to the following two conditions:
- This device may not cause interference.
- This device must accept any interference, including interference that may cause undesired operation of the device
2. Changes or modifications not expressly approved by the party responsible for compliance could void the user’s authority to operate the equipment.
ISED RF Exposure statement
This equipment complies with ISED radiation exposure limits set forth for an uncontrolled environment. In order to avoid the possibility of exceeding the ISED radio frequency exposure limits, Human proximity to the antenna shall not be less than 20cm (7.9 inches) during normal operation
1 877 430 1818
www.dals.com
INS_DCP-SPT6




























