
dals DCP-HUB 6 Inch Smart RGB+CCT Regressed Recessed Light Installation Guide

DCP-HUB
1 877 430 1818 • www.dals.com
Download the free Dais Connect app


ITEMS INCLUDED IN THE BOX


WARRANTY
DALS offers a 5 year warranty from the date of purchase which covers repairs or replacements of defective parts of the housing, optics, and electronics.
To contact DALS customer service call 1 877 430 1818 or send an e-mail to [email protected].
Installation guide
BEFORE YOU START
BEFORE STARTING INSTALLATION, SHUT THE LINE FEED POWER OFF USING THE CIRCUIT BREAKER.
Instructions pertaining to a risk of fire, electric shock or injury to persons. Installation must be done according to local electrical codes. Installation should be done by a certified electrician.
This class B digital apparatus complies with Canadian ICES-003. This digital apparatus does not exceed the Class B limits for radio-noise emissions from digital apparatus as set out in the Radio Interference Regulations of the Canadian Department of Communications.
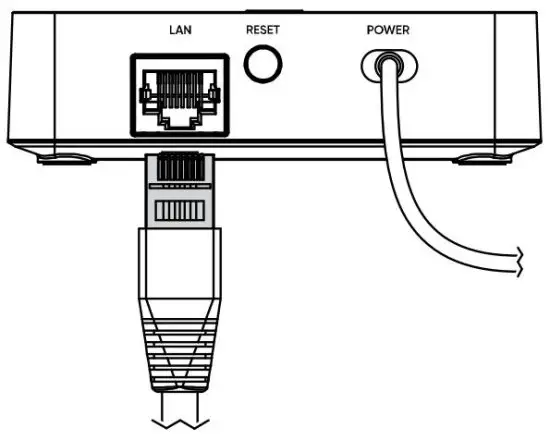
CONNEXION DETAILS
- Connect the power cable to the “POWER” inlet on the hub.

- Insert the power adapter into an electrical outlet.

- At this point, the hub can be manually connected through
Wi-Fi via the app Dais Connect”‘. For a wired connection with your router, we suggest to use the included Ethernet cable. Connect the Ethernet cable into the “LAN” inlet and into one of the LAN port on your router (often marked as 1, 2, 3 or 4).

STARTUP GUIDE
A: Install Ensure the to Dais enable the Connect”‘ Bluetooth app and option follow on the your quick smartphone step by step instructions.


1 877 430 1818
FCC STATEMENT
1. This device complies with Part 15 of the FCC Rules. Operation is subject to the following two conditions:
(1) This device may not cause harmful interference, and
(2) This device must accept any interference received, including interference that may cause undesired operation.
DCP-HU
2. Changes or modifications not expressly approved by the party responsible for compliance could void the user’s authority to operate the equipment.
This equipment has been tested and found to comply with the limits for a Class B digital device, pursuant to part 15 of the FCC Rules. These limits are designed to provide reasonable protection against harmful interference in a residential installation. This equipment generates, uses and can radiate radio frequency energy and, if not installed and used in accordance with the instructions, may cause harmful interference to radio communications.
However, there is no guarantee that interference will not occur in a particular installation. If this equipment does cause harmful interference to radio or te evision reception, which can be determined by turning the equipment off and on, the user is encouraged to try to correct the interference by one or more of the following measures:
- Reorient or relocate the receiving antenna.
- Increase the separation between the equipment and receiver.
- Connect the equipment into an outlet on a circuit different from that to which the receiver is connected.
• Consult the dealer or an experienced radio/ TV technician for help.
FCC RADIATION EXPOSURE STATEMENT
This equipment complies with FCC radiation exposure limits set forth for an uncontrolled environment. In order to avoid the possibility of exceeding the FCC radio frequency exposure limits, Human proximity to the antenna shall not be less than 20cm (8 inches) during normal operation.
INDUSTRY CANADA NOTICE
ICES-003
1. This device contains licence-exempt transmitter(s)/receiver(s) that comply with Innovation, Science and Economic Development
2. Canada’s licence-exempt RSS(s). C)peration is subject to the following two conditions:
(1) This device may not cause interference.
(2) This device must accept any interference, including interference that may cause undesired operation of the device. Changes or modifications not expressly approved by the party responsible for compliance could void the user’s authority to operate the equipment.
ISED RF EXPOSURE STATEMENT
This equipment complies with ISED radiation exposure limits set forth for an uncontrolled environment. In order to avoid the possibility of exceeding the ISED radio frequency exposure limits, Human proximity to the antenna shall not be less than 20cm (7.9 inches) during normal operation.

1 877 430 1818
Read More About This Manual & Download PDF:




















