![]()
MITSUBISHI ELECTRIC MXZ-SM36NAM-U1 Multi-Zone Ductless Heat Pump Condenser

SERVICE PARTS LIST
- MXZ-SM36NAM-U1
- MXZ-SM48NAM-U1
- MXZ-SM60NAM-U1
- MXZ-SM36NAMHZ-U1
- MXZ-SM42NAMHZ-U1
- MXZ-SM48NAMHZ-U1

- The part quantity below indicates the required number of pieces per unit.
- The circled No. indicates that the part is not shown in the figure.
|
No. |
Parts No. |
Parts Name | MXZ-SM36NAM-U1 | MXZ-SM48NAM-U1 | MXZ-SM60NAM-U1 | MXZ-SM36NAMHZ-U1 | MXZ-SM42NAMHZ-U1 | MXZ-SM48NAMHZ-U1 |
Remarks |
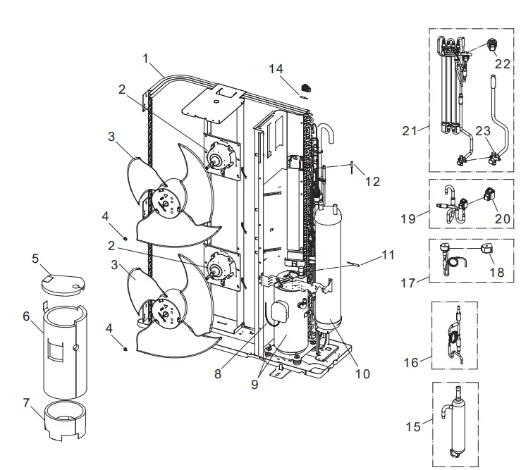
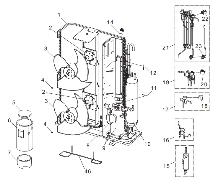
| 1 | R 0 1 E 3 0 6 6 2 | SIDE PANEL (L) | 1 | 1 | 1 | 1 | 1 | 1 | |
| 2 | R 0 1 E 7 3 6 9 1 | WIRE GRILLE | 2 | 2 | 2 | 2 | 2 | 2 | |
| 3 | R 0 1 E 0 5 6 5 5 | HANDLE (FRONT) | 2 | 2 | 2 | 2 | 2 | 2 | |
| 4 | R 0 1 E 2 3 6 6 8 | FRONT PANEL | 1 | 1 | 1 | 1 | 1 | 1 | |
| 5 | T 7 W E 3 5 6 8 6 | BASE ASSY | 1 | 1 | 1 | 1 | 1 | 1 | |
| 6 | T 7 W E 0 5 6 1 7 | CONDUIT PLATE | 1 | 1 | 1 | 1 | 1 | 1 | |
| 7 | R 0 1 E 3 5 6 5 8 | COVER PANEL (FRONT) | 1 | 1 | 1 | 1 | 1 | 1 | |
| 8 | R 0 1 E 3 6 6 5 8 | COVER PANEL (REAR) | 1 | 1 | 1 | 1 | 1 | 1 | |
| 9 | R 0 1 E 0 6 6 5 5 | HANDLE (REAR) | 2 | 2 | 2 | 2 | 2 | 2 | |
| 10 | R 0 1 E 8 1 6 6 1 | SIDE PANEL (R) | 1 | 1 | |||||
| 10 | R 0 1 E 7 4 6 6 1 | SIDE PANEL (R) | 1 | 1 | 1 | 1 | |||
| 11 | T 7 W E 2 8 6 6 8 | SERVICE PANEL | 1 | 1 | |||||
| 11 | T 7 W E 2 4 6 6 8 | SERVICE PANEL | 1 | 1 | 1 | 1 | |||
| 12 | R 0 1 E 3 6 6 4 1 | TOP PANEL | 1 | 1 | 1 | 1 | 1 | 1 | |
| 13 | R 0 1 E 1 0 6 9 8 | REAR GUARD | 1 | 1 | 1 | 1 | 1 | 1 | |
| 14 | R 0 1 E 5 9 1 3 0 | MOTOR SUPPORT | 1 | 1 | 1 | 1 | 1 | ||
| 14 | R 0 1 E 6 0 1 3 0 | MOTOR SUPPORT | 1 | ||||||
| 15 | T 7 W B 0 3 0 0 5 | BRAND LABEL/SM | 1 | 1 | 1 | 1 | 1 | 1 | |
| 16 | T 7 W A 1 0 0 0 5 | LABEL (H2I) | 1 | 1 | 1 |
FUNCTIONAL PARTS
- MXZ-SM36NAM-U1
- MXZ-SM48NAM-U1


- The part quantity below indicates the required number of pieces per unit.
- The circled No. indicates that the part is not shown in the figure.
|
No. |
Parts No. |
Parts Name | MXZ-SM36NAM-U1 | MXZ-SM48NAM-U1 |
Wiring Diagram Symbol |
Remarks | ||
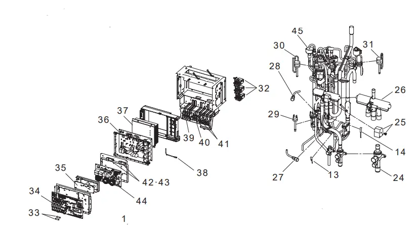
| 1 | R 0 1 | R 6 5 | 4 0 8 | HEAT EXCHANGER | 1 | 1 | ||
| 2 | T 7 W | A 1 0 | 2 2 1 | FAN MOTOR | 2 | 2 | MF1, MF2 | |
| 3 | R 0 1 | E 1 6 | 1 1 5 | PROPELLER FAN/D550 | 2 | 2 | ||
| 4 | R 0 1 | E 1 6 | 0 9 7 | CAP NUT (MEC) M6 | 2 | 2 | ||
| 5 | R 0 1 | A 5 7 | 6 0 2 | COMP FELT (TOP) | 1 | 1 | ||
| 6 | T 7 W | B 0 4 | 6 0 2 | COMP FELT-B/ANB33FN | 1 | 1 | ||
| 7 | R 0 1 | U 0 0 | 6 0 2 | COMP FELT-U/ANB | 1 | 1 | ||
| 8 | R 0 1 | C 1 1 | 5 1 0 | LEAD ASSY COMP | 1 | 1 | ||
| 9 | T 9 7 | 4 7 7 | 0 7 7 | COMPRESSOR | 1 | 1 | MC | ANB33FNHMT Includes RUBBER MOUNT |
| 10 | R 0 1 | E 8 1 | 4 4 0 | ACCUMULATOR | 1 | 1 | ||
| 11 | R 0 1 | E 3 6 | 2 0 1 | THERMISTOR/SHELL | 1 | 1 | TH4 (Compressor) | |
| 12 | R 0 1 | H 8 7 | 2 0 2 | THERMISTOR | 1 | 1 | TH3 (Outdoor Liquid Pipe) | |
| 13 | R 0 1 | M 3 0 | 2 0 2 | THERMISTOR | 1 | 1 | TH2 (HIC Pipe) | |
| 14 | R 0 1 | M 3 1 | 2 0 2 | THERMISTOR W | 1 | 1 | TH6 (Suction Pipe) TH7 (Ambient) | Combined Port |
| 15 | R 0 1 | E 1 6 | 4 9 0 | OIL SEPARATOR | 1 | 1 | ||
| 16 | R 0 1 | E 0 2 | 4 2 6 | CT ASSY | 1 | 1 | ||
| 17 | T 7 W | E 1 1 | 4 2 8 | SV1 ASSY | 1 | 1 | SV1 | |
| 18 | T 7 W | E 9 1 | 2 4 2 | SOLENOID COIL (SV) | 1 | 1 | SV1 | Includes SCREW |
| 19 | R 0 1 | R 2 7 | 4 0 1 | LEV ASSY-A | 1 | 1 | LEV-A | |
| 20 | R 0 1 | H R 1 | 2 4 2 | COIL (LEV)/XAP-5P WH | 1 | 1 | LEV-A | |
| 21 | T 7 W | B 0 7 | 4 0 1 | HIC & LEV-B ASSY | 1 | 1 | LEV-B | |
| 22 | R 0 1 | H 5 8 | 2 4 2 | COIL (LEV)/XAP-5P RED | 1 | 1 | LEV-B | |
| 23 | T 7 W | E 1 5 | 4 1 0 | STOP VALVE ASSY-3/8F | 1 | 1 | 3/8 | |
| 24 | T 7 W | E 1 1 | 4 1 1 | BALL VALVE & STRAINER | 1 | 1 | 5/8 | |
| 25 | T 7 W | F 0 0 | 2 4 2 | SOLENOID COIL (21S4) | 1 | 1 | 21S4 | Includes SCREW |
| 26 | R 0 1 | E 4 0 | 4 0 3 | 4WAY VALVE | 1 | 1 | 21S4 | |
| 27 | T 7 W | E 1 3 | 4 1 3 | CHARGE PLUG/LB54 | 1 | 1 | Lo | |
| 28 | R 0 1 | E 1 2 | 4 1 3 | CHARGE PLUG/LB90 | 1 | 1 | Hi | |
| 29 | T 7 W | E 1 5 | 2 0 8 | H. P. SWITCH UL4.14MPA | 1 | 1 | 63H | |
| 30 | R 0 1 | E 1 4 | 2 0 8 | H. P. SENSOR | 1 | 1 | 63HS | |
| 31 | R 0 1 | E 0 4 | 2 0 9 | LOW PRESSURE SENSOR | 1 | 1 | 63LS | |
| 32 | R 0 1 | E 5 6 | 2 5 9 | REACTOR | 3 | 3 | DCL | |
| 33 | R 0 1 | E 1 4 | 2 3 9 | FUSE 6.3A 250V | 2 | 2 | F1, F2 | 6.3 A 250 V |
| 34 | R 0 1 | M 1 1 | 3 5 0 | CONTROLLER BOARD | 1 | 1 | MULTI.B. | |
| 35 | R 0 1 | E 0 7 | 3 1 1 | M-NET POWER BOARD | 1 | 1 | M-NET P.B. | |
| 36 | R 0 1 | M 0 5 | 3 5 3 | POWER BOARD | 1 | 1 | P.B. | |
| 37 | R 0 1 | A 2 2 | 3 7 1 | HEAT SINK | 1 | 1 | Includes SCREWS | |
| 38 | R 0 1 | M 1 3 | 2 0 2 | THERMISTOR (HS) | 1 | 1 | TH8 (Heat Sink) | |
| 39 | T 7 W | 6 0 3 | 2 4 6 | T.B./L1.L2.GR | 1 | 1 | TB1 | 3P (L1, L2, GR) |
| 40 | T 7 W | E 5 7 | 7 1 6 | T.B./B1.B2 | 1 | 1 | TB1B | 2P (B1, B2) |
| 41 | R 0 1 | E 2 7 | 2 4 6 | T.B./M1.M2.S | 2 | 2 | TB3, TB7 | 3P (M1, M2, S) |
| 42 | R 0 1 | E 2 0 | 2 3 9 | FUSE 20 A 250 V | 2 | 2 | FUSE1, 2 | 20 A 250 V |
| 43 | R 0 1 | 3 0 L | 2 4 1 | FUSE HOLDER | 2 | 2 | ||
- MXZ-SM60NAM-U1


- The part quantity below indicates the required number of pieces per unit.
- The circled No. indicates that the part is not shown in the figure.
|
No. |
Parts No. |
Parts Name | MXZ-SM60NAM-U1 |
Wiring Diagram Symbol |
Remarks | ||
| 1 | R 0 1 | H 6 6 | 4 0 8 | HEAT EXCHANGER | 1 | ||
| 2 | T 7 W | A 1 2 | 2 2 1 | FAN MOTOR | 2 | MF1, MF2 | |
| 3 | R 0 1 | E 1 6 | 1 1 5 | PROPELLER FAN/D550 | 2 | ||
| 4 | R 0 1 | E 1 6 | 0 9 7 | CAP NUT (MEC) M6 | 2 | ||
| 5 | R 0 1 | T 1 1 | 6 0 2 | COMP FELT-TOP/ANB | 1 | ||
| 6 | T 7 W | B 0 5 | 6 0 2 | COMP FELT-B/ANB52 | 1 | ||
| 7 | R 0 1 | U 0 0 | 6 0 2 | COMP FELT-U/ANB | 1 | ||
| 8 | R 0 1 | C 1 2 | 5 1 0 | LEAD ASSY COMP | 1 | ||
| 9 | T 9 7 | 4 7 9 | 0 7 7 | COMPRESSOR | 1 | MC | ANB52FYDMT Includes RUBBER MOUNT |
| 10 | R 0 1 | H 6 7 | 4 4 0 | ACCUMULATOR | 1 | ||
| 11 | R 0 1 | E 3 6 | 2 0 1 | THERMISTOR/SHELL | 1 | TH4 (Compressor) | |
| 12 | R 0 1 | H 8 7 | 2 0 2 | THERMISTOR | 1 | TH3 (Outdoor Liquid Pipe) | |
| 13 | R 0 1 | M 3 0 | 2 0 2 | THERMISTOR | 1 | TH2 (HIC Pipe) | |
| 14 | R 0 1 | M 3 1 | 2 0 2 | THERMISTOR W | 1 | TH6 (Suction Pipe) TH7 (Ambient) | Combined Port |
| 15 | R 0 1 | E 1 4 | 4 9 0 | OIL SEPARATOR | 1 | ||
| 16 | R 0 1 | C 0 0 | 4 2 6 | CT ASSY | 1 | ||
| 17 | T 7 W | E 1 2 | 4 2 8 | SV1 ASSY | 1 | SV1 | |
| 18 | T 7 W | E 9 1 | 2 4 2 | SOLENOID COIL (SV) | 1 | SV1 | Includes SCREW |
| 19 | T 7 W | H 6 1 | 4 0 1 | LEV ASSY-A/C-HIC | 1 | LEV-A | |
| 20 | R 0 1 | H 3 9 | 2 4 2 | COIL (LEV)/XAP-5P WH | 1 | LEV-A | |
| 21 | T 7 W | B 0 8 | 4 0 1 | HIC & LEV-B ASSY | 1 | LEV-B | |
| 22 | R 0 1 | H 5 8 | 2 4 2 | COIL (LEV)/XAP-5P RED | 1 | LEV-B | |
| 23 | T 7 W | E 1 6 | 4 1 0 | STOP VALVE ASSY-3/8F | 1 | 3/8 | |
| 24 | T 7 W | E 1 3 | 4 1 1 | BALL VALVE & STRAINER | 1 | 3/4 | |
| 25 | T 7 W | F 0 0 | 2 4 2 | SOLENOID COIL (21S4) | 1 | 21S4 | Includes SCREW |
| 26 | T 7 W | E 0 9 | 4 0 3 | 4WAY VALVE | 1 | 21S4 | |
| 27 | R 0 1 | E 1 2 | 4 1 3 | CHARGE PLUG/LB90 | 1 | Lo | |
| 28 | R 0 1 | E 1 2 | 4 1 3 | CHARGE PLUG/LB90 | 1 | Hi | |
| 29 | T 7 W | E 1 5 | 2 0 8 | H. P. SWITCH UL4.14MPA | 1 | 63H | |
| 30 | R 0 1 | E 1 4 | 2 0 8 | H. P. SENSOR | 1 | 63HS | |
| 31 | R 0 1 | E 0 4 | 2 0 9 | LOW PRESSURE SENSOR | 1 | 63LS | |
| 32 | R 0 1 | E 5 6 | 2 5 9 | REACTOR | 3 | DCL | |
| 33 | R 0 1 | E 1 4 | 2 3 9 | FUSE 6.3A 250V | 2 | F1, F2 | 6.3 A 250 V |
| 34 | T 7 W | M 2 9 | 3 1 5 | CONTROLLER BOARD | 1 | MULTI.B. | |
| 35 | R 0 1 | E 0 7 | 3 1 1 | M-NET POWER BOARD | 1 | M-NET P.B. | |
| 36 | T 7 W | M 0 1 | 3 2 3 | POWER BOARD | 1 | P.B. | |
| 37 | R 0 1 | A 2 3 | 3 7 1 | HEAT SINK | 1 | Includes SCREWS | |
| 38 | R 0 1 | M 1 6 | 2 0 2 | THERMISTOR (HS) | 1 | TH8 (Heat Sink) | |
| 39 | T 7 W | 6 0 3 | 2 4 6 | T.B./L1.L2.GR | 1 | TB1 | 3P (L1, L2, GR) |
| 40 | T 7 W | E 5 7 | 7 1 6 | T.B./B1.B2 | 1 | TB1B | 2P (B1.B2) |
| 41 | R 0 1 | E 2 7 | 2 4 6 | T.B./M1.M2.S | 2 | TB3, TB7 | 3P (M1, M2, S) |
| 42 | R 0 1 | E 2 0 | 2 3 9 | FUSE 20 A 250 V | 2 | FUSE1, 2 | 20 A 250 V |
| 43 | R 0 1 | 3 0 L | 2 4 1 | FUSE HOLDER | 2 | ||
| 44 | T 7 W | E 3 9 | 3 4 6 | NOISE FILTER | 1 | N.F. | |
- MXZ-SM36NAMHZ-U1
- MXZ-SM42NAMHZ-U1
- MXZ-SM48NAMHZ-U1


- The part quantity below indicates the required number of pieces per unit.
- The circled No. indicates that the part is not shown in the figure.
|
No. |
Parts No. |
Parts Name | MXZ-SM36NAMHZ-U1 | MXZ-SM42NAMHZ-U1 | MXZ-SM48NAMHZ-U1 |
Wiring Diagram Symbol |
Remarks | ||
| 1 | R 0 1 | R 6 5 | 4 0 8 | HEAT EXCHANGER | 1 | 1 | 1 | ||
| 2 | T 7 W | A 1 0 | 2 2 1 | FAN MOTOR | 2 | 2 | 2 | MF1, MF2 | |
| 3 | R 0 1 | E 1 6 | 1 1 5 | PROPELLER FAN/D550 | 2 | 2 | 2 | ||
| 4 | R 0 1 | E 1 6 | 0 9 7 | CAP NUT (MEC) M6 | 2 | 2 | 2 | ||
| 5 | R 0 1 | A 5 7 | 6 0 2 | COMP FELT (TOP) | 1 | 1 | 1 | ||
| 6 | T 7 W | B 0 3 | 6 0 2 | COMP FELT-B/ANB33FJ | 1 | 1 | 1 | ||
| 7 | R 0 1 | U 0 0 | 6 0 2 | COMP FELT-U/ANB | 1 | 1 | 1 | ||
| 8 | R 0 1 | C 1 3 | 5 1 0 | LEAD ASSY COMP | 1 | 1 | 1 | ||
| 9 | T 9 7 | 4 4 3 | 0 7 7 | COMPRESSOR | 1 | 1 | 1 | MC | ANB33FJSMT Includes RUBBER MOUNT |
| 10 | R 0 1 | E 8 1 | 4 4 0 | ACCUMULATOR | 1 | 1 | 1 | ||
| 11 | R 0 1 | E 3 6 | 2 0 1 | THERMISTOR/SHELL | 1 | 1 | 1 | TH4 (Compressor) | |
| 12 | R 0 1 | H 8 7 | 2 0 2 | THERMISTOR | 1 | 1 | 1 | TH3 (Outdoor Liquid Pipe) | |
| 13 | R 0 1 | M 3 0 | 2 0 2 | THERMISTOR | 1 | 1 | 1 | TH2 (HIC Pipe) | |
| 14 | R 0 1 | M 3 1 | 2 0 2 | THERMISTOR W | 1 | 1 | 1 | TH6 (Suction Pipe) TH7 (Ambient) | Combined Port |
| 15 | R 0 1 | E 1 6 | 4 9 0 | OIL SEPARATOR | 1 | 1 | 1 | ||
| 16 | R 0 1 | E 0 2 | 4 2 6 | CT ASSY | 1 | 1 | 1 | ||
| 17 | T 7 W | E 1 1 | 4 2 8 | SV1 ASSY | 1 | 1 | 1 | SV1 | |
| 18 | T 7 W | E 9 1 | 2 4 2 | SOLENOID COIL (SV) | 1 | 1 | 1 | SV1 | Includes SCREW |
| 19 | R 0 1 | R 2 7 | 4 0 1 | LEV ASSY-A | 1 | 1 | 1 | LEV-A | |
| 20 | R 0 1 | H R 1 | 2 4 2 | COIL (LEV)/XAP-5P WH | 1 | 1 | 1 | LEV-A | |
| 21 | T 7 W | B 0 9 | 4 0 1 | HIC & LEV-B ASSY | 1 | 1 | 1 | LEV-B | |
| 22 | R 0 1 | H 5 8 | 2 4 2 | COIL (LEV)/XAP-5P RED | 1 | 1 | 1 | LEV-B | |
| 23 | T 7 W | E 1 5 | 4 1 0 | STOP VALVE ASSY-3/8F | 1 | 1 | 1 | 3/8 | |
| 24 | T 7 W | E 1 1 | 4 1 1 | BALL VALVE & STRAINER | 1 | 1 | 1 | 5/8 | |
| 25 | T 7 W | F 0 0 | 2 4 2 | SOLENOID COIL (21S4) | 1 | 1 | 1 | 21S4 | Includes SCREW |
| 26 | R 0 1 | E 4 0 | 4 0 3 | 4WAY VALVE | 1 | 1 | 1 | 21S4 | |
| 27 | T 7 W | E 1 3 | 4 1 3 | CHARGE PLUG/LB54 | 1 | 1 | 1 | Lo | |
| 28 | R 0 1 | E 1 2 | 4 1 3 | CHARGE PLUG/LB90 | 1 | 1 | 1 | Hi | |
| 29 | T 7 W | E 1 5 | 2 0 8 | H. P. SWITCH UL4.14MPA | 1 | 1 | 1 | 63H | |
| 30 | R 0 1 | E 1 4 | 2 0 8 | H. P. SENSOR | 1 | 1 | 1 | 63HS | |
| 31 | R 0 1 | E 0 4 | 2 0 9 | LOW PRESSURE SENSOR | 1 | 1 | 1 | 63LS | |
| 32 | R 0 1 | E 5 6 | 2 5 9 | REACTOR | 3 | 3 | 3 | DCL | |
| 33 | R 0 1 | E 1 4 | 2 3 9 | FUSE 6.3A 250V | 2 | 2 | 2 | F1, F2 | 6.3 A 250 V |
| 34 | R 0 1 | M 1 1 | 3 5 0 | CONTROLLER BOARD | 1 | 1 | 1 | MULTI.B. | |
| 35 | R 0 1 | E 0 7 | 3 1 1 | M-NET POWER BOARD | 1 | 1 | 1 | M-NET P.B. | |
| 36 | T 7 W | M 0 1 | 3 2 3 | POWER BOARD | 1 | 1 | 1 | P.B. | |
| 37 | R 0 1 | A 2 3 | 3 7 1 | HEAT SINK | 1 | 1 | 1 | Includes SCREWS | |
| 38 | R 0 1 | M 1 6 | 2 0 2 | THERMISTOR (HS) | 1 | 1 | 1 | TH8 (Heat Sink) | |
| 39 | T 7 W | 6 0 3 | 2 4 6 | T.B./L1.L2.GR | 1 | 1 | 1 | TB1 | 3P (L1, L2, GR) |
| 40 | T 7 W | E 5 7 | 7 1 6 | T.B./B1.B2 | 1 | 1 | 1 | TB1B | 2P (B1, B2) |
| 41 | R 0 1 | E 2 7 | 2 4 6 | T.B./M1.M2.S | 2 | 2 | 2 | TB3, TB7 | 3P (M1, M2, S) |
| 42 | R 0 1 | E 2 0 | 2 3 9 | FUSE 20 A 250 V | 2 | 2 | 2 | FUSE1, 2 | 20 A 250 V |
| 43 | R 0 1 | 3 0 L | 2 4 1 | FUSE HOLDER | 2 | 2 | 2 | ||
| 44 | T 7 W | E 3 9 | 3 4 6 | NOISE FILTER | 1 | 1 | 1 | N.F. | |
| 45 | T 7 W | E 7 2 | 2 4 2 | SOLENOID COIL (SV) | 1 | 1 | 1 | SV2 | Includes SCREW |
| 46 | T 7 W | B 0 3 | 3 0 0 | BASE HEATER | 1 | 1 | 1 | BH, THP | |
OPTIONAL PARTS
| Parts name | Parts No. |
| AIR OUTLET GUIDE*1 | PAC-SH96SG-E |
| DRAIN SOCKET *2 | PAC-SG61DS-E |
| CENTRALIZED DRAIN PAN*2 | PAC-SH97DP-E |
| DEFROST HEATER | PAC-SJ20BH-E |
| 2 BRANCH PIPE (Joint) | CMY-Y62-G-E |
| 4 BRANCH PIPE (Joint) | CMY-Y64-G-E |
| 8 BRANCH PIPE (Joint) | CMY-Y68-G-E |
|
JOINT PIPE (Unit → Extension pipe) | MAC-A454JP-E (ø3/8 [9.52] → ø1/2 [12.7]) |
| PAC-SG76RJ-E (ø3/8 [9.52] → ø5/8 [15.88]) | |
| PAC-SG75RJ-E (ø5/8 [15.88] → ø3/4 [19.05])*3 | |
| PAC-493PI (ø1/4 [6.35] → ø3/8 [9.52]) | |
| MAC-A456JP-E (ø1/2 [12.7] → ø5/8 [15.88]) | |
| EXTERNAL LEV BOX | PAC-SG95LE-E |
- Need 2 pieces
- Only for MXZ-SM36/48/60NAM model It can not be used with DEFROST HEATER.
- Only for MXZ-SM60
HEAD OFFICE: TOKYO BUILDING, 2-7-3, MARUNOUCHI, CHIYODA-KU, TOKYO 100-8310, JAPAN
©Copyright 2021 MITSUBISHI ELECTRIC CORPORATION
Issued: Jul. 2022 No. OCB789 REVISED EDITION-A
Published: Nov. 2021 No. OCB789
Made in Japan
















