Dettson SMD09KCHVS-I Ductable Unit Multizone
Heat Pump Owner's Manual

Please read this owner’s manual carefully before operating the unit and keep it for future reference.
OPERATION NOTICES
EXPLANATION OF SYMBOLS
DANGER
Indicates a hazardous situation that, if not avoided, will result in serious injury or death.
WARNING
Indicates a hazardous situation that, if not avoided, could result in serious injury or death.
CAUTION
Indicates a hazardous situation that, if not avoided, may result in minor or moderate injury
Indicates important but not hazard-related information, used to indicate risk of property damage.
Indicates a hazard and it is assigned to the signal words DANGER, WARNING or CAUTION.
USER NOTICE
- The total capacity of the indoor units running at the same time cannot exceed 150% of the outdoor unit capacity. Otherwise, the cooling or heating effect of each indoor unit will be poor.
- To ensure a successful startup, switch the main power on 8 hours before powering on the unit.
- After receiving the “Off” signal, each indoor unit will continue to operate for 20 to 70 seconds to use the remaining cool or warm air in the air exchanger while preparing for the next operation. This is normal.
- When the operating mode of the indoor unit is in conflict with that of the outside unit, a malfunction light will blink for 5 seconds on the indoor unit display or on the controller to warn the user. Then the indoor unit will stop. Change the operating mode of the indoor unit to match that of the outdoor unit or with a compatible mode. COOL mode is compatible with DRY mode and FAN mode is compatible with all operating modes.
- If the supply power fails when the unit is running, the indoor unit will send the “start” signal to the outdoor unit three minutes after power recovery.
- This appliance is not intended for use by people (including children) with reduced physical, sensory or mental capabilities, or lack of experience and knowledge, unless they are under the supervision or instruction concerning use of the appliance by a person responsible for their safety. Children should be supervised to ensure that they do not play with the appliance.
- This product must not be disposed together with the domestic waste. This product has to be disposed at an authorized place for recycling of electrical and electronic appliances.
PRECAUTIONS
WARNING
Operation and Maintenance
- This appliance can be used by people (including children of 8 years old and above) with reduced physical, sensory or mental capabilities, or lack of experience and knowledge, as long as they are under the supervision or instruction concerning use of the appliance by a person responsible for their safety.
- Children shall not play with the appliance.
- Cleaning and user maintenance shall not be made by children.
- Do not connect to multi-purpose socket. Otherwise, it may cause fire hazard.
- Disconnect power supply when cleaning. Otherwise, it may cause electric shock.
- If the power supply wire is damaged, it must be replaced by a qualified person in order to avoid a hazard.
- Do not wash with water to avoid electric shock.
- Do not spray water on indoor unit. It may cause electric shock or malfunction.
- After removing the filter, do not touch fins to avoid injury.
- Do not use fire or hair dryer to dry the filter to avoid deformation or fire hazard.
- Do not operate this unit with wet hands.
- Maintenance must be performed by qualified person. Otherwise, it may cause personal injury or damage.
- Do not repair the appliance by yourself. It may cause electric shock or damage. Please contact a qualified person when you need to repair it.
- Do not extend fingers or objects into air inlet or air outlet. It may cause personal injury or damage.
- Do not block air outlet or air inlet. It may cause malfunction.
- When below phenomenon occurs, please turn off the appliance and disconnect power immediately, and then contact a qualified person for service:
– There’s abnormal sound during operation.
– Circuit break trips off frequently.
– The appliance gives off burning smell.
– Indoor unit is leaking. - Do not use or place any flammable, combustible or noxious substance next to the unit.
- If the appliance operates in an inappropriate environment or under abnormal conditions, it may cause malfunction, electric shock or fire hazard.
- Keep good ventilation in the room to avoid oxygen deficit.
- Do not step on top panel of outdoor unit, or put on heavy objects. It may cause damage or personal injury.
- When the unit is not to be used for a long time, please cut off the main power supply of the unit.
- Before turning the unit off, make sure it has run for a minimum of 5 minutes; otherwise its service life will be shortened.
WARNING
Wiring
- Installation must be performed by a qualified person. Otherwise, it may cause personal injury or damage.
- Must follow the electric safety regulations when installing the unit.
- According to the local safety regulations, use qualified power supply circuit and circuit breaker.
- Install a circuit breaker of adequate capacity only used for the system; otherwise, it may cause malfunction.
- An all-pole disconnection switch having a contact separation of at least 3 mm in all poles should be connected in fixed wiring.
- The appliance should be properly grounded. Incorrect grounding may cause electric shock.
- Make sure the power supply matches with the requirement of the appliance. Unstable power supply or incorrect wiring may cause malfunction of the unit, electric shock or fire hazard.
- Properly connect the live wire, neutral wire and grounding wire.
- Be sure to cut off the power supply before proceeding any work related to electricity and safety.
- Do not turn the power on before finishing installation.
- If the power supply or signal control wires are damaged, it must be replaced by a qualified person in order to avoid problems.
- During installation, the communication cable and the power cord must not be twisted together but instead separated with an interval of at least 2 cm, otherwise the unit is likely to run abnormally.
- The temperature of refrigerant circuit will be high, please keep the interconnection cable away from the copper tube.
- The appliance shall be installed in accordance with national wiring regulations.
- Installation must be performed in accordance with the requirement of NEC and CEC by a qualified person only.
- The heat pump is a first class electric appliance. It must be properly grounded with specialized grounding device by a qualified person. Please make sure it is always properly grounded, otherwise it may cause electric shock.
- The yellow-green wire in the appliance is the grounding wire, which can’t be used for other purposes.
- The grounding resistance should comply with national electric safety regulations.
- All wires of indoor unit and outdoor unit should be connected by a qualified person.
- If the length of power connection wire is insufficient, please contact the dealer for a new one. Do not extend the wire yourself.
- After the electrical installation, take an electric leakage test.
WARNING
Location
- If you need to relocate the appliance to another place, only a qualified person can perform the work. Otherwise, it may cause personal injury or damage.
- Select a location which is out of reach for children and far away from animals or plants. If it is unavoidable, please add a fence around the outdoor unit for safety purpose.
- The location should be able to withstand the weight of the unit. Otherwise, the unit will fall and it may cause injury or death.
- Instructions for installation and use of this product are provided by the manufacturer.
WORKING TEMPERATURE RANGE

PREPARATION BEFORE INSTALLATION
OUTLINE DIMENSIONS OF INDOOR UNIT

REQUIRED INSTALLATION CLEARANCE DISTANCES DIAGRAM

SELECTION OF INSTALLATION LOCATION
Basic requirements
Installing the unit in the following places may cause malfunction. If it is unavoidable, please consult a qualified person:
- A place with strong heat sources, vapors, flammable or explosive gas or volatile objects spread in the air.
- A place with high-frequency devices (such as welding machine, medical equipment).
- A place near coastal regions.
- A place with oil or fumes in the air.
- A place with sulphurous gas.
- Other places with special environment.
- In a laundry room, near a bath, shower or swimming pool.
Note:
The power cords and connection lines of the indoor and outdoor units must be at least 3.3 ft. (1 m) away from the TV set or radio to avoid image interference and noise ( even if the clearance distance is kept, noise may be produced due to strong electromagnetic wave).
Indoor unit
- This unit should be recessed mounted in the ceiling.
- There should be no obstruction near air inlet and air outlet.
- Select a location where the drain pipe can be easily connected to the outside.
- Select a location which is convenient to connect the outdoor unit and which is the closest possible to the power supply.
- The location and hanger should be able to withstand the weight of indoor unit and will not increase noise and vibration.
- Make sure that the installation follows the requirement of clearance distance diagram.
- Do not install the indoor unit right above an electric appliance.
- The indoor unit should not be exposed to direct sunlight.
- Please try your best to keep the unit away from fluorescent lamps.
REQUIREMENTS FOR ELECTRICAL CONNECTION
Safety precautions
- You must follow the electric safety regulations when installing the unit.
- According to the local safety regulations, use qualified power supply circuit and circuit break.
- Make sure the power supply matches with the requirement of the device. Unstable power supply or incorrect wiring may cause malfunction and damage the unit or fire hazard.
- Properly connect the live wire, neutral wire and grounding wire.
- Cut off the power supply before proceeding any work related to electricity.
- Do not turn on the power before finishing installation.
- The temperature of refrigerant circuit will be high, please keep the interconnection cable away from the copper tube.
- The appliance shall be installed in accordance with national wiring regulations.
Grounding requirements
- The heat pump is a first class electric appliance. It must be properly grounded by a qualified person with specialized grounding device. Please make sure it is always grounded effectively, otherwise it may cause electric shock.
- The yellow-green wire in the appliance is the grounding wire, which cannot be used for other purposes.
- The grounding resistance should comply with national electric safety regulations.
- An all-pole disconnect switch having a contact separation of at least 3mm in all poles should be connected in fixed wiring.
INSTALLATION
INSTALLATION OF INDOOR UNIT
CAUTION
Installation must be performed in accordance with the NEC/CEC by authorized personnel only.
Prior to the installation of the indoor unit, make a good preparation for all piping (refrigerant pipe, drain pipe) and wiring (wires of the wired controller, wires between the indoor and outdoor unit) to make the further installation steps much easier.
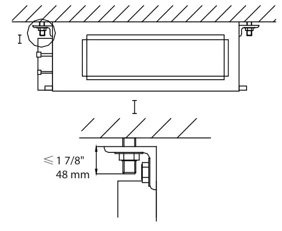
Step 1: Install hangers

Insert the M10 expansion bolt into the hole, and then knock the nail into the bolt.
Refer to the “Outline dimensions of indoor unit” section for the distance between holes and to opposite drawing for installation of the expansion bolts.
Step 2: Install the hangers on the indoor unit

Step 3: Install the indoor unit on the ceiling


- If there is an opening in the ceiling, it is best to reinforce it to keep the unit flat and prevent it from vibrating.
- If the ceiling is not strong enough to withstand the weight of indoor unit, a beam made of iron angles can be used to fix the unit.
- If the indoor unit is not installed in the air conditioning area, please use sponge around the unit to prevent condensing. The thickness of the sponge depends on the actual installation environment.
Step 4: Horizontality check
After the installation of the indoor unit, its horizontality must be checked to make sure the unit keep horizontal fore and aft and keep an inclination of 5° toward the drain pipe right and left, as shown below.

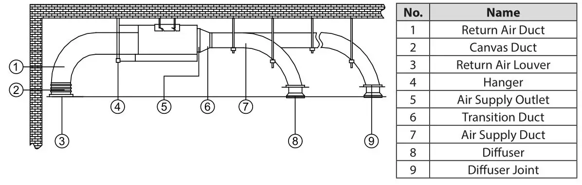
INSTALLATION OF AIR SUPPLY DUCT
A) Rectangular air supply duct

B) Round air supply duct

- Preinstall the outlet of the round duct on the transition duct and then fix it with the tapping screw.
- Place the transition duct to the air outlet of the unit and fix it with rivets.
- Connect the outlet to the duct and then tighten them with tape. Other installation details are not covered herein.
CAUTION
- The maximum length of the duct means the maximum length of the air supply duct plus the maximum length of the return air duct.
- For the unit with the auxiliary electric heating function, if the round duct is to be adopted, then the straight length of the transition duct cannot be less than 7 7/8 in. (200 mm).
- The duct is either rectangular or round and connected with the air inlet/outlet of the indoor unit. Among all air supply outlets, at least one should be kept open. As for the round duct, it needs a transition duct of which size should match with the air supply outlet of the unit. After the fitting of the transition duct, it is the turn of the round duct, which is better to be kept 32.8 ft. (10 m) away from the corresponding diffuser. The standard accessories supplied by the manufacturer is the transition duct 7 7/8 in. (200 mm) long and round air outlet φ7 7/8 in. (200 mm). However, accessories with other specifications can be purchased from your local dealer.
DRAWINGS OF THE AIR SUPPLY OUTLET AND RETURN AIR INLET

INSTALLATION OF RETURN AIR DUCT

- The default installation location of the rectangular flange is in the back and the return air cover plate is in the bottom, as shown on the opposite image.
- If the downward return air is desired, just change the place of the rectangular flange and the return air cover plate.
- Using rivets, connect one end of the return air duct to the return air outlet of the unit and the other end to the return air louver.
- To facilitate height adjustment, you may cut the canvas duct. Fold it and reinforce it using #8 iron wire.
- More noise is likely to be produced in the downward return air mode than the backward return air mode. It is recommended that you install a muffler and a plenum box to minimize the noise level.
- The installation method can be chosen by taking into consideration the building conditions and maintenance as shown on image next page.

INSTALLATION OF CONDENSATE PIPE

- The condensate pipe should keep an inclination angle of 5 to 10 ° to facilitate the drainage of the condensate water.
- The joints of the condensate pipe should be insulated to prevent condensing, as shown on opposite image.
- There is a condensate outlet on both left and right sides of the unit. Once one is confirmed to be used, the other should be clogged by a rubber plug, bundled by the binding wire and insulated by the insulation material to avoid water leakage.
- The outlet on the right side is defaulted to be clogged with a plug.
CAUTION
No water leakage is allowed on the joint of the condensate pipe.
DESIGN OF DRAIN PIPE
- The drain pipe should always keep an inclination angle (1/50 to 1/100) to avoid water gathering in some places.
- Do not impose too much force on the drain pipe during installation.
- The drain pipe should be installed as close as possible to the device.
- The drain pipe can be standard hard PVC pipe which can be purchased locally. During the connection, insert the end of the PVC pipe to the drain outlet, then tighten it with the drain hose and binding wire.
Never connect the drain outlet and the drain hose with adhesive tape.
- When the drain pipe is used with multiple devices, the shared section of the pipe should be 4 in. (100 mm) lower than the drain hole of each device. It is also recommended to use thicker pipe for such a purpose.
INSTALLATION OF DRAIN PIPE

- The diameter of the drain pipe should be larger than or equal to that of the refrigerant pipe. (PVC pipe, outer diameter: 1 in. (25 mm), wall thickness ≥ 1/16 in. (1.5 mm)).
- The drain pipe should be as short as possible and have a slope of 1/100 degree minimum to avoid air pockets formation.
- If the installation do not allow proper drain pipe slope, a lift pipe should be installed.
- A distance of 3.3 to 4.9 ft. (1 to 1.5 m) should be kept between the hangers to avoid curves in the drain hose.
- Insert the drain hose into the drain hole and tighten it with clamps.
- Wrap the clamps with a large amount of sponge for thermal insulation.
- The drain hose inside the room should also be insulated.

PRECAUTIONS FOR LIFT PIPE
The installation height of the lift pipe should be less than 33 ½ in. (850 mm). It is recommended to set an inclination angle of 1° to 2° for the lift pipe toward the drainage direction. If the lift pipe and the unit form a right angle, the height of the lift pipe must be less than 31 ½ in. (800 mm).

Notes:
- The inclination height of the drain hose should be within 3 in. (75 mm) so that the outlet of the drain hose does not suffer from external force.
- If multiple drain pipes converge, follow the installation steps below.

TEST OF DRAINAGE SYSTEM
- After the electric installation, please take a test for the drainage system.
- During the test, check if the water flow goes through the pipe correctly and observe carefully the joint to see if it leaks or not. If this unit is installed in the newly built house, it is suggested to take this test prior to the ceiling decoration.
PIPING

- Aim the pipe joint at the corresponding bell mouth.
- Pre-tighten the union nut with hand.
- Place the open-end wrench on the pipe joint and place the torque wrench on the union nut. Tighten the union nut with torque wrench. Adjust the torque force by referring to the following table.
- Wrap the indoor pipe and joint of connection pipe with insulating pipe, and then wrap it with tape.
CAUTION
- During the connection of the indoor unit and the refrigerant pipe, never pull any joints of the indoor unit by force; otherwise the capillary pipe or other pipes may crack, which would result in leakage.
- The refrigerant pipe should be supported by brackets. Do not let the unit withstand the weight of it.
- If the pipe diameter of the outdoor unit doesn’t match the piping connection size of the indoor unit, use the piping connection size of the indoor unit and add the adaptor supplied with the indoor unit.
- The bending degree of the pipe cannot be too small; otherwise it will crack.
- Use a pipe tube bender to bend the pipe.
INSULATION OF REFRIGERANT PIPE

- The refrigerant pipe should be insulated with insulating material and wrapped with tape in order to prevent condensation and water leakage.
- The joints of the indoor unit should be wrapped with insulating material and no gap is allowed as shown opposite.
- Wrap the pipe with tape.
- Bundle the refrigerant pipe and electric wire together with tape, and separate them from the drain pipe to prevent the condensate water overflowing.
- Wrap the pipe from the bottom of the outdoor unit to the top of the pipe where it enters the wall.
During the wrapping, the later circle should cover half of the former one. - Fix the wrapped pipe on the wall with clamps.
- Stuff the gap between pipes and wall hole with sealing gum.
CAUTION
- Once the pipe is well insulated, never bend it to a small angle. Otherwise it will crack.
- Do not wrap the pipe too tightly; otherwise the insulation effect would be weakened.
- Make sure the drain pipe is separated from the refrigerant pipe.
WIRING BETWEEN THE WIRE AND THE WIRING TERMINAL
A) Wiring of the single-core wire
- Strip the insulating layer at the end of the wire about 1 in. (25 mm) off with a wire striper.
- Loosen the screw off on the wiring board of the air conditioning unit.
- Shape with the pliers at the end of the wire to a circle matching with the size of the screw.
- Let the screw go through the circle of the wire and then fix it on the wiring board.
B) Wiring of the multi-core wire
- Strip the insulating layer at the end of the wire about 10 mm off with a wire striper.
- Loosen the screw off on the wiring board of the air conditioning unit.
- Fix a wiring terminal matching with the size of the screw to the end of the multi-core wire with the crimpling pliers.
- Let the screw go through the terminal of the multi-core wire and then fix it on the wiring board.

WARNING
- If the power cord or the signal line is damaged, it must be replaced with a dedicated one.
- Prior to the wiring, please check the voltage marked on the nameplate and then carry out the wiring following the wiring diagram.
- The dedicated power cord must be used for the air conditioning unit and the electrical leakage protection switch and air switch must be installed in case of overload condition.
- The air conditioning unit must be earthed to prevent the hazard caused by a failed insulation.
- During the wiring, the wiring terminal or the single-core wire must be used; the direct wiring between the multi-core wire and wiring board would cause fire.
- All wiring should be done strictly in accordance with the wiring diagram; otherwise the improper wiring would cause the air conditioning unit running abnormally or cause damages.
- Do not let the electric wires touch the refrigerant pipe, the compressor, the fan or other moving parts.
- Do not modify the wiring inside the indoor unit randomly; otherwise the manufacturer won’t assume any responsibility for the damage or abnormal running of the unit
WIRING OF THE POWER CORD (SINGLE-PHASE)
CAUTION
The power supply for each indoor unit must be uniform.
- Remove the electric box cover of the indoor unit.
- Let the power cord go through the rubber ring.
- Put the 4-core cable through the hole of the chassis and the bottom of the appliance upward, and then connect the power line and the communication line from the outdoor unit to the corresponding terminals N(1), 2, 3 , and grounding terminal of the indoor unit. Wiring shall be done properly as per the wiring diagram. (Note: Be sure the wiring terminals A/B/C/D and piping joints A/B/C/D of the indoor unit match with that of the outdoor unit respectively).
- Fix the power cord tightly with the binding wire.
WIRING OF THE SIGNAL LINE OF THE WIRED CONTROLLER
- Open the electric box cover of the indoor unit.
- Let the signal line go through the rubber ring.
- Insert the signal line to the four-pin socket on the printed circuit board of the indoor unit.
- Fix the signal line with the binding wire.
ELECTRICAL SPECIFICATIONS

Note:
The sectional area listed above is applicable to the power cord with a length up to 49.2 ft. (15 m). For longer cord, its sectional area should be enlarged to avoid the cord burning out caused by the over-current.
MALFUNCTION
MALFUNCTION ANALYSIS
Please check below items before asking for servicing. If the malfunction still cannot be eliminated, please contact a qualified person.

MAINTENANCE
CLEANING AND MAINTENANCE
WARNING
- Turn off the unit and disconnect the power before cleaning to avoid electric shock.
- Do not wash the unit with water to avoid electric shock.
- Do not use volatile liquid or mineral oils to clean the unit.
- Use suitable instruments for the refrigerant R410A.
- Do not use any other refrigerant than R410A.
Maintenance before seasonal use
- Check if the air inlet/outlet of the indoor unit is clogged.
- Check if the earthing is in good condition.
- Check if the wiring is in good condition.
- Check if the indicating lamp of the wired controller blinks after it is energized.
- Check whether mounting bracket is damaged or corroded.
Note:
If there is something abnormal, please consult the after-sales serviceman.
Maintenance after seasonal use
- Let the air conditioning unit run for half a day under FAN mode to dry the inside of the unit.
- If you plan not using the unit on a long period of time, shut down the main power supply for energy conservation. The power indicator on the wired control will go off.
CLEANING THE FILTER
- Never dismantle the air filter except for cleaning; otherwise it may cause some error.
- The filter should be cleaned every three months. If the unit operates in a highly dusty environment, cleaning frequency should be increased (generally once every two weeks).
- Do not use fire or hair dryer to dry the filter to avoid deformation or fire hazard.
NOTES



















