Commercial Electric EWRP4F Emergency Corridor Light
THANK YOU
wrap light. We strive to continually create quality products designed to enhance your home. Visit us online to see our full line of products available for your home improvement needs. Thank you for choosing Commercial Electric!
Safety Information
WARNING: Carefully read and understand this manual before beginning the assembly and installation. Failure which could be hazardous or even fatal.
WARNING: Before beginning the installation, disconnect the power to the circuit by turning off the circuit breaker or removing the fuse.
IMPORTANT: approved by the party responsible for compliance could void the user’s authority to operate the equipment.
NOTICE: This equipment has been tested and found to comply with the limits for a Class B digital device, pursuant to Part 15 of the FCC Rules. These limits are designed to provide reasonable protection against harmful interference in a residential installation. This equipment generates, uses and can radiate radio frequency energy and, if not installed and used in accordance with the instructions, may cause harmful interference to radio communications. However, there is no guarantee that interference will not occur in a particular installation. If this equipment does cause harmful interference to radio or television reception, which can be determined by turning the equipment off and on, the user is encouraged to try to correct the interference by one or more of the following measures: Reorient or relocate the receiving antenna. Increase the separation between the equipment and the receiver. Connect the equipment into an outlet on a circuit different from that to which the receiver is connected. Consult the dealer or an experienced radio/TV technician for help. FCC responsible party : Precision Consumer Products Group, LLC. 11024 Balboa Boulevard Suite 1710 Granada Hills, CA 91344
Warranty
WHAT IS COVERED
The manufacturer warrants this lighting fixture to be free from defects in materials and workmanship for a period of five (5) years from date of purchase. This warranty applies only to the original consumer purchaser and only to products used in normal use and service. If this product is found to be defective, the manufacturer’s only obligation, and your exclusive remedy, is the repair or replacement of the product at the manufacturer’s discretion, provided
that the product has not been damaged through misuse, abuse, accident, modifications, alterations, neglect, or mishandling.
WHAT IS NOT COVERED
This warranty shall not apply to any product that is found to have been improperly installed, set-up, or used in any way not in accordance with the instructions supplied with the product. This warranty shall not apply to a failure of the product as a result of an accident, misuse, abuse, negligence, alteration, faulty installation, or any other failure not relating to faulty material or workmanship. This warranty shall not apply to the finish on any portion of the product, such as surface and/or weathering, as this is considered normal wear and tear.
The manufacturer does not warrant and specifically disclaims any warranty, whether express or implied, of fitness for a particular purpose, other than the warranty contained herein. The manufacturer specifically disclaims any liability and shall not be liable for any consequential or incidental loss or damage, including but not limited to any labor / expense costs involved in the replacement or repair of said product. Contact the Customer Service Team at 1-877-527-0313 or visit www.HomeDepot.com.
Pre-Installation
PLANNING INSTALLATION
Before beginning assembly, installation, or operation of the product, make sure all parts are present. Compare parts with the package contents list. If any part is missing or damaged, do not attempt to assemble, install, or operate the product. Contact customer service for replacement parts.
NOTE: Keep your receipt and these instructions for proof of purchase.
If you are unfamiliar wit11 electrical installations, we recommend you contact a qualified electrician to do the installation.
NOTE: Two people are recommended for the installation of this light fixture.
TOOLS REQUIRED
HARDWARE INCLUDED
| Part | Description | Quantity |
| AA | Phillips head junction box machine screws | 2 |
| BB | Wire nuts | 3 |
| CC | Phillips head wood screws | 2 |
| DD | Dry wall anchors | 2 |

PACKAGE CONTENTS
| Part | Description | Quantity |
| A | Chassis | 1 |
| B | Lens | 1 |
| C | Hinged endcap (pre-installed) | 1 |
| D | Channel cover | 1 |
| E | Channel cover screws | 4 |
| F | Knockouts | 8 |


Pre-Installation (continued)
Select a suitable location that can support the weight of the fixture. Determine the method of mounting before drilling.
WARNING: RISK OF ELECTRIC SHOCK. Ensure the electricity to the wires you are working on is shut off. Either remove the fuse or turn ott the circuit IJreaker IJefore removing the existing light fixture or installing the new one.
With Power disconnected to your electrical box, remove the existing fixture. Make a sketch of how the current fixture is wirecl (by wire color) or mark the wires with masking tape and a I1encil so you will know how to properly reconnect the wires to the new LED light fixture.
CAUTION: Before beginning installation turn off the circuit breaker and light switch.
IMPORTANT: Depending on the type and orientation of junction box it may be necessary to use the keyhole installation method on page 6 to achieve the desired fixture orientation within the room.
Junction Box Installation
Installing the screws
Install the two screws (AA) into the junction box (1).
NOTE: Leave 3/8″ of screw thread exposed to accommodate the fixture base. 
Removing the lens and channel cover
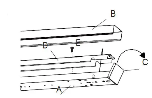
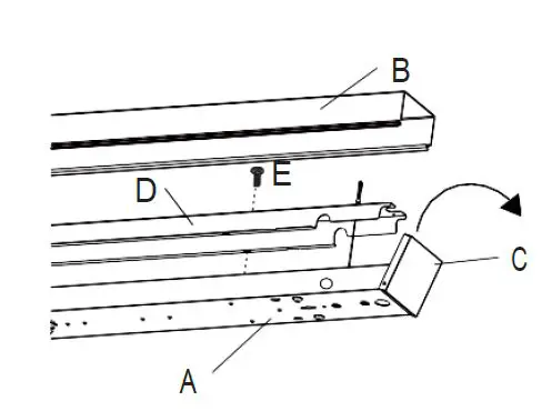
Remove the lens (B) from the chassis (A) by rotating hinged endcap (C) away from the chassis (A) Hold the hinged endcap outboard and gently lift and remove the lens (B) from the chassis(A). Use a Phillips screwdriver to remove channel cover screws (E) to remove the channel cover.
Removing the knockout
Use a screwdriver to remove the pre-punched knockout (1) at the center of the chassis (A) and feed the White, Black and Ground fixture wires through the knockout hole.
Junction Box Installation (continued)
Wiring the fixture
Ensure 3/8 in. of the wire sheathing is removed from the end of the black , white , and green fixture wires in order to expose the copper wires. Using included wire nuts (BB): Connect the yellow/green fixture ground wire with
the building power supply ground wire. Connect the white fixture wire with the white building power supply wire. Connect the Black Fixture wires with the black building power supply wire. After ensuring all wire nut connections are secure, Gently tuck all wire connections back into the junction box.
Attaching the fixture
Attach the fixture (A) to the junction box by aligning the holes on the fixture (A) with the junction box screws (AA) installed in the previous step. After aligning screw heads (AA) with mounting slots on fixture, rotate fixture until properly aligned with room orientation. After properly oriented, tighten screw heads (AA) with a Phillips screwdriver, ensuring the fixture is secure and will not move.Then use a screwdriver to cover channel cover.
If proper fixture orientation is not possible due to junction box/hole positioning, proceed to step 3 of the Key Hole Installation method on page 6.
Starting on one side, align the channel cover flange with the locking tabs on the fixture chassis as indicated in schematic (A1).Slide the flange under the locking tabs and be sure all wires are tucked under the channel cover. While ensuring flange remains under locking tabs, squeeze the channel cover until the flange on the opposite side of the channel cover are able to slide under the locking flanges on the opposite side.Once channel cover is securely in place and all wires are inside the channel cover, replace channel cover screws using a Phillips screwdriver. 
Attaching the lens
Carefully slide the end of the lens (B) into the fixed endcap on the fixture base (A). While holding the lens, (B) rotate the hinged endcap (C) outward and ensure the full length of the lens is now flat against the fixture base (A)
Carefully allow the hinged endcap (C) to rotate inward until it is resting against the lens (B)
IMPORTANT: Hinged endcap (C) is spring loaded. To avoid possible damage, do not allow hinged endcap (C) to snap back against the lens.
Keyhole Installation
Removing the lens and channel cover
Remove the lens (B) from the chassis (A) by rotating hinged endcap (C) away from the chassis (A) Hold the hinged endcap outboard and gently lift and remove the lens (B) from the chassis(A). Use a Phillips screwdriver to remove channel cover screws (E) to remove the channel cover.
Removing the knockout
Use a screwdriver to remove the pre-punched knockout (1) at the center of the chassis (A) and feed the White, Black and Ground fixture wires through the knockout hole. 
Positioning the fixture
Position chassis (A) to align the knockout hole with the supply wire location. While holding in place mark the location of the two keyhole slots at each end of the housing on your mounting surface.
Keyhole Installation (continued)
Mounting the fixture through drywall
If mounting in drywall without a stud, at the locations marked in the previous step, drill a small pilot hole with 1/8″ drill bit (not included) and install wall anchors (DD) into the holes with a hammer (not included). Install the two wood screws (CC) into the mounting surface, leaving an approximate 3/8 in gap between the screw head and the mounting surface
Mounting the fixture to a wall stud
If the mounting holes align with wall studs, drill a pilot hole using a 5/32″ drill bit (not included) for the wood screws (CC). Install the two wood screws (CC) into the mounting surface leaving an approximate 3/8 in gap between the screw head and the mounting surface.
Connecting the wires
Ensure 3/8 in. of the wire sheathing is removed from the end of the black , white , and green fixture wires in order to expose the copper wires. Using included wire nuts (BB): Connect the yellow/green fixture ground wire with
the building power supply ground wire. Connect the white fixture wire with the white building power supply wire. Connect the Black Fixture wires with the black building power supply wire. After ensuring all wire nut connections are secure, Gently tuck all wire connections back into the junction box.
Attaching the fixture
After ensuring all wire connections are secure, gently tuck the wires into the junction box and guide. Hide the wires in the junction box and guide the heads of the two wood screws (CC) into the keyhole slots. slide the fixture (A) so that the wood screw heads (CC) rest over the narrow part of the keyhole slot. Ensure that the fixture (A) is supported and tighten the two wood screws (CC) until the fixture is secured to the mounting surface.
Attaching the fixture
Starting on one side, align the channel cover flange with the locking tabs on the fixture chassis as indicated in schematic (A1).Slide the flange under the locking tabs and be sure all wires are tucked under the channel cover. While ensuring flange remains under locking tabs, squeeze the channel cover until the flange on the opposite side of the channel cover are able to slide under the locking flanges on the opposite side.Once channel cover is securely in place and all wires are inside the channel cover, replace channel cover screws using a Phillips screwdriver. 
Attaching the lens
Carefully slide the end of the lens (B) into the fixed endcap on the chassis base (A). While holding the lens, (B) rotate the hinged endcap (C) outward and ensure the full length of the lens is now flat against the chassis base (A).
Carefully allow the hinged endcap (C) to rotate inward until it is resting against the lens (B)
IMPORTANT: Hinged endcap (C) is spring loaded. To avoid possible damage, do not allow hinged endcap (C) to snap back against the lens
Replace battery
After turning off the power, refer to Step 2 page 4 to remove lens and channel cover. Remove the battery with a screwdriver, remove the quick plug cable, Remove the battery with a Phillips screwdriver. Remove the quick plug cable from the emergency driver. Once lens and channel cover have been removed, disconnect the battery from the emergency driver via quick connect. Using a Phillips screwdriver, remove the (2) screws securing the battery to the chassis.
Position the replacement battery and re-attach with the same (2) screws. Re-connect the battery and emergency driver via quick connects. label label Replace channel cover and lens in accordance with steps 5 and 6 on page 5.
The battery specifications are as follows:
| The battery type | LifePo4 |
| The battery size | 130*28*30MM |
| The battery capacity | 3000mAh/19.2WH |
| The battery voltage | 6.4V |
Lighting control switch
|
Mode | Frequency | 5.8GHz +/- 75MHz |
| Power | <0.3mW | |
| Factory | hold 5s (manufacturer test mode) | |
| Test | no sensor function | |
| Commercial mode | 2min 100% full bright and then hold 25% | |
| Residential mode | 2min 100% full bright and then off | |
| Mounting height | Max4.5M(vertical) | |
| Movement detected | 0.5~1M/S |

Test switch
|
Mode | Sleep | In emergency working, press the test switch > 3S, and the emergency power enters sleep mode, the utility is switched on and reactivated. |
| Reset | long press test switch > 5s, mergency power shut down, again after connect AC power supply, the system is restarted. |

Care and Cleaning
CAUTION Hetore attempting to clean the t1xture, disconnect the power to the fixture by turning the breaker off or removing the fuse from the fuse box. Clean the fixture with a soft, dry cloth Do not use cleaners with chemicals, solvents, or harsh abrasives Do not use liquicl cleaner on the LEDs, LED driver, or wiring inside the light fixture.
Troubleshooting
WORKING Before doing any work on the fixture, disconnect power to the ligl1t fixture.
| Problem | Probable Cause | Solution |
| The power is off. | Ensure the power supply is on. | |
| The circuit breaker is off. | Ensure the circuit breaker is in the on position. | |
| There is a bad connection. | Check to ensure proper wire connections | |
| There is a defective switch. | ||
| The fuse blows or the circuit breaker trips when the light is turned on. | The wires are crossed or the power wire is grounding out. | Check the wire connections.
Commercial Electric customer service 1-877-527-0313 |



















