User Manual
USB-C Dual Monitor Docking Station
Model IF-507 Advanced DisplayLink™ DL-6950 chip inside
“Make sure you have installed the correct display driver to use this product
Thank you for purchasing the intpw IF-507 16 in 1 Dual Monitor Docking Station. Please read this user manual carefully and keep it for future reference. f you need any assistance, please contact our support team with your product model number and amazon order number. 
Display Link Graphics
- Our DisplayLink technology makes it simple to connect any display to any computer that supports USB or Wi-Fi and provides universal solutions for a range of corporate, home and embedded applications where easy connectivity of displays enhances productivity. With DisplayLink, expanding your visual workspace has never been easier or more affordable. Our technology makes it really easy to connect any display to any computer. We call this Plug and Display.

- Products with DisplayLink technology are supported on Windows, macOS, Android and Chrome OS, allowing then to be used with the latest notebooks, 2 in 1s, Macbooks and Windows Pro Tablets.Ensure your products are up-to-date with the latest DisplayLink drivers.
- In case you need assistance to choose the correct cable, please visit our website https://imxpw.net/ or feel free to mail us at [email protected] and it will be our pleasure to assist you.



Product information
| Part number | IF-507 |
| Dimensions | (LxWxH) 4.13 x 1.97 x 4.92 in (105 x 50 x 125 mm) |
| Weight | 4.06 Ib (0.48 kg) |
| Front components: | (One Micro SD USB2.0 Card-Reader (One SD USB2.0 Card-Reader (One USB-C 3.0 charging port Two USB 2.0 charging ports Two USB 3.0 charging ports ‘One combo audio jack |
| Back components | Power button One USB Type-C One DisplayPort port ‘One RJ45 port Twe HDMI port Two USB 2.0 charging ports |
| External monitor support | Maximum resolution is 5K displays, depending on the capabilities of the host machine. |
| Power to system | Up to 100W via USB-CTM. |
| Power to host (USB-C PD) | 5V, OV, 10V, 12V, 15V, 20V all at SA MAX |
| Housing Material | Aluminum |
| Shell Color | Black/Gray |
Before use
- This item has DL-6950 chipset which made by Displaylink. Please download the latest drive from displaylink: www.displaylink.com/downloads Troubleshooting: support.displaylink.com
- For use with web and productivity software at home or the office. Not recommended for gaming. Cannot be mixed with non-DisplayLink USB adapters. Does not support HDCP, will not playback encrypted or copy-protected content.
* Note: This dock will not charge your laptop and will need your external charger to provide power to your system. Due to limited USB 3.0 bandwidth and reduced hardware graphics acceleration of the DisplayLink software and hardware used in this docking station we do not recommend it for use with full screen video playback, 2D or 3D graphics applications, or video editing software.
Warranty & Customer Support
For questions. support. or warranty claims, contact us at the address below that corresponds with your region. Please include your amazon order number and product model number.
Amazon US orders: [email protected]
*Please note: intput can only provide after sales service for products purchosed directy from intput. If you have purchased from a different seller.
Please contact them directly for service or warranty issues.
| Specifications Recommended | |
| Host connection | USB 3.0 port (Type A) |
| Processor | Intel Core i7 2+GHz/AMD Richland A10-575x / AMD Kaveri A10-7400P or better |
| ‘Memory | 8GB |
| Graphics processor | Integrated or discreet Intel HD 4000, ATI Radeon HD 8650, NVidia GeForce 7xxM graphics processors or better |
| Disk | 7200RPM or SSD |
This dock Does not charge or power the host computer.
Cannot be mixed with non-DisplayLink USB graphics adapters and drivers (e.g. MCT, j5, or SMSC)

Configuration modes
Extend Mode– Extend your working desktop with split-screen presentation to enhance work efficiency.
Primary or Replace mode: This mode is used if wanting to use your laptop with the lid closed. 
Mirror Mode – You can conveniently share and enjoy videos or slideshows on the big and high definition screen.
Application:
- Add multi-monitor capability to a single computer, to enhance multimedia presentations.
- Great for researchers and writers, offering the ability to have reference material on one display while working on a separate document on another.
- Olncrease productivity by running multiple applications on different screens.
- View large or several spreadsheets across multiple displays.
- A compact, lightweight solution for traveling business associates using USB 3.0-capable laptop PCs, enabling connection to a secondary display/projector.
- Add an additional video output to computer systems with no room for expansion.
Warranty & Customer Support
For questions. support. or warranty claims, contact us at the address below that corresponds with your region. Please include your amazon order number and product model number.
Amazon US orders: [email protected]
*Please note: intpw can only provide after sales service for products purchased direct from intown. If you have purchased from a different seller.
Please contact them directly for service or warranty issues.
Instructions
- This product requires the installation of Displaylink driver Driver download address: https://www.displaylink.com/downloads
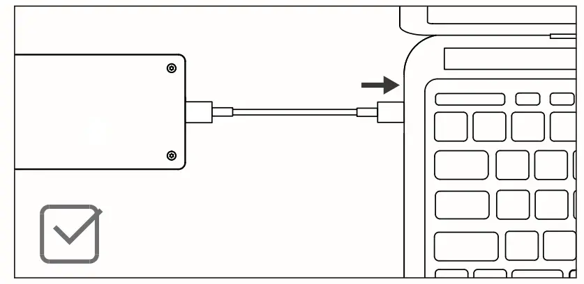
- When using the docking please connect the power station, supply first, and then connect your computer.

- Support hot swap, providing current overload detection and protection.

- HDMI port: Single HDMI port support 5K (5120*2880@60Hz) audio and video synchronized transmission , dual HDMI port support up to 4K@60Hz.

- DP 1.4 port: Single DP port support 5K (5120*2880@60Hz) audio and video synchronized transmission, When the DP port and HDMI2 port are used simultaneously, the resolution of the DP port is 4K(3840×2160@30Hz).

When HDMI 1 port and DP port are used at the same time, neither of them has signal output.
The DP port can only be used with the HDMI 2 port.

USB-C port (Connect Host): Support up to 100W for laptop with type C port that supports Power Delivery. 

USB-C 3.0 port: Expanding your USB C device.
Support USB-C 3.0 and backward compatible with USB-C 2.0/1.1, the highest transfer rate is 5Gbps. 
USB-A 3.0 port*2:
It supports USB 3.0 and is backward compatible.
The highest transfer rate is 5Gbps
USB-A 2.0 port*4 480Mbps:
Used to extend the connection of USB devices, such as mouse/keyboard/mobile hard disk, etc.


Gigabit Ethernet(Ethernet port): Used to connect to the Internet through a network cable.
Internet speed support 10/100/1000 Mpbs.

SD/TF Card Reader: For external memory card, USB 2.0 card reader, support SD 2.0 specification.
Data transfer rate up to 25MB/Sec.

3.5mm stereo combo jack: Support microphone input/audio output.
Bring you clear and pure sound quality.
Specification


Compatibility Tested by
Apple MacBook Pro (2015/2016/2017/2018/2019/2020)
Surface Pro (windows 10), 18362.1016
Asus Zen Book (windows 10), 18362.418

Attention
In order to enjoy 4K high-definition picture quality, please use DP cable version 1.4 or higher. If you want to use the HDMI or DP port to reach 5K image quality, please make sure that your notebook display resolution, cable and monitor that needs to be expanded are all up to 5K or higher.


In order to ensure the normal operation of the product, please plug in the power supply before use (the power cord is in the package)

Note that SD/TF card readers cannot be used at the same time.

Multiple Display Mode



Avoid using in an environment where the temperature is too high or too low.

For FAQ’s and more information, please visit: www.intpw.com
Web: www.intpw.com
E-mail: [email protected]
Add: 765 York street, Elizabeth, NJ 07201
![]()





















