
HES, Inc.
Phoenix, AZ
1.800.626.7590
www.hesinnovations.com
KS200-640 / KS210-640 Server Cabinet Lock Series
Installation Instructions

ASSA ABLOY, the global leader in door opening solutions
Package Contents

Lock Handle Mounting Plate

Mounting Screws Handling Selectors

Cam SFIC Cam

DPS Cable

Lock Side Interface Cable
Recommended Tools
Approved RFID Credential
Phillips P2 driver
WT-2 Wiegand Test Box
Optional Additional Tools:
SFIC Core for key override or SFIC Blank Plastic Core
Normally Open DPS Switches
System Side Interface Cable
Specifications
Voltage: 12-24V DC ±10% (Power Supply not provided)
KS200 / KS210 Current Consumption:
| Model | KS200 / KS210 | |
| Input Voltage (V DC) | 12V DC | 24V DC |
| Current | ||
Standby Avg.¹ | 50 mA | 40 mA |
Max Avg.² | 100 mA | 75 mA |
Peak³ | 130 mA | 130 mA |
¹ Standby AVG - RMS current draw without a card in the RF field with both LEDs active.
² Maximum AVG - RMS current draw during continuous card reads, and both LEDs active.
³ Peak - Highest instantaneous current draw during RF Communication, in-rush, or unlock cycles
Operating Temperature: -10C to 50C
Holding Force: 250 lbs
Connector Pin Wiring:
| Molex 8-Pin Connector Pin | Wire Color | Description |
1 | Black | Ground (RTN) |
2 | White | Wiegand Data 1 / RS485-A* |
| 3 | N/A | N/A |
4 | N/A | N/A |
| 5 | Red | +VDC (12V-24V) |
6 | Green | Wiegand Data 0 / RS485-B* |
| 7 | Blue | LED Input (RED) |
8 | Yellow | LED Input (GREEN) |
| Molex 4-Pin Connector Pin 1 | ||
1 | Violet | Ground (RTN) |
| 2 | Pink | Tamper/DPS Contact (N.O.) (+) |
3 | Gray | Lock Control Input (5/12/24 VDC) |
| 4 | Tan | Tamper/DPS Contact (N.O.) (-) |
*KS210 model only
LED Function: KS200 and KS210 LED states are controlled and defined by the user’s EAC. Enabling the red and green LEDs on the KS200 can occur via an active-low (ground) signal or RS485 OSDP commands (KS210 only)
Output Type: Wiegand TTL (SIAAC-01-1996), OSDP (SIA v.2.1.7)
Regulatory: FCC (ID: VC3-KS210), Industry Canada (ID: 7160A-KS210), CE
BHMA: A156.3, A156.36, A156.25 Compliant
Credentials Supported: 125 kHz Proximity or 13.56 MHz iCLASS, iCLASS Elite, iCLASS SEOS, iCLASS SE, ISO 15693 ICLASS, ISO 14443A Mifare, Mifare Plus, Desfire SE, Desfire EV1/EV2, NFC, BLE.
NOTE: Contact HID Global Technical Support at +1 (866)-607-7339 for additional configuration cards to enable HID iCLASS Elite credentials or mobile credentials via NFC or BLE using HID Mobile Access application.
System Overview
The KS200 is a radio-frequency identification (RFID) lock for server cabinet installation applications. The lock is capable of reading RFID credentials and providing that data to an electronic access control (EAC) system via Wiegand data signaling or via RS485 OSDP (KS210 only). The EAC determines whether user access should be granted or denied. When the EAC provides an active-high unlock signal to the lock in the access granted case, the KS200 or KS210 drives a motor to complete the unlock/lock cycle. EAC indication of user access/denial is provided to the user by way of LED control inputs on the lock. Additional lock monitoring features (e.g., door position, tamper) are monitored within the lock and status provided to the EAC.

- Access Control
- Wired Connection
- Cabinet Lock
Installation
1. Installing an SFIC Core
NOTE 1: A key override (SFIC) provides a backup entry method in the rare case the KS200 or EAC is inactive (Recommended).
NOTE 2: The included SFIC cam has been tested with Medeco and Sargent 6- or 7-pin SFIC cores.

6-pin 7-pin
- Cam
- 6-pin Spacer
- SFIC Core
1. Insert Cam into SFIC Use the included Spacer with 6-pin SFICs.

2. INSERT SFIC into lock
2. Preparing the Cabinet
- LOCATE the 1″ [25 mm] x 6″ [150 mm] lock cutout on the door (some doors may require modification).
- ENSURE power is available at the rack.
- RE-USE the existing cam, if possible.
NOTE: One cam is supplied.
| CAM | CAM LENGTH | CAM DEPTH |
| CAM 1 | 1-1/2″ [38 mm] | 15/16″ [24 mm] |
3. Installing the Lock
1. SLIDE lock into cutout.

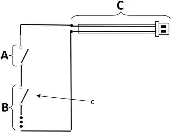
NOTE: (Optional) Install RS485 termination jumper (KS210).
(Optional) The DPS signal is closed when the handle is resting in its locked position. The DPS circuit can be extended to include normally open DPS switches arranged in a series to monitor additional doors and panels.


A Switch #1 (SPST-NO): Provided
B DPS Switches (SPST-NO): As Needed
C DPS Extension Cable
2. PERFORM the following to extend the DPS Circuit.
a. REMOVE the DPS jumper.
b. CONNECT the included DPS extension cable.
c. CONNECT additional normally-open DPS switches as shown to monitor additional panels.
3. CONNECT the female, 10-position Hirose™ connector on the lock side interface cable to the KS200.
4. ENSURE the lock side interface cable will properly protrude from the bottom of the KS200 prior to attaching the rear bracket. ENSURE the wiring is not obstructing the mounting holes prior to securing the rear bracket.
5. ATTACH rear bracket with screws.

6. ENSURE that the lock is fully secured and flush to the mounting surface in order to depress tamper switch on back of device for correct operation.
NOTE: If the tamper switch is not fully depressed, the lock opens the Tamper/DPS+/- contact.
A Tamper Switch
7. IF the tamper switch is not fully closed,
THEN REMOVE the tamper contact,
AND ENSURE the lock is closed.
4. Installing the Handing Selector
CAUTION! Inserting/snapping the handle all the way in will lock the lever
1. INSERT handing selector into lock.

2. POSITION the arrows to point toward the door edge.

A Door edge
3. INSERT and SECURE cam with screw.

5. Attaching the Wiring
|
New 4-/8-Pin Molex
Integrated Wiegand: KS200/KS210 Cabinet Locks, ElectroLynx Wire Color/Function Assignments
Connector | 8-Pin Molex Connector | 4-Pin Molex Connector | ||||||||||
| Pin/Wire Color | 1 Black | 2 White | 3 N/A | 4 N/A | 5 Red | 6 Green | 7 Blue | 8 Yellow | 1 Violet | 2 Pink | 3 Gray | 4 |
Function | 12 VDC Reader | Wiegand Data | N/A | N/A | 12 VDC Reader | Wiegand Data | LED | 12/24 VDC/ Lock | Tamper/ DPS | 12/24 VDC/ Lock | Tamper/ DPS | |
| Setting | NEG | Data 1 / RS485- A* | N/A | N/A | POS | Data 0 / RS485- B* | RED | Green | COM, – | NC, + | COM, + | COM, – |
*KS210 models only
Legacy 10-Pin Molex to 4-/8-Pin Molex
Integrated Wiegand: KS200/KS210 Cabinet Locks, ElectroLynx Wire Color/Function Assignments
Connector | 8-Pin Molex Connector | 4-Pin Molex Connector | ||||||||||
| Pin/Wire Color | 1 Black | 2 White | 3 N/A | 4 N/A | 5 Red | 6 Green | 7 Orange | 8 Brown | 1 Gray | 2 Yellow | 3 Violet | 4 |
Function | 12 VDC Reader | Wiegand Data | N/A | N/A | 12 VDC Reader | Wiegand Data | LED | 12/24 VDC/ Lock | Tamper/ DPS | 12/24 VDC/ Lock | Tamper/ DPS | |
| Setting | NEG | Data 1 / RS485- A* | N/A | N/A | POS | Data 0 / RS485- B* | RED | Green | COM, – | NC, + | COM, + | COM, – |
*KS210 models only
- CONNECT the Lock Side Interface Cable to the lock.
- CONNECT the Lock Side Interface Cable to the optional System Side Interface Cable (see Connector and Cable Diagram).
- RUN the System Side Interface Cable, as required (see Server Cabinet Wiring Example).
- ATTACH the included 4-Pin and 8-Pin Molex Female Connectors to the bare wire side of the System Side Interface Cable.
NOTE: It is recommended that 10-conductor, 24 AWG, cable be used. - ENSURE the following power cabling guidelines are followed:
Wire AWG | Supply Voltage | Allowed Cable Length (ft.)* |
| 20 AWG | 12 | 419 |
24 | 3217 | |
22 AWG | 12 | 264 |
| 24 | 2023 | |
24 AWG | 12 | 166 |
| 24 | 1272 |
* Round trip loss. V = 2 x I x R x xft
xft = V / (2 x I x R)
Note: Data 0 and Data 1 wires for Wiegand may be reused for OSDP. However, standard Wiegand cable may not meet RS485 twisted pair recommendations for maximum data transmission speed and distance.
Note: For OSDP cable lengths greater than 200 ft (61 m) or EMF interference, install 120Ω termination resistor jumper on the KS210.
Connector and Cable Diagram

- Pin 4 (Tan – Tamper/DPS, COM -)
- Pin 2 (Pink – Tamper/DPS, NC +)
- Pin 3 (Gray – 12/24 VDC/Lock COM +)
- Pin 1 (Violet – 12/24 VDC/Lock COM -)
- Pin 8 (Yellow – Green LED)
- Pin 7 (Blue – Red LED)
- Pin 6 (Green – Wiegand Data 0)
- Pin 5 (Red – 12 VDC Reader, +)
- Pin 2 (White – Wiegand Data 1)
- Pin 1 (Black – 12 VDC Reader, -)
NOTE: Pins 3 and 4 are not used. - Lock Side Interface Cable
- Interface Cable
12-inch harness is standard 6-foot door harness and 12-foot harness to EAC Panel Connection optional (sold separately)
Server Cabinet Door

NOTE: All wiring is located on the inside of the door and server cabinet
- KS200-640 Server Cabinet Lock
- Lock Side Interface Cable
- 6-foot Door Harness (Part Number CBL6-QC12)
- 12-foot Harness (Part Number CBL12-QC12) to EAC Panel Connection
Server Cabinet Wiring Example
6. Testing the Lock with the Access Control System

- TEST the lock with a known good credential to confirm it will open as desired when installed.
a. PRESENT a credential known to the EAC.
b. LIFT lever and TURN to open the cabinet.
This page intentionally left blank
Regulatory
FCC
This device complies with part 15 of the FCC Rules. Operation is subject to the following two conditions: (1) This device may not cause harmful interference, and (2) this device must accept any interference received, including interference that may cause undesired operation.
CAUTION: Any changes or modifications to this device not explicitly approved by the manufacturer could void your authority to operate this equipment. This equipment has been tested and found to comply with the limits for a Class B digital device, pursuant to part 15 of the FCC Rules. These limits are designed to provide reasonable protection against harmful interference in a residential installation. This equipment generates, uses and can radiate radio frequency energy and, if not installed and used in accordance with the instructions, may cause harmful interference to radio communications. However, there is no guarantee that interference will not occur in a particular installation. If this equipment does cause harmful interference to radio or television reception, which can be determined by turning the equipment off and on, the user is encouraged to try to correct the interference by one or more of the following measures:
- Reorient or relocate the receiving antenna.
- Increase the separation between the equipment and receiver.
- Connect the equipment into an outlet on a circuit different from that to which the receiver is connected.
- Consult the dealer or an experienced radio/TV technician for help.
Model KS210 Contains FCC ID: JQ6-ICLASSBTM
Model KS210 Contains IC ID: 2236B-ICLASSBTM
Canada Radio Certification
This device complies with Industry Canada license-exempt RSS standard(s). Operation is subject to the following two conditions: (1) this device may not cause interference, and (2) this device must accept any interference, including interference that may cause undesired operation of the device.
CE Marking
Hanchett Entry Systems, Inc. (HES) hereby declares that these proximity readers are in compliance with the essential requirements and other relevant provisions of Directive 2014/53/EU.
3085006.002 Rev. 3

ATTENTION
















