
PREM I AIR 685HEPA Air Purifier 
Introduction
Please DO NOT dispose of any packaging until you have checked the appliance is operational.
After removing the packaging ensure the contents are intact and complete. In the unlikely event of missing parts; contact your retailer.
DO NOT leave children unattended with any of the packaging since it is a potential source of danger. Disposal of all packaging must be carried out responsibly & safely and in accordance with your local authority regulations. ALWAYS recycle the packaging material where possible.
Thank you for purchasing this Prem~I~Air 685HEPA air purifier. When used correctly the surrounding air quality in your home or workplace can be substantially improved & your appliance will help reduce house dust, pet hairs, bacteria, mold spores, pollen, viruses, odours & V.O.C’s (Volatile Organic Compounds).
Important Safety Instructions
- Basic safety precautions should always be observed when operating electrical appliances.
- Caution should be observed when operating the appliance near children, the infirm or pets.
- DO NOT place objects on the appliance or obstruct the air inlet or air outlet.
- Operate the appliance on an even & level surface.
- This appliance is not intended for use in wet or damp areas.
- ALWAYS operate the appliance from a power source of the same voltage & frequency in accordance with the identification plate.
- DO NOT operate the appliance in areas where flammable liquids or chemicals are used or stored.
- DO NOT operate the appliance with a damaged power cord or plug or after the appliance malfunctions or becomes damaged in any way.
- DO NOT attempt repairs to the appliance; refer to a qualified service centre.
- DO NOT attempt to modify the appliance in any way.
- DO NOT run the power cord under carpet or rugs.
- DO NOT use mains extension cords.
- To clean the appliance ensure the power is turned OFF & the plug is removed from the power outlet socket. Use a soft, damp, lint free cloth.
- This instruction manual is an integral part of the appliance and should be stored for safe keeping and must always accompany the appliance in the event of ownership transfer or for reference to by a service engineer.
ASSEMBLY INSTRUCTIONS
WARNING
DO NOT ATTEMPT TO OPERATE THIS APPLIANCE WITHOUT FIRST SECURELY FITTING THE BASE, USING THE FIXING SCREWS IN THE BAG PROVIDED.
Please note: on the base plate are three circular pegs & one semi-circular peg. (see opposite).
On the underside of the main appliance are located three circular holes and one semi-circular hole (see opposite).
It is important to line up the semi circular peg with the semi circular hole for the base plate to be fixed to the main appliance correctly. Once located correctly, use the two fixing screws to secure the base to the main appliance. 
Control Panel Layout
Remote Controller layout
OPERATING INSTRUCTIONS
Insert the BS three pin plug into the mains socket outlet.
POWER
Press the ON/OFF to switch the appliance on (the ‘POWER’ L.E.D on the control panel will illuminate green).
FAN SPEED
The fan will start at low fan speed. Press the fan button for medium fan speed, press again and the fan will run at high fan speed. At each selection the corresponding L.E.D will illuminate. 
TIMER
With the appliance switched ON, Press the TIMER button to select 2 hours(2H). Press the timer button again to select 4 hours(4H). Press again to select 8 hours(8H). The timer button is a count down to switch the appliance operation OFF. At each selection the corresponding L.E.D will illuminate. 
ANION (IONISER)
Press the ANION button to switch the negative ion generator ON or OFF. The ANION L.E.D will illuminate with the function ON.
INFRARED REMOTE CONTROL
All of the functions can be operated via the Infra Red remote control. The L.E.D function will illuminate on the control panel with each function selected.
FILTRATION SYSTEM
Filter system
Stage 1 – Prefilter
The Prefilter removes large particle contaminates & helps to extend the life of the HEPA filter.
Stage 2 – HEPA (High-Efficiency Particulate Air) filter
Your HM685 HEPA uses an absolute HEPA filter that captures 99.97% of contaminates as small as 0.3microns. These include dust & dust mites, pollen, animal dander & smoke etc.
Stage 3 – Active Carbon
Active carbon is charcoal that has been treated with oxygen to open millions of pores between the carbon atoms. These pores absorb harmful gases and odours.
ANION
An ionizer is a device that adds a negative charge to molecules of air. A negatively charged ION that has more electrons than protons in its nuclei is known as an ANION and these help to reduce airborne contaminants. Virtually all particles in the air have a positive charge and therefore attract the negative ions which become attached. As more & more negative ions attach themselves to the particles they become too heavy to remain airborne & fall out of the air, preventing inhalation into the respiratory system.
MAINTENANCE INSTRUCTIONS
Access & removal of the filter cartridge
Pressing the button marked ‘OPEN’ on the front face of the appliance makes access to the filtration cartridge (see opposite). 
The control panel will lift up and the filter cartridge will be visible.
Take hold of the handle & lift in an upward direction until the filter cartridge is completely removed from the appliance (see opposite).
Please note the INSTALLATION ADVICE that identifies the correct installation of the filter cartridge (see opposite). 
TECHNICAL DATA
- POWER SUPPLY: 230volts 50Hz
- POWER CONSUMPTION: 48watts
- WORKING TEMPERATURE: 0°C ~ 40°C
- WORKING HUMIDITY: ≤ 95%RH
- MAX NOISE LEVEL: 30dB
- MAX AIRFLOW RATE: 200m³h / 117.8 c.f.m
- PROTECTION CLASS: II
- EFFECTIVE AREA: 40m² / 430ft²
- NETT WEIGHT: 8kg / 17.64lbs
- DIMENSIONS: 679mm x 184mm x 185mm
- BASE DIMENSIONS: 260mm diameter
The HM-685 air purifier has a built-in anti-tilt mechanism that will disrupt the power to the appliance if it is tilted or turned on its side.
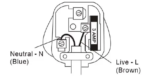
BS Plug Wiring
Wiring Instructions: Should it be necessary to change the plug please note the wires in the mains lead are colored in accordance with the following code:
BLUE-NEUTRAL
BROWN-LIVE
As the colors of the wires in the mains lead of this appliance may not correspond with the colored markings identifying the terminals in your plug, proceed as follows:
- The BLUE wire is NEUTRAL and must be connected to the
terminal marked with the letter N or colored BLACK. - The BROWN wire is the LIVE and must be connected to the terminal marked with the letter Lor colored RED.
- Always ensure that the cord grip is positioned and fastened
correctly. If a 13A (BS 1363) fused plug is used it must be fitted with a 3A fuse. If in doubt consult a qualified electrician.
Wiring for a 13 Amp Plug (BS1363) 
SERVICE & WARRANTY
- Do not operate the unit with a damaged cord or plug, after the unit malfunctions, or has been dropped or is damaged.
- For your convenience, record the complete model number and product name (located on the Product Identification Plate), the date you purchased the product, and attach your purchase receipt as proof of purchase.
- To ensure your product is covered by warranty, the complete faulty product together with your purchase receipt should be returned to your retailer.

EHS (International) Ltd. Guarantees this product free from defects in materials and workmanship for a period of two (2) years.
Should this unit be operated under conditions other than those recommended, at voltages other than the voltage indicated on the unit, or any attempts made to service or modify the unit, will render this WARRANTY VOID. The product you buy may sometimes differ slightly from the illustration. This warranty is in addition to, and does not affect, your statutory rights.
Should you have a problem with this product, please call our Help Desk on (0870) 742 5021
This product has been manufactured to comply with EEC Directives 2006/95/EG and 89/336/EEC
Waste electrical products should not be disposed of with household waste. Please recycle where facilities exist.
Check with your Local Authority or retailer for recycling advice.
Get In Touch
Call: 0845 6880112
Email: [email protected]
Our Address
Puravent, Adremit Limited, Unit 5a, Commercial Yard, Settle, North Yorkshire, BD24 9RH























