STARLINK Ground Pole Mount
If you are uncomfortable with any part of the installation process, do not attempt – contact a professional to install your Starlink. Starlink is not responsible for injury or damage caused to property due to the installation process.
Please be aware that inclement weather (e.g., heavy rain, snow, or wind) can affect your satellite internet connection, potentially leading to slower speeds or a rare outage.
The Starlink will detect and melt snow that falls directly on it; however, accumulating snow around the Starlink may block the field of view. We recommend installing Starlink in a location that avoids snow build-up and other obstructions from blocking the field of view.
If your Starlink App displays a “Motors Stuck” alert, your Starlink may be mounted in a way that it cannot reach its optimal angle to connect with the satellites. We advise mounting your Starlink within 5 degrees of vertical. Mounting your Starlink in a horizontal position (e.g., on the side of your chimney), will not allow it to operate.
INSTALLATION CONDITIONS
WARNING! The Starlink router/power supply is rated for both indoor and outdoor use. See Regulatory Notices in your Starlink internet kit for information on environmental specifications of your Starlink and accessories.
WARNING! Mounts are not designed for high winds or hurricane/tornado wind loads. Tethering should be used in all cases to prevent failure in an unexpected wind event.
SAFETY NOTICES
WARNING! To reduce the risk of injury, electric shock, or fire, follow basic safety precautions, including:
- Make sure the product’s power is disconnected before accessing, moving, or installing the Starlink (aka “DishyMcFlatface”). Starlink contains moving parts when powered on.
- Plug the power cord into an AC outlet that is easily accessible at all times. If the power cord has a 3-pin attachment, plug the cord into a grounded (earthed) 3-pin outlet.
- Only use the AC adapter and power cord provided with the system or purchased from SpaceX.
- Do not operate this product with a damaged power cord set. If the power cord is damaged, replace it before using this product.
- During operation, do not allow the AC adapter to contact skin or a soft surface, such as carpet/rug or clothing. The product and the AC adapter comply with the user-accessible surface temperature limits defined by applicable safety standards.
- Avoid using this product during an electrical storm. There is a remote risk of electric shock from lightning.
- Do not operate this product if you notice crackling, hissing, popping sounds, a strong odor, or smoke coming from any part of the system. Turn off the system, disconnect from the power source, and contact Starlink technical support for assistance.
WARNING! To avoid injury to persons and damage to property when drilling, take caution and follow basic safety procedures, including: - Wear appropriate eye, hand, and face protection.
- Avoid studs, electrical wiring, and water lines when drilling. Drilling into any of these can lead to fire, shock, injury, or death.
- Drill at a slight downward angle from the home interior to the home exterior and thoroughly apply sealant. Improper drilling and sealing may lead to water and/or bug intrusion and/or damage.
LIGHTNING PROTECTION
If Starlink is used in a lightning-prone area, an external lightning protection system (lightning rod, ground rod, surge protector, etc.) may reduce product susceptibility to lightning. For added protection during a lightning storm, or when it is left unattended and unused for long periods of time, unplug the product from the wall AC outlet and disconnect the antenna cable. This may prevent damage to the product from lightning and power line surges.
The warranty does not cover damage due to:
- Lightning, electrical surges, fires, floods, hail, windstorms, earthquakes, meteors, solar storms, dinosaurs or other forces of Nature
- Accident, misuse, abuse or alterations
- Improper or neglected maintenance
For more safety, regulatory, labeling, and disposal information, refer to the Regulatory Notices in the main internet kit.
The information contained herein is subject to change without notice. SpaceX shall not be liable for technical or editorial errors or omissions contained herein.
SETUP / CONFIGURATION

- Download the Starlink app on your phone.
- Before installation, use the “Check for Obstructions” tool in the app to identify the best location for uninterrupted
service. - Setup your Starlink.
- After connecting, confirm your setup location is obstruction-free by reviewing the data coming from your
Starlink. - Additional app features: customize settings, receive updates, troubleshoot issues, and contact support.
Box Contents

- Top Tube
- Bottom Tube
- Concrete Mix
- Mixing Trough
- Shovel / Augur
- Mortar Hoe
- Gloves
- Water
- Level

Instructions
Unplug your Starlink from wall before beginning the installation process.
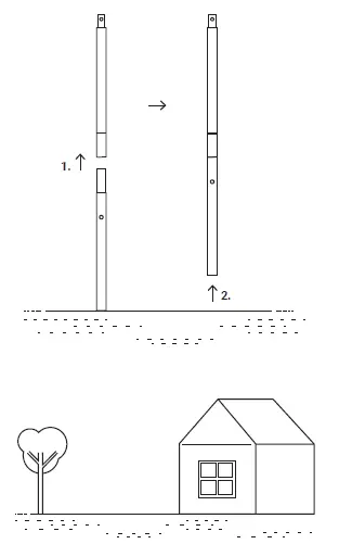
- Insert the bottom tube into top tube.
- Firmly tap the joined tubes three times on a hard surface to solidify tube bond.
NOTE: Tap the bottom tube, not the top tube. - Select a location with solid ground – avoid loose soil, gravel, or marsh-like conditions.
- Dig a hole 2’ (0.6 m) deep and approximately 1.5’ (0.5 m) wide.
- Position the pole in the center of the hole and use level to ensure Starlink is mounted within 5 degrees of vertical.
NOTE: Drain hole should be ~3” / 76.2 mm above the ground line. - Mix the concrete per the instructions and pour into the hole. The mount’s drain hole needs to remain above the concrete’s surface.
- Maintain the pole’s upright position until the concrete sets enough for the pole to stand on its own. Set overnight.
- Install cable into the Starlink and mount it on the top of the pole.
- Route the Starlink cable through the cable routing hole and out the top of the pole.
NOTE: Cable is not burial-rated.
Unplug your Starlink from the wall before beginning the installation process.




Instructions


















