STARLINK Flashing Mount Kit
If you are uncomfortable with any part of the installation process, do not attempt – to contact a professional to install your Starlink. Starlink is not responsible for damage to property caused by the installation process.
Please be aware that inclement weather (e.g., heavy rain, snow, or wind) can affect your satellite internet connection, potentially leading to slower speeds or a rare outage.
The Starlink will detect and melt snow that falls directly on it; however, accumulating snow around the Starlink may block the field of view. We recommend installing Starlink in a location that avoids snow build-up and other obstructions from blocking the field of view.If your Starlink App displays a “Motor’s Stuck” alert, your Starlink may be mounted in a way that it cannot reach its optimal angle to connect with the satellites. We advise mounting your Starlink within 40 degrees of vertical. Mounting your Starlink in a horizontal position (i.e., on the side of your chimney), will not allow it to operate.
INSTALLATION CONDITIONS
WARNING! The power supply and router are restricted to indoor use only.
WARNING! Mounts are not designed for hurricane/tornado wind loads. Tethering should be used in all cases to prevent failure in an unexpected wind event.
SAFETY NOTICES
WARNING! To reduce the risk of injury, electric shock, or fire, follow basic safety precautions, including:
- Make sure the product’s power is disconnected before accessing, moving, or installing the Starlink (aka “Dishy McFlatface”). Starlink contains moving parts when powered on.
- Plug the power cord into an AC outlet that is easily accessible at all times. If the power cord has a 3-pin attachment, plug the cord into a grounded (earthed) 3- pin outlet.
- Only use the AC adapter and power cord provided with the system or purchased from SpaceX.
- Do not operate this product with a damaged power cord set. If the power cord is damaged, replace it before using this product.
- During operation, do not allow the AC adapter to contact skin or a soft surface, such as carpet/rug or clothing. The product and the AC adapter comply with the user-accessible surface temperature limits defined by applicable safety standards.
Do not operate this product if you notice crackling, hissing, popping sounds, a strong odor, or smoke coming from any parts of the system. Turn off the system, disconnect from the power source, and contact Starlink technical support for assistance.
WARNING! To avoid injury to persons and damage to property when drilling, take caution and follow basic safety procedures, including:
- Wear appropriate eye, hand, and face protection.
- Avoid studs, electrical wiring, and water lines when drilling. Drilling into any of these can lead to fire, shock, injury, or death.
- Drill at a slight downward angle from the home interior to the home exterior and thoroughly apply sealant. Improper drilling and sealing may lead to water and/or bug intrusion and/or damage. For more safety, regulatory, labeling, and disposal information, refer to the Regulatory Notices in the main internet kit.The information contained herein is subject to change without notice. SpaceX shall not be liable for technical or editorial errors or omissions contained herein.
Box Contents
Additional Items Needed
Flashing Mount requires the purchase of Volcano Mount.
Find A Spot
Use your Starlink app to help find the best clear view
Plan Cable Route
Install Instructions
PART I: ATTACH VOLCANO MOUNT TO MOUNT LID
- Place Volcano Mount on top of mount lid. Insert one ¼” screw through one of the four outer holes on the top of the Volcano Mount; the two inner holes will not be used.Tighten with the two 7/16” wrenches.
- . Remove the foam gasket’s backing and stick it on the bottom inside of the mount, 1” from the straight edge. Set aside for later use.

PART II: ATTACH ASSEMBLED FLASHING MOUNT TO ROOF
- Find nearest roof beam.
- Center tracing tool over beam, with bottom edge aligned with edge of shingle. Trace outline of mount.
- Use utility knife to cut mount’s outline. Do not cut through the bottom shingle layer

Install Instructions
- Use pry bar to remove toplayer of shingles only. Do not remove the bottom layer.

- For users not routing through attic, proceed to Step 6. If routing cable through attic space, drill hole in area of removed section. Take care to not drill into roof beam.

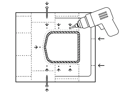
- Slide lower half of mount into place, with bottom sliding under top layer of shingles. Peel back shingles and install the 7x truss head screws to attach lower half of mount to roof.

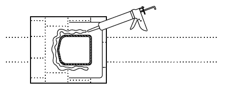
- Apply roof cement under shingles and around edge of mount. Lay shingles back on top and apply pressure to adhere.

- Carry Starlink to install location. To prevent damage to the Starlink, do not set face-down onto the roof.

- If routing through attic space: route connected cable through pre-drilled hole in roof, then go inside and pull the necessary amount of cable through roof. For any excess cable on top of the roof, coil and store in the bottom half of the mount.
If routing cable over the roof: unravel your connected cable coil and route the loose end into your home.
- Place the top half previously assembled in Part I to the lower half of mount. Install 4x tek screws to attach the top half to the lower half. An undersized pilot hole is present and some force is needed to start the tek screw. A power drill is recommended.

- Place the mast of the Starlink into the hole at the center of the mount. Mount Starlink within 40°of vertical. Snap buttons do not need to be depressed when inserting Starlink.

- Use wall clips to fasten the cable to the wall along your route. Avoid puncturing cable, sharp bends, and follow horizontal / vertical lines.

Plug Everything In
Do not manually tilt the Starlink, it will automatically point itself towards the sky shortly after connecting to power source.
Connecting to Satellites
Ensure your hands and other objects are out of the way of the Starlink. If the Starlink does not connect to the internet within 30 minutes, power cycle by unplugging and reconnecting the black cable to the power supply.
Connect to Wi-Fi
Once the LED is glowing solid white or red, use your Wi-Fi enabled device to connect using the Network ID printed on the back of the Wi-Fi router.
Can’t Get Online?
- Power cycle the Starlink/router by unplugging the power supply for 30 seconds.
- Check that your mounting location is correct:
- Does the Starlink have a clear view of the sky?
- Are you installing your Starlink at the address you used when placing your order?
3. If none of these work, contact Starlink Customer Support by logging into your account on starlink.com.
Change Network ID/Password
- If you already have a network ID/password set up, press the reset button at the bottom of your router. If not, skip this step.
- When connected to the network, open a browser window on any device and follow the instructions.
- WaiT2 minutes and rejoin network with your personalized credentials.
Prefer a hardline connection over Wi-Fi? Connect by plugging your computer directly into the upper port of the Wi-Fi router (ethernet cable not included) or into the white port on the power supply.

































