Starlink Flashing Mount Kit

If you are uncomfortable with any part of the installation process, do not attempt – contact a professional to install your Starlink. Starlink is not responsible for damage to property caused by the installation process.
Please be aware that inclement weather (e.g., heavy rain, snow, or wind) can affect your satellite internet connection, potentially leading to slower speeds or a rare outage.
The Starlink will detect and melt snow that falls directly on it; however, accumulating snow around the Starlink may block the field of view. We recommend installing Starlink in a location that avoids snow build-up and other obstructions from blocking the field of view.
If your Starlink App displays a “Motors Stuck” alert, your Starlink may be mounted in a way that it cannot reach its optimal angle to connect with the satellites. We advise mounting your Starlink within 40 degrees of vertical. Mounting your Starlink in a horizontal position (e.g., on the side of your chimney), will not allow it to operate.
Installation Conditions
WARNING! The power supply and router are restricted to indoor use only.
WARNING! Mounts are not designed for high winds or hurricane / tornado wind loads.Tethering should be used in all cases to prevent failure in an unexpected wind event.
Safety Notices
WARNING! To reduce the risk of injury, electric shock, or fire, follow basic safety precautions, including:
- Make sure the product’s power is disconnected before accessing, moving, or installing the Starlink (aka “Dishy McFlatface”). Starlink contains moving parts when powered on.
- Plug the power cord into an AC outlet that is easily accessible at all times. If the power cord has a 3-pin attachment, plug the cord into a grounded (earthed) 3-pin outlet.
- Only use the AC adapter and power cord provided with the system or purchased from SpaceX.
- Do not operate this product with a damaged power cord set. If the power cord is damaged, replace before using this product.
- During operation, do not allow the AC adapter to contact skin or a soft surface, such as carpet/rug or clothing. The product and the AC adapter comply with the useraccessible surface temperature limits defined by applicable safety standards.
Do not operate this product if you notice crackling, hissing, popping sounds, a strong odor, or smoke coming from any parts of the system. Turn off the system, disconnect from power source, and contact Starlink technical support for assistance.
WARNING! To avoid injury to persons and damage to property when drilling, take caution and follow basic safety procedures, including:
- Wear appropriate eye, hand, and face protection.
- Avoid studs, electrical wiring, and water lines when drilling. Drilling into any of these can lead to fire, shock, injury, or death.
- Drill at a slight downward angle from the home interior to the home exterior and thoroughly apply sealant. Improper drilling and sealing may lead to water and/or bug intrusion and/or damage.
For more safety, regulatory, labeling, and disposal information, refer to the Regulatory Notices in the main internet kit.
The information contained herein is subject to change without notice.
SpaceX shall not be liable for technical or editorial errors or omissions contained herein.
Setup

- Download the Starlink app on your phone.
- Before installation, use the “Check for Obstructions” tool in the app to identify the best location for uninterrupted service.
- Setup your Starlink.
- After connecting, confirm your setup location is obstruction free by reviewing the data coming from your Starlink.
- Additional app features: customize settings, receive updates, troubleshoot issues, and contact Support.
Box Contents


- Mount Base
- Mount Lid
- Tracing Tool
- Foam Gasket
- ¼” Screw (X5)
- Lock Nut (X5)
- Tek Screws (X5)
- Sealing Washer (X5)
- Phillips Truss Head Screw (X8)
*One extra screw, nut, and washer provided
Additional Items Needed



10. 5⁄16” & 7/16” Socket Wrench
11. Screwdriver
12. 7/16” Wrench
13. Spade Bit
14. Roof Cement
15. Drill
16. Phillips Head Bit
17. Pry Bar
18. Pencil
19. Utility Knife
20. Measuring Tape
21. Goggles
Note: Flashing Mount requires purchase of Volcano Mount.
Install Instructions
PART I: Attach volcano mount to mount lid
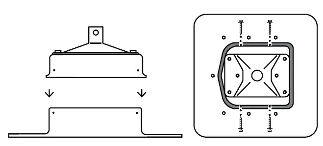
1. Place Volcano Mount on top of mount lid. Insert one ¼” screw through one of the four outer holes on the top of the Volcano Mount; the two inner holes will not be used. Tighten with the two 7/16” wrenches.

2. Remove the foam gasket’s backing and stick it on the bottom inside of the mount, 1” from the straight edge. Set aside for later use.

PART II: Attach assembled flashing mount to roof
1. Find nearest roof beam.
*The image is horizontal.

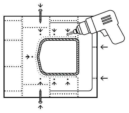
2. Center tracing tool over beam, with bottom edge aligned with edge of shingle. Trace outline of mount.

3. Use utility knife to cut mount’s outline. Do not cut through the bottom shingle layer.

4. Use pry bar to remove top layer of shingles only.
Do not remove the bottom layer.

5. For users not routing through attic, proceed to Step 6. If routing cable through attic space, drill hole in area of removed section. Take care to not drill into roof beam.

6. Slide lower half of mount into place, with bottom sliding under top layer of shingles. Peel back shingles and install the 7 truss head screws to attach lower half of mount to roof.

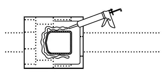
7. Apply roof cement under shingles and around edge of mount. Lay shingles back on top and apply pressure to adhere.

8. Carry Starlink to install location. To prevent damage to the Starlink, do not set face-down onto the roof.

Note: Never set the Starlink onto roof. Directly place the Starlink into mount.
9A. If routing through attic space: route connected cable through pre-drilled hole in roof, then go inside and pull the necessary amount of cable through roof. For any excess cable on top of the roof, coil and store in the bottom half of the mount.

9B. If routing cable over the roof: unravel your connected cable coil and route the loose end into your home.

10. Place the top half previously assembled in Part I to the lower half of mount. Install 4 tek screws to attach the top half to the lower half. An undersized pilot hole is present and some force is needed to start the tek screw. A power drill is recommended.

11. Place the mast of the Starlink into the hole at the center of the mount. Mount Starlink within 40° of vertical. Snap buttons do not need to be depressed when inserting Starlink.

12. Use wall clips to fasten the cable to the wall along your route. Avoid puncturing cable, sharp bends, and follow horizontal / vertical lines.

Starlink Flashing Mount
starlink.com
©2021. Space Exploration Technologies Corp.
01486074-004
Downloads
Starlink Flashing Mount Kit Installation Instructions – Optimized [pdf]
Starlink Flashing Mount Kit Installation Instructions – Original [pdf]


















