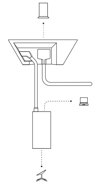
Home » Blog » Starlink 01560575-001 Ethernet Adapter Instruction Manual Starlink 01560575-001 Ethernet Adapter Instruction Manual Contents hide1 STARLINK 01560575-001 Ethernet Adapter2 INSTALLATION INSTRUCTION3 CONNECTION4 Documents / Resources5 Related PostsSTARLINK 01560575-001 Ethernet AdapterINSTALLATION INSTRUCTIONCONNECTION Documents / Resouces Download manual Here you can download full pdf version of manual, it may contain additional safety instructions, warranty information, FCC rules, etc. To access the pdf donwload links, solve the captcha. Related Manuals Starlink 02533005 Standard Kit Instruction Manual Starlink 210716 Pipe Adapter Instruction Manual Starlink 02541005 High Performance Kit Instruction Manual Starlink Router User Manual Hama 00200325 Usb Ethernet Adapter Instruction Manual Hama 00300024 Usb Ethernet Adapter Instruction Manual Hama 00200322 Usb Ethernet Adapter Instruction Manual Hama 00300023 Usb Ethernet Adapter Instruction Manual Starlink Cable Routing Kit User Manual Starlink Pipe Adapter Installation Instructions Hama 00200322 Gigabit Ethernet Adapter Instruction Manual Procet Pt-ptc-d-af Ethernet Adaptor Instruction Manual Hama Ethernet Adapter Instruction Manual Starlink Gen 3 Router User Guide Starlink 210716 Ground Pole Mount Instruction Manual Starlink Router Installation Guide Hama 00200324 Usb Ethernet Adapter User Manual Starlink 02533005 High Speed Low Latency Internet Standard Kit Installation Guide Abb Fena-01 Ethernet Adapter Module User Manual Bartec 17-9065-1001 Ethernet Junction Terminal Instruction Manual