
INSTALLATION INSTRUCTIONS FOR P1453-077-L
For LED Pendant
READ AND SAVE THESE INSTRUCTIONS
Moonshot LED Mini Pendant Light
WARNING! SHUT POWER OFF AT FUSE OR CIRCUIT BREAKER
AVERTISSEMENT! COUPER LE COURANT AU NIVEAU DES FUSIBLES OU DO DISJONCTEU
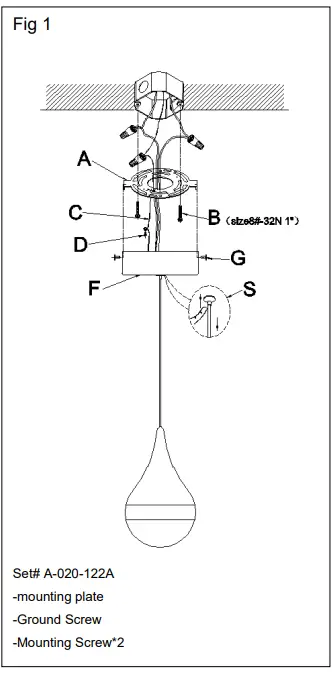
ASSEMBLING THE FIXTURE (Fig.1)
- Shut off power at the fuse box or circuit breaker. Remove the old fixture including the mounting hardware.
- Carefully remove the fixture from the carton and check that all parts are included as show in Figure 1. Unscrew (G) to remove the mounting plate (A) from the canopy (F) .
- Position mounting plate (A) on the ceiling, attach the mounting plate (A) to the junction box using the mounting screws (B, size 8#-32N 1″). The side of the mounting plate marked “GND” must face out as shown in Fig.1.
CONNECTING THE WIRES (Fig. 2) - Pass the black/white and bare copper wires from the mounting plate (A) Connect the electrical wire as shown in figure 2, making sure that all wire connectors are secured. lf your junction box has a ground wire (green or bare copper), connect the ground wire from the fixture to it. Otherwise connect fixture ground wire directly to the mounting plate using the green screw (D) provided. Tuck the wire connections neatly into the ceiling junction box as you hold the canopy towards the ceiling.
FINISHING THE INSTALLATION (Fig.1) - Adjust the length of the cable to pull or push until the desired length by pushing down the spring nut (S). Fix the canopy (F) into the mounting plate (A) with screw (G).
Your installation is now complete. Return power to the junction box and test the fixture.
CAUTION/ATTENTION: When handling the fixture, do not apply pressure to the LEDs. Hold the fixture by the frame only.
IMPORTANT: Fixtures should be installed by a qualified electrician to ensure proper wiring and installation. Dimmable with ELV and/or LED compatible wall dimmer switches.
LED module replace (Fig.3)
Shut off power before replacing
- There have 2 LED modules in each head with this fixture, if one of them do not work, replace it as shown in Fig. 3. Make sure the power is off before you replace.
- Turn the acrylic shade (H), and then twist the acrylic shade (J ) off.
- Use a pin press the quick connector (K), disconnect the wires respectively, replace a new metal (L) and module.
- Repeat 3-1 to assemble the fixture.
Your installation is now complete. Return power to the junction box and test the fixtures.

![]()
CONNECTING THE WIRES (Fig. 2)
Your installation is now complete. Return power to the junction box and test the fixture.













