Miele WMF121 Front Load Washing Machine

Front view
- Water inlet hose
- Electrical connection
- Flexible drain hose (with detachable swivel elbow)
- Control panel
- Detergent dispenser drawer
- Door
- Access to drain filter, drain pump and emergency release
- 4 height-adjustable feet
Rear view
- Protruding lid for holding when moving the machine
- Drain hose
- Water inlet hose
- Safety caps for transit bars
- Transport clips for water inlet hoses and drain hoses
- Electrical connection
Installation surface
A concrete floor is the most suitable installation surface. It is far less prone to vibration during the spin cycle than wooden floorboards or a carpeted surface.
Please note:
- The washer-dryer must be level and securely positioned.
- To avoid vibrations during spinning the washer-dryer must not be installed on soft floor coverings.
If installing on a wooden joist floor, please note: - Check for the presence of pipes and cables first.
- Use a plywood base underneath the washer-dryer (at least 59 x 52 x 3 cm). The base must span several joists and be bolted to the joists and not only to the floorboards.
Useful tip: If possible, install the washer-dryer in a corner of the room, as this is usually the most stable part of the floor.
Carrying the washer-dryer to its installation site
Danger of injury due to unsecured lid.
Make sure the fixings at the back of the lid are secure. They may become brittle due to external circumstances. There is a danger of the lid being pulled off when carrying the appliance.
Before carrying the machine, check that the lid is secure where it protrudes at the back of the machine.
- Carry the washer-dryer by the front feet and by the lid where it protrudes at the back of the appliance.
Removing the transit bars
Removing the left transit bar
- Push the flap outwards and turn the transit bar 90° using the enclosed spanner.

- Then pull the transit bar out.
Removing the right transit bar
- Push the flap outwards and turn the transit bar 90° using the enclosed spanner.

- Then pull the transit bar out.
Covering the holes
Risk of injury from sharp edges!There is a risk of injury from reaching into holes that are not covered.
The holes for the transit bars must be covered after the transit bars have been removed.
- Press the flaps firmly shut until they click into place.
Refitting the transit bars
Risk of damage from incorrect transport.
The washer-dryer may become damaged if moved without the transit bars in place.
Keep the transit bars in a safe place. Fit them again if the washer-dryer is to be moved (e.g. when moving house).
Opening the flaps
- Push against the catch with a pointed object, e.g. a narrow screwdriver.
The flap will open.
Fitting the transit bars
- Install the transit bars in reverse order to their removal.
Useful tip: If you lift the drum slightly, the transit bars can be pushed in more easily.
Installing under a continuous worktop
Building under kits* must only be installed/dismantled by a specialist.
- A special building under kit* is required. The cover plate included in the building under kit* replaces the lid of the washer-dryer. It is necessary to fit the cover plate for electrical safety reasons.
- Connections for electricity, water and drainage should be installed in such a way that they remain accessible when the washer-dryer is in its final position.
The building under kit includes installation instructions.
Optional accessories
Levelling the washer-dryer
The washer-dryer must stand perfectly level on all four feet to ensure safe and proper operation.
Incorrect installation may increase electricity and water consumption and may cause the machine to move about.
The appliance must not be installed behind a lockable door, a sliding door or a door with a hinge on the opposite side to that of the appliance, in such a way that a full opening of the appliance door is restricted.
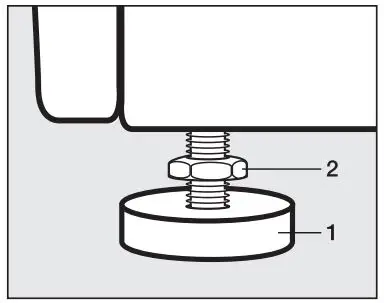
Screwing out and adjusting the feet
The 4 adjustable feet are used to level the washer-dryer. All four feet are screwed in when the appliance is delivered.
- Using the spanner supplied, turn counter nut 2 in a clockwise direction. Then turn counter nut 2 together with foot 1 to unscrew.

- Use a spirit level to check the washer-dryer is standing level.
- Hold foot 1 securely with a pipe wrench. Turn counter nut 2 again using the spanner supplied until it sits firmly up against the housing.
Risk of damage from incorrectly aligned washer-dryer.
There is a danger of the washer-dryer moving about if the feet are not secured.
Turn all 4 counter nuts for the feet until they sit firmly up against the casing. Please also check this for the feet which did not need adjustment.
The Miele water protection system
The water protection system protects all parts of the washer-dryer from water damage.
The system consists of three main components:
- the inlet hose
- the electronic unit, and the drainage and overflow protection
- the drain hose
Inlet hose
- Protected from bursting
The inlet hose can withstand pressure of more than 7000 kPa.
Electronic unit and machine housing
- Sump
Any leaking water is collected in a sump in the base of the machine. A float switches off the water inlet valves. Further water intake is blocked. The water inside the suds container is pumped out. - Overflow protection
This prevents the machine from taking in too much water and overflowing. If the water level exceeds a certain level, the drain pump switches on and pumps the excess water away.
Drain hose
The drain hose is protected by a ventilation system which prevents the machine from being emptied completely.
Water intake
Health risk and risk of damage due to contaminated incoming water.
The quality of the water used must correspond to the drinking water specification of the country in which the appliance is being operated.
Always connect the appliance to potable water.
The washer-dryer must be connected to a mains water supply in accordance with current local and national safety regulations.
The water inlet pressure must be at least 100 kPa and must not exceed an overpressure of 1000 kPa. If the pressure exceeds 1000 kPa, a pressure reducing valve must be installed.
Connection to the mains water supply should incorporate a water tap with a ¾” threaded union. If no tap is available, only a qualified installer may connect the washer-dryer to the mains water supply.
The connection point is subject to mains water pressure.
You should turn on the tap slowly and check for leaks. Correct the position of the seal and screw thread if water escapes.
The washer-dryer is not suitable for connection to a hot water supply.
Maintenance
Only use a genuine Miele hose that has been pressure tested to withstand at least 7,000 kPa should you ever need a replacement.
The dirt filter in the union nut at the open end of the water inlet hose protects the water intake valve. This filter must not be removed.
Hose extension
Longer hoses 2.5 m or 4.0 m in length are available from Miele as optional accessories.
Drainage
The suds are drained through a drain pump with a 1 m delivery head. For the water to drain freely, the hose must be installed free of kinks. The elbow piece supplied hooks onto the end of the hose. If required, the hose can be extended to a length of up to 5 m. The necessary parts can be purchased from Miele.
For a delivery head of more than 1 m (up to a max. of 1.8 m) a replacement drain pump will need to be fitted. Please contact Miele for advice. In this case the hose can be extended to a maximum of 2.5 m. The necessary parts can be purchased from Miele.
Drain hose connection options
- Directed into a sink or basin. Please note:
- Hook the hose over the edge and secure it.
- Make sure that the water can drain away freely without hindrance. Otherwise there is a risk of water overflowing or of some of the drained water being sucked back into the machine.
- Connected securely to a plastic drain pipe with a rubber nipple (there is no need to use a siphon).
- Connected securely to a floor drain (gully).
- Connected securely to a standpipe.
Connecting to a washbasin
- Adapter
- Washbasin nut
- Hose clip
- End of the hose
- Fit the adapter 1 to the sink drain outlet using the nut 2.
- Attach the end of the hose 4 to the adapter 1.
- Use a screwdriver to tighten the hose clip 3 up close to the nut.
Electrical connection
The washer-dryer is supplied with a mains cable with moulded plug ready for connection to a 230V electricity supply. The voltage, rated load and plug rating are given on the data plate. Please ensure these match the household mains supply.
The socket must be easily accessible after the washer-dryer has been installed. If the switch is not accessible after installation an additional means of disconnection must be provided for all poles.
Risk of fire from overheating. Connecting the washer-dryer to a multi-socket adapter or to an extension lead can overload the cable. For safety reasons, do not use an extension lead or multi-socket adapter.
All electrical work must be carried out by a suitably qualified and competent person, in strict accordance with national and local safety regulations. For extra safety, it is advisable to install a residual current device (RCD) with a trip current of 30 mA. Ensure power is not supplied to the appliance until after the installation has been completed. Connection should be made via a suitable switched socket.
If the connection cable is damaged, it must only be replaced with a specific connection cable of the same type (available from Miele) in order to avoid a hazard. For safety reasons, such replacement may only be carried out by a suitably qualified and competent technician or by Miele.
The data plate indicates the nominal power consumption and the appropriate fuse rating. Compare the specifications on the data plate with those of the mains electricity supply.
If in any doubt, consult a qualified electrician.
Temporary or permanent operation with a self-sufficient or non-mains synchronous energy supply system (e.g. isolated networks, back-up systems) is possible. A requirement for the operation is that the energy supply system complies with all current local and national requirements that apply to stand-alone, solar and/or battery systems”.
The protective measures provided in the domestic installation and in this Miele product must also be assured in their function and operation in isolated operation or in non-mains synchronous operation, or replaced with equivalent measures in the installation.
The machine must not be used with so-called energy-saving devices either. These reduce the amount of energy supplied to the machine, causing it to overheat.
























