INSTALLATION INSTRUCTIONS
MOHOME
Bring Beauty Home
One-Piece Toilet


Prior to Installation:
- Inspect toilet to ensure no damages have occurred while in shipping.
- Observe all plumbing and building codes in accordance with your state and local requirements.
- Remove old toilet.
- Make sure mounting surface is CLEAN and LEVEL.
General Recommendations: Read installation and maintenance instructions thoroughly before installing the toilet. Be sure to use proper tools and always wear proper personal safety accessories for your protection.
If you have any quetions or concerns please contect us:
SUGGESTED TOOLS AND MATERIALS


Putty Knife Wrench Tape Measure

Level Water Supply Kit
![]()
Flat Head Screwdriver Cross Screwdriver
PARTS LIST
• HOROW One-Piece Toilet • Wax Ring / Gasket & Bolts Kit • Side Cover Caps
The step-by-step guidelines in the installation instructions are a general reference for installing a HOROW One-Piece Toilet. Should there be any discrepancies, HOROW cannot be held liable.
It is recommended to install all HOROW products by hiring a licensed professional.

1. Read the complete instruction manual before beginning installation.
2. Confirm that your model will fit in intended location and plumbing fixtures are located where legally required before beginning installation.

3. Not all drawings on this manual are drawn to scale. Please refer to the model chart.

4. Two people are recommended to install and move this product.
5. Product is FRAGILE! To avoid breakage and possible injury handle with care.
NOTE: Specialized tools may be necessary to HOROW One-Piece Toilet, plumbing not included.
1. Remove Old Toilet
- Turn off the water supply.
- Flush the toilet to empty the tank. Remove any water left in the tank or bowl.
- Disconnect the supply line from the tank.
- Remove decorative caps. Unscrew nuts that attach the toilet to the floor.
- Remove toilet.
- Make sure the water supply valve is shut off before installation.
- Remove old closet bolts from closet flange. Clean any old wax, putty, etc. from base area.
IMPORTANT NOTE REGARDING WATER SUPPLY:
Before installation ensure that the shut-off valve is greater than 7/16″ from the center of the drain to the center of the shut-off valve on either side.
NOTE: This is a true 12″ rough-in toilet from finished wall to center of the drain (no less than 12″ ). Baseboard thickness may reduce rough-in dimension.

- Shut-off Valve
- Finished Floor
2. Install Closet Bolts&Connect Supply Line
- Install closet bolts to flange channel, turn 90° and slide into place 6″ (152mm) apart and parallel to wall.

- Closet Flange
- Closet Bolts
NOTE: Drawings may not exactly define contour of the product.
- Attach flexible water supply line to the inlet of the fill valve and hand tighten only. At this point, DO NOT connect to the water shut-off valve. Choose 1/2″ or 7/8″ supply line inlet hole according to your supply line size. The supply line inlet hose has an adapter, please screw off the adapter or not according to your supply line size.

- Supply line inlet hose
3. Install Wax Ring
- Invert toilet on floor (use cushion to prevent damage), and install wax ring evenly around waste flange, with tapered end of ring facing toilet.

- Wax Ring
NOTE: Drawings may not exactly define contour of the product.
4. Position Toilet on Flange
- Lower the toilet onto the closet bolts, so the bolts project through mounting holes in base of toilet. Press the bowl onto the flange.
- Flush test, please make sure the toilet is functioning and no leakage before fixation.
- Fasten the screw.

- Cap
- Nut
- Washer
- Bolt
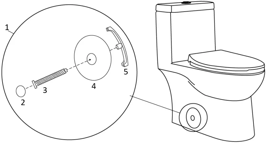
5. Install Side Cover Caps

- Bolt Covers
- Cap
- Screw
- Side Cover
- Hook
Use a Flat Head Screwdriver to tighten the side covers.
NOTE: Drawings may not exactly define contour of the product.
6. Install Toilet
- Alternately tighten nuts until toilet is firmly sealed to floor.
- Connect the flexible water supply line (not included) to the shut-off valve. Tighten coupling nut securely.

NOTE: Drawings may not exactly define contour of the product.

















