Lucci LEDlux 197100 Chameleon Wall Sconce

NOTE: This installation instruction only applies to the luminaire only.
The Chameleon Fascia (SKU# 197103, 197104, 197105, 197110) is sold separately. The Chameleon Tile Frame (SKU# 197106, 197107, 197108, 197111) is sold separately.
Thank you for purchasing this quality Lucci product. To ensure correct function and safety, please read and follow all instructions carefully before assembly, installation and use of this product. Please keep instructions for future reference.
Warranty
- This luminaire is covered by a 3-year warranty. The warranty is from the date of purchase, not the date of installation.
- If the luminaire is not assembled and installed by a licensed electrician, the warranty will be void.
- Please retain the proof of purchase and evidence of installation by a licensed electrician for any warranty enquiries.
- The use of non-compatible dimmers may damage the LED luminaire and will void your warranty.
- Warranty will be void if there is any damage due to improper usage or modification to the luminaire.
- Failure to comply with the instructions in this manual may increase the risk of damage or injury and will void the warranty.
Installation Requirements
- This luminaire must be assembled and installed by a licensed electrician.
- All wiring and installation of the luminaire must adhere to the latest local and national wiring rules. E.g. AS/NZS 3000 Electrical Installations.
- The luminaire is a Class I product and must be earthed during wiring and installation.
- This luminaire is rated IP44 and must be maintained during wiring and installation of the luminaire.
- Select a suitable location for installation:
- This luminaire is suitable for indoor use only.
- The mounting point must support 2 times the weight of the luminaire.
- This luminaire is rated against water penetration to IP44 standards, which is water splashing from any direction.
- If installing a luminaire in an area prone to moisture, ensure that the area is well ventilated, and an appropriately rated exhaust fan is used if required. Damage or corrosion caused by moisture is not a product fault, and as such is not covered under warranty.
- The colour shifting function will only operate with a mechanical or relay ON/OFF switch.
- The colour shifting function will not operate with a semi-conductor ON/OFF switch.
- This luminaire is dimmable and was tested with the dimmers listed in the specification section at the date of publication. The use of LED dimmers such as the Lucci SKU# 290998, 290997; Lucci Connect SKU# 299043; Lucci Power SKU# 290989, 290992, 290993, 290994 or Buster + Punch DIM-002, is highly recommended.
NOTE: It is recommended to adjust the dimming range of the dimmer via the variable resistor until the colour temperature of the installed luminaires are consistent at the minimum dimming position. See your Dimmer’s Installation Instructions for how to adjust dimming range.
NOTE: Dimming may cause buzzing sounds or a slight flicker. There may be slight delays with the LED luminaire start-up or uneven light performance when more than one LED luminaire is linked together, switched ON or dimmed. This is not a product fault and as such is not covered under warranty.
NOTE: Some dimmers have a minimum load of 20W. Ensure the dimmer position is on the maximum setting before turning on the LED light and then adjust the dimmer down to your desired light level.
NOTE: Testing cannot account for installation variables such as variation in mains supply voltage, cable capacitance, electrical noise, transients, surges and ripple control signals (commonly found in NSW & QLD).
NOTE: The information provided is correct to the best of Beacon Lighting’s knowledge at the date of publication. - Take care not to pull any electrical wires during unpacking as this may damage the connection.
- Lay out all the components on a smooth surface and make sure no components are missing before assembling. If parts are missing, return the complete product to the place of purchase for inspection or replacement.
- Check whether the luminaire has been damaged during transport. Do not operate/install any product which appears damaged in any way. Return the complete product to the place of purchase for inspection, repair or replacement.
- Ensure power to the circuit you are working on has been switched OFF before commencing any electrical work.
Installation Directions
- Remove all packaging material from the product and be careful not to throw away accessories that may be hidden within the packaging material. If assembly is required, place the luminaire on a smooth non-scratch surface.
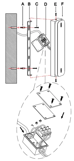
- Remove the mounting bracket (B) from the luminaire (F), by loosening the screws (E).
- Use the mounting bracket (B) as a template to mark the screw positions on the wall.
- Install the mounting bracket (B) onto the wall by using appropriately sized mounting screws (C) and anchors (A). Ensure the screws (C) and anchors (A) used are suitable for the mounting surface and the surrounding environment.
- Remove the lid and gasket from the terminal box (D) by loosening the screws.
- Connect the mains supply wire to the terminal block. Ensure all wiring is secure and no bare wires are exposed.
Mains Supply Wire Luminaire Wire / Terminal block Earth – Yellow/Green Yellow/Green or 
Neutral – Blue or Black Blue or N Live – Brown or Red Brown or L - Install the gasket and lid back onto the terminal box (D) and secure by tightening the screws.
NOTE: The luminaire is a Class I product and must be earthed during wiring and installation.
NOTE: The Chameleon Fascia (SKU# 197103, 197104, 197105, 197110) is sold separately. The Chameleon Tile Frame (SKU# 197106, 197107, 197108, 197111) is sold separately. Refer to the installation instructions included with the accessories for installation directions. - After the installation, switch on the luminaire to test all the lighting functions and enjoy your new lighting product.
- To operate the colour shifting function, use the wall switch.
− While the luminaire is on, toggle the wall switch OFF and ON again within 3 seconds. The colour shifting sequence will jump from 3000K – 5000K – 4000K.
− For the colour shifting to memorise the colour temperature, leave the wall switch OFF for over 7 seconds.
− To reset the colour shifting, toggle the wall switch OFF and ON twice within 1 second. Repeat if it doesn’t reset.

Safety Tips
- Always ensure the power is OFF and the luminaire has cooled down before performing any maintenance, cleaning or making any adjustment to the luminaire.
- To avoid injury or damage to the luminaire, ensure that power leads and screws are secure before connecting the power.
- To clean, wipe with a soft damp cloth. Do NOT soak or immerse the luminaire in water or other liquids.
- Ensure that the luminaire does not come in contact with corrosive chemicals/solvents or abrasive cleaners etc.
- The light source of this luminaire is not replaceable; when the light source reaches its end of life, the whole luminaire shall be replaced. There are no serviceable parts, do not attempt to dismantle or open the product.
| Specifications | ||||
| SKU # | 197100 | 197101 | 197102 | 197109 |
| Colour | Matte Black | Matte White | Brass Finish | Chrome |
| Rated Voltage | 220-240V~ 50Hz | |||
| Rated Wattage | 10W | |||
| LED specs | Colour shifting LEDs*, Dimmable, CRI>90 | |||
| Colour Temperature and Lumens | 3000K – 260 lumens 4000K – 300 lumens 5000K – 320 lumens | |||
| Highly Recommended Dimmers | Lucci LEDlux SKU# 290998, 290997, Lucci Connect 299043. Lucci Power SKU# 290989, 290992, 290993, 290994. Buster + Punch DIM-002. | |||
| Compatible Dimmers | Clipsal PDL354RDMLED-VW, 31E2RUDM, 32E450TM, 32E450UDM, 32ELEDM, HPM Cat. 400T. | |||
| Weight | 0.6kg (luminaire only) 6.0kg (maximum configurable weight with accessories installed) | |||
| Dimensions | H:255mm W:55mm E:38mm | |||
*NOTE: The colour shifting function will only operate with a mechanical or relay ON/OFF switch. The colour shifting function will not operate with a semi conductor ON/OFF switch




















