anko 43113422 6ft. Slide Instruction Manual

6FT SLIDE SAFETY INSTRUCTIONS
Observing the following statements and warning reduces the likelihood of serious or fatal injury.
Provide on-site adult supervision for children 3+ years at all times.
Be certain that all anchoring devices (including concrete) are placed below the level of the playing surface or below ground level to prevent tripping.
NEVER allow children to stand on the slide. DO NOT allow children to lean to the side when riding on the slide as they may collide with structure or other people.
Dress children appropriately while on and around this equipment. DO NOT allow children to wear ponchos, scarves, jewellery, loose shoes, jackets or clothing with loose strings, and/or clothing that might be potentially hazardous while using this equipment.
DO NOT let children use equipment in any manner other than intended.
DO anchor slide. DO NOT install over concrete, asphalt, gravel or any hard surface which may cause injury should a fall occur.
DO NOT let children use equipment until properly assembled and anchored. Place slide on LEVEL GROUND not less than 2m from any structures or obstacles such as fences, overhanging
branches,laundry or electrical lines garages, sheds or houses.
Instruct children not to walk closely in front of,behind or between moving plays. Instruct children to keep a safe distance away to avoid being struck by items in play.
DO NOT allow children to jump from slide. DO NOT allow children to stand on the slide. DO NOT allow children to climb or play on equipment while wet. (Slips or falls may occur.) DO NOT leave
bolt threads uncovered. TIGHTEN all hex nuts securely.
DO NOT attach items to the slide that are not specifically designed for use with the equipment, such as, but not limited to, jump ropes, clothesline, pet leashes, cables, and chains as they may cause strangulation hazard.
Dispose of all packaging properly after slide has been assembled.
Please retain the instruction manual for future reference and review each season.
Adult assembly required
Adult supervision required at all times Maximum user weight of 50kg
Only for domestic use Outdoor use only
Not suitable for children under 36 months – fall hazard Retain instruction manual for future use
Children must understand how to use the product safely
DO NOT allow children to play around product when in use DO NOT allow more than 1 child to use this product at a time Limit the time of continuous usage (make regular stops).
Place on a level surface at least 2m from any structure or obstruction Must not be installed over concrete, asphalt or any other hard surface
It is advised that on a regular basis (i.e. at the beginning of the season and monthly thereafter) all main parts/fixings are checked as secure, well oiled (if metallic), have no sharp points/edges and are intact. Replace, oil and/or tighten when necessary. Failure to do so may result in an injury or hazard.
Any part such as tube, screw, spacer,nut, etc must be regulary examined for evidence of deterioration. Replace any attachments if there are signs of deterioration. Failure to do so may result in an injury or hazard. Do not allow children under 3 years to use this equipment.
Always consult your physician before performing any kind of physical activity.
Unexpected movement (i.e.tipping, lifting and overturning) of the slide may result in serious injury or death. The slide must be securely anchored before use.
The owner should disassemble and dispose of the slide in such a way that no unreasonable hazards will exist at the time the slide is discarded.
Always use the product in a well-lit area. Do not use without lighting during dawn, dusk or in complete darkness!
Maintain clear space on all sides of the product. Such objects include walls, fences, tree limbs/trunks, electrical power wiring, rocks, sprinkler heads of other recreational objects (i.e.swing sets, swimming pools).
The product must not be used in windy and rainy conditions as wind can cause unexpected movement and rain can cause expected slippery on the product.
Thank you for purchasing from Kmart. Please contact our customer service centre
JCA Collective
Email: [email protected] Phone Number: +61 423 259 751
MAINTENANCE INSTRUCTIONS:
Checking fixings regularly. Injury may result if you fail to do so.
Checking the nuts and bolts on a regular basis for tightness,sharp edges or deterioration. Tighten or replace when required.
Check paintwork regularly and if needed touch up with enamel. Check all nuts and bolts for tightness and tighten when required. Oil all metallic moving parts.
Check all coverings and bolts for sharp edges and replace when required.
Check all parts such as tubes, screw, nut, spacer, etc for evidence of deterioration; replace when required in accordance with the manufacturer’s instructions. Failure to do so may result in injury or hazard.
Replace defective parts in accordance with the manufactures instructions.
Sand rusted areas and tubular members and repaint using a non-lead based paint when required.
Retain the instructions for assembly,maintenance and safe use for future reference.
Specifications
This slide is designed for use by children ages 3+ years old with a maximum weight of 50kg. The maximum fall height of this slide is 0.9m.
This product is designed for normal residential use only. This product is not designed for use in day care, nurseries, or other public places. This product is to be assembled by adults only in the manner described within this instruction manual.
This product must be anchored. Anchors are included with this slide.
Only adults should assemble or disassemble the slide.For safety reasons and ease of assembly it is recommended that two adults assemble the slide.
Points to remember when locating and placing the slide
Do not install slideover concrete, asphalt, packed earth,grass, carpet, or any other hard surface. A fall on to a hard surface can result in serious injury to the equipment user
Do not place your slide underneath electrical lines. If your must, ensure that there is a minimum overhead clearance of 2M
Do not make any modifications to the product, it may result in injury or hazard. Do not overtighten nuts and screws as this may cause them to shear and potentially cause structural failure
Location and Placement
Proper placement and maintenance of protective surfacing is essential. Be sure to:
Extend surfacing at least 2m from the equipment in all directions. Slide must be placed a minimum
of 2m from any structure or obstruction such as a fence, garage, house, overhanging branches,laundry lines, or electrical wires.
Do not place your slide underneath electrical lines. If you must, ensure that there is a minimum overhead clearance of 2m.
Do not install slide over concrete, asphalt, packed earth, grass, carpet, or any other hard surface. A fall on to a hard surface can result in serious injury to the equipment user.
For safe playing slide, extend protective surfacing 12 feet (3.66m) in front of and behind the point of the slide. Recommend the orientation of the slide should not be expose to the sun
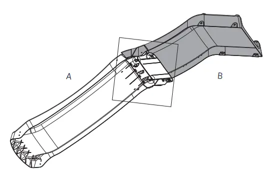
Assemble the Top slide body to the Bottom slide body by following the step on the next page.
Step 1
Gently insert the three protruding points of the Top slide body (B) into the three holes of the Bottom slide body (A). Do not fully insert at this step.
Step 2Insert the two protruding points of the Top slide body (B) into the two holes of the Bottom slide body (A).
Step3
Place the remaining four protruding points of Top slide body (B) into the holes of the Bottom slide (A). Use force to ensure both parts“click”into place and are secured to each other. Please ensure all
protruding points have“clicked”into place before moving to step 4.
Step 4
Secure the three protruding points on the Top Slide body (B) with the corresponding ones on the Bottom slide body (A) by using the M6x15mm screw set (h).
Step 5
Secure the Slide body support bar (C) to the slide by using the M6x15mm screw set (h), Socket spanner (c) and Hexagon key (b). Ensure it is tightly secured before moving to step 6.
Step 6
Finally, secure the two slide parts together by using the M6x15mm screw set (h) on each side of the slide as pictured below.
Step 7
Insert the handrail (D) down through the holes at the top back of the slide. Align the holes in the handrail with the holes on top of the slide.
Step 8
Insert the slide support leg (E and F) into the holes under the silde and up through the slide and into the handrail (D). Align the hoiles of the handrail with the holes in the Top slide body.
Step 9
Connect the handrail (D) and the slide support leg (E and F) to the Top slide body by inserting M6*58mm screw sets (g), with support bars (K).
Step 10
Insert the handrail (D) through the slide steps (H) by fixing M6*42mm screw sets (f), and insert the slide leg (G) by fixing M6*32mm screw sets (i).
Important: The slide steps must be positioned so they are flat and parallel to the ground. Slide the step through the handrail at the same angle as the holes in the steps.
Step 11
Cover the ends of the cross bar ( I and J) with plastic cover (j), connect the cross bar (I) and slide support leg (E and F) by fixing with M8*24mm screw sets (e), align the hole of the handrail with the support leg. Connect the crossbar (J) to the slide support leg (E and F) and the handrail (D) with M8*24mm screw sets (e).
Step12
Tighten all screws on slide frame with spanner (a) and hexagonal key (b). Fix anchor into ground as shown in the image below.
Information on Playground Surfacing Materials
Select Protective Surfacing
One of the most important things you can do to reduce the likelihood of serious head injuries is to install shock-absorng protective surfacing under and around your play equipment. The protective surfacing should be applied to a depth that is suitable for the equipment height in accordance with ASTM Specification F1292.
follow these guidelines:
Loose-Fill Materials:
Maintain a minimum depth of 9 inches of loose-fill materials such as wood mulch/chips, engineered wood fibre (EWF), or shredded/recycled rubber mulch for equipment up to 8 feet high; and 9 inches of sand or pea gravel for equipment up to 5 feet high. NOTE: An initial fill level of 12 inches will compress to about a 9-inch depth of surfacing over time. The surfacing will also compact, displace, and settle, and should be periodically refilled to maintain at least a 9-inch depth.
Use a minimum of 6 inches of protective surfacing for play equipment less than 4 feet in height. If maintained properly, this should be adequate. (At depths less than 6 inches, the protective material is too easily displaced or compacted.)NOTE: Do not install home playground equipment over concrete, asphalt, or any other hard surface. A fall onto a hard surface can result in serious injury to the equipment user. Grass and dirt are not considered protective surfacing because
Carpeting and thin mats are generally not adequate protective surfacing. Ground level equipment – such as a sandbox, activity wall, playhouse of other equipment that has no elevated play surface – does not need any protective surfacing.
Use containment, such as digging out around the perimeter and/or lining the perimeter with landscape edging. Don’t forget to account for water drainage.
Check and maintain the depth of the loose-fill surfacing material. To maintain the right amount of loose-fill materials, mark the correct level on play equipment support posts. That way you can easily see when to replenish and/or redistribute the surfacing. Do not install loose fill surfacing over hard surfaces such as concrete or asphalt. Poured-In-Place Surfaces or Pre-Manufactured
Rubber Tiles – You may be interested in using surfacing otehr than loose-fill materials – like rubber tiles or poured-in-place surfaces.
Instllations of these surfaces generally require a professional and are not “do-it-yourself” projects.
Review surface specifications before purchasing this ryoe of surfacing. Ask the installer/manufacturer for a report showing that the product has been tested to the following safety standard: ASTM F1292 Standard Specification for Impace Attenuation of Surfacing Materials within the Use Zone of Playground Equipment.
This report should show the specific height for which the surface is intended to protect against serious head injury. This height should be equal to or greater than the fall height – vertical distance between a designated play surface (elevated surface for standing, sitting, or climing) and the protective surfacing below – of your play equipment.
Check the protective surfacing frequently for wear. MADE IN
12 Month Warranty
Thank you for your purchase from Kmart.
Kmart Australia Ltd warrants your new product to be free from defects in materials and workmanship for the period stated above, from the date of purchase, provided that the product is used in accordance with accompanying recommendactions or instructions where provided. This warranty is in addition to your rights under the Australian Consumer Law.
Kmart will provide you with your choice of a refund, repair or exchange (where possible) for this product if it becomes defective within the warranty period. Kmart will bear the reasonable expense of claiming the warranty. This warranty will no longer apply where the defect is a result of alteration, accident, misuse, abuse of neglect.
Please retain your receipt as proof of purchase and contact our
Customer Service JCA Collective on +61 423 259 751 (Australia) and (New Zealand) or alternatively,
claims for expense incurred in returning this product can be addressed to our Customer Service Centre at 690 Springvale Rd, Mulgrave Vic 3170.
Our goods come with guarantees that cannot be excluded under the Australian Consumer Law. You are entitled to a replacement or refund for a major failure and compensation for any other reasonably foreseeable loss or damage. You are also entitled to have the goods repaired or replaced if the goods fail to be of acceptable quality and the failure does not amount to a major failure.
For New Zealand customers, this warranty is in addition to statutory rights observed under New Zealand legislation.
KEYCODE: 43-113-422 MADI IN CHINA
FOR AU/NZ: IMPORTED FOR KMART STORES IN AUSTRALIA AND NEW ZEALAND KMART CUSTOMER SERVICE





























