Cecily FR30600HBR Fredrick Ramond LED Wall Sconce

Mounting Instructions
- Find a clear area in which you can work.
- Unpack fixture and glass from carton.
- Carefully review instructions prior to assembly.
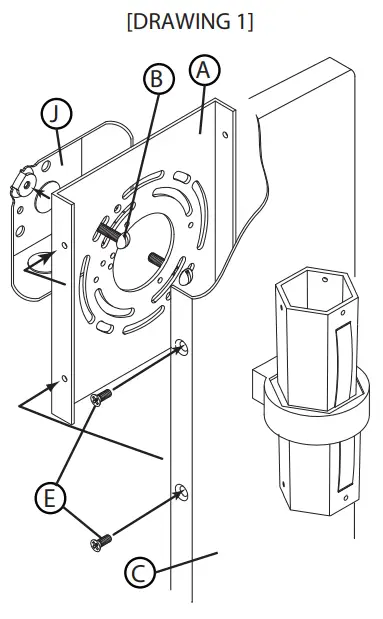
- To begin it will be necessary to remove mounting plate (A) from backplate (C) by removing screws (E) located on the side of the backplate – see Drawing 1.
- To begin installation, first attach mounting bracket (A) to junction box (J) by using two 8-32 screws (B) not provided, or the screws from the previously installed mounting strap or plate. Make sure threaded holes are on the side when installing mounting plate, and plate is plumb by placing a level across the top. Adjust plate and tighten screws to secure mounting plate.
- Next make all wiring connections. Follow instruction sheet (IS-18) provided.

SAFETY WARNING:
- READ WIRING AND GROUNDING INSTRUCTIONS (I.S. 18) AND ANY ADDITIONAL DIRECTIONS. TURN POWER SUPPLY OFF DURING INSTALLATION. IF NEW WIRING IS REQUIRED, CONSULT A QUALIFIED ELECTRICIAN OR LOCAL AUTHORITIES FOR CODE REQUIREMENTS.
- Make electrical connections from supply wire to fixture lead wires. Refer to instruction sheet (I.S. 18) and follow all instructions to make all necessary wiring connections. Then refer back to this sheet to complete installation of this fixture.
- After all electrical connections are made. Slip backplate (C) over mounting strap (A) and align holes in side of backplate (C) with threaded holes on side of mounting strap (A).
- Thread in screws (E) removed earlier to secure backplate to mounting strap.
- To finish assembly of your fixture see assemlby instructions provided
It is recommended theglass be installed after fixture is mounted to wall.
GLASS INSTALLATION:
- To install the glass, First remove outer sleeve (O) by lifting upward. Set aside in a safe place – see Drawing 2.
- Next loosen set screws (S) in side of glass fitter (F).using allen wrench supplied. They do not have to be removed completely.
- Now slip round end of glass (G), with neck, into the glass fitter (F). Tighten set screws equally to center the glass in the fitter.
NOTE:glass has a silicone ring around neck to prevent any damage from screws. - After glass is secure the outer sleeve can be slid over glass and socket fitter.

WIRING AND GROUNDING INSTRUCTIONS
Safety Warning: Read wiring and grounding instructions [FRIS 18] and any additional directions. Turn power supply off during installation. If new wiring is required, consult a qualified electrician or local authorities for code requirements.
- STEP 1 WIRING INSTRUCTIONS
- Indoor Fixtures
- Connect positive supply wire (A) (typically black or the smooth, unmarked side of the two-conductor cord) to positive fixture lead (B) with appropriately sized twist on connector – See Drawing 1 or 2.
- Connect negative supply wire (C) (typically white or the ribbed, marked side of the two-conductor cord) to negative fixture lead (D)
- Please refer to the grounding instructions below to complete all electrical connections.
- Outdoor Fixtures
- Connect positive supply wire (A) (typically black or the smooth, unmarked side of the two-conductor cord) to positive fixture lead (B) with appropriately sized twist on connector – See Drawing 1 or 2.
- Connect negative supply wire (C) (typically white or the ribbed, marked side of the two-conductor cord) to negative fixture lead (D)
- Cover open end of connectors with silicone sealant to form a watertight seal.
If installing a wall mount fixture, use caulk to seal gaps between the fixture mounting plate (backplate) and the wall. This will help prevent water from entering the outlet box. If the wall surface is lap siding, use caulk and a fixture mounting platform specially. - Please refer to the grounding instructions below to complete all electrical connections.
- Indoor Fixtures
- STEP 2 GROUNDING INSTRUCTIONS
- Flush Mount Fixtures
- For positive grounding in a 3-wire electrical system, fasten the fixture ground wire (E) (typically copper or green plastic coated) to the fixture mounting strap (1) with the ground screw (2) – See Drawing 1.
Note: On straps forscrew supported fixtures, first install the two mounting screws in strap. - Any remaining tapped hole may be used for the ground screw.

- For positive grounding in a 3-wire electrical system, fasten the fixture ground wire (E) (typically copper or green plastic coated) to the fixture mounting strap (1) with the ground screw (2) – See Drawing 1.
- Chain Hung Fixtures
Loop fixture ground wire (E) (typically copper or green plastic coated) under the head of the ground screw (2) on fixture mounting strap (1) and connect to the loose end of the fixture ground wire directly to the ground wire of the building system with appropriately sized twist-on connectors – See Drawing 2
- Post-Mount Fixtures
Connect fixture ground wire (E) (typically copper or green plastic coated) to power supply ground with appropriately sized twist-on connector inside post. Cover open end of connector with silicone sealant to form a watertight seal – See Drawing 3.
- Flush Mount Fixtures




















