CHAMELEON FASCIA
SKU# 197103, 197104, 197105, 197110
Accessory only, the luminaire is sold separately
Installation Instructions
NOTE: This installation instruction applies to this accessory only.
The Chameleon luminaire (SKU# 197100, 197101, 197102, 197109) is sold separately.
Thank you for purchasing this quality Lucci product. To ensure correct function and safety, please read and follow all instructions carefully before assembly, installation and use of this product. Please keep instructions for future reference.
Warranty
- This accessory is covered by a 3-year warranty, valid for in-store replacement or a refund only.
- The warranty period starts from the date of purchase. Please retain the proof of purchase.
- Warranty will be void if there is any damage due to improper usage or modification to the accessory.
- Failure to comply with the instructions in this manual may increase the risk of damage or injury and will void the warranty.
Installation Requirements
- This installation instruction is for this accessory only, if unsure please contact a licensed electrician.
- Take care not to pull any electrical wires during unpacking as this may damage the connection.
- Lay out all the components on a smooth surface and make sure no components are missing before assembling.
If parts are missing, return the complete product to the place of purchase for inspection or replacement. - Check whether the accessory has been damaged during transport. Do not operate/install any product which appears damaged in any way. Return the complete product to the place of purchase for inspection, repair or replacement.
- Ensure power to the circuit you are working on has been switched OFF before installation.
Luminaire Compatibility
This accessory is compatible with the following luminaire (sold separately):
Chameleon Wall Sconce – SKU# 197100, 197101, 197102, 197109.
Installation Directions
ATTENTION: Switch OFF the mains power before installation.
- Remove all packaging material from the product and be careful not to throw away accessories that may be hidden within the packaging material.
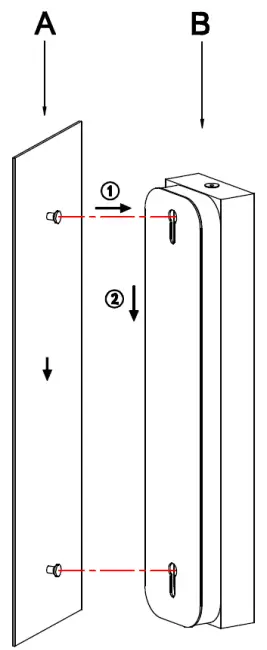
- Install the fascia (A) into the keyhole on the luminaire (B – sold separately) and ensure it is secure.
- After the installation, switch on the luminaire to test all the lighting functions and enjoy your new lighting product

Safety Tips
- Always ensure the power is OFF and the luminaire has cooled down before performing any maintenance, cleaning or making any adjustment to the luminaire.
- To avoid injury or damage to the luminaire, ensure that power leads and screws are secure before connecting the power.
- To clean, wipe with a soft damp cloth. Do NOT soak or immerse the luminaire in water or other liquids.
- Ensure that the luminaire does not come in contact with corrosive chemicals/solvents or abrasive cleaners etc.
Specifications
| SKU # | 197103 | 197104 | 197105 | 197110 |
| Colour | Matte Black | Matte White | Brass Finish | Chrome |
| Luminaire Compatibility | Chameleon Wall Sconce – SKU# 197100, 197101, 197102, 197109. | |||
| Weight | 0.3kg | |||
| Dimensions | H:290mm W:90mm T:1.5mm | |||
v 1.1
( 08/ 2 0 2 2 )


















