TA515CH Trova Toilet Paper Holder Square
Installation Guide
TA515
trova toilet paper holder square
INSTALLATION GUIDE
| BRUSHED NICKEL(BN) | CHROME(CH) | BLACK (BK) | SATIN BRASS (SB) |
![]() | ![]() | ![]() | ![]() |
PRODUCT DIMENSIONS

STEP 1 Loosen the set screw of the body assembly, pull out the mounting bracket.
STEP 2 Install mounting bracket to the wall with screws(suppllied) and anchors(if applicable).
STEP 3 Slide body assembly onto mounting bracket.
STEP 4 Tighten set screw with allen key (suppllied)
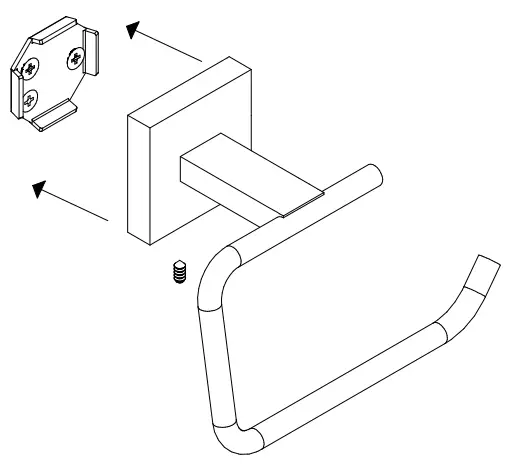
PARTS BREAKDOWN

- MOUNTING BRACKET
- TOILET PAPER HOLDER
- SET SCREW
WESTOVER, INC
13305 B STREET OMAHA, NEBRASKA 68144
WWW.ARTOS.US.COM
T:877.927.8679






















