vetus WHMIXER Thermostatic Mixer

Use
The VETUS-mixer regulates and limits the temperature of the hot water. The hot water supplied at (too) high a temperature is mixed with cold water to ensure a lower and safer temperature.
The mixer should be fitted between the heating unit and the faucet position.
Solder, wire or compression connections in a variety of dimensions may be used for assembly.
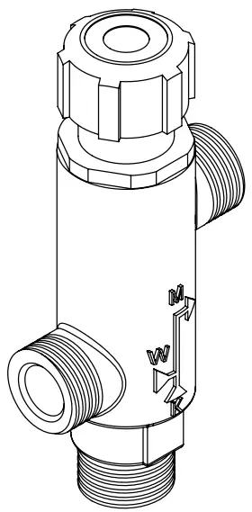
An overview is given in figure 1.
The mixer can be fitted in every position
W = hot water connection
K = cold water connection
Note
When using soldered connections carry out soldering activities first then locate mixing valve. A non-return valve must be fitted in cold water supply pipes.
Before fitting flush the pipes clean. Dirt can disturb the functioning of the mix.
The temperature required for the mix water can be continuously adjusted by turning the adjustment knob. Turning left increases the mix temperature and turning right reduces it, as indicated on the adjustment knob.
An excessive pressure difference between the hot and cold water supply can affect the regulatory behavior of the mixer.
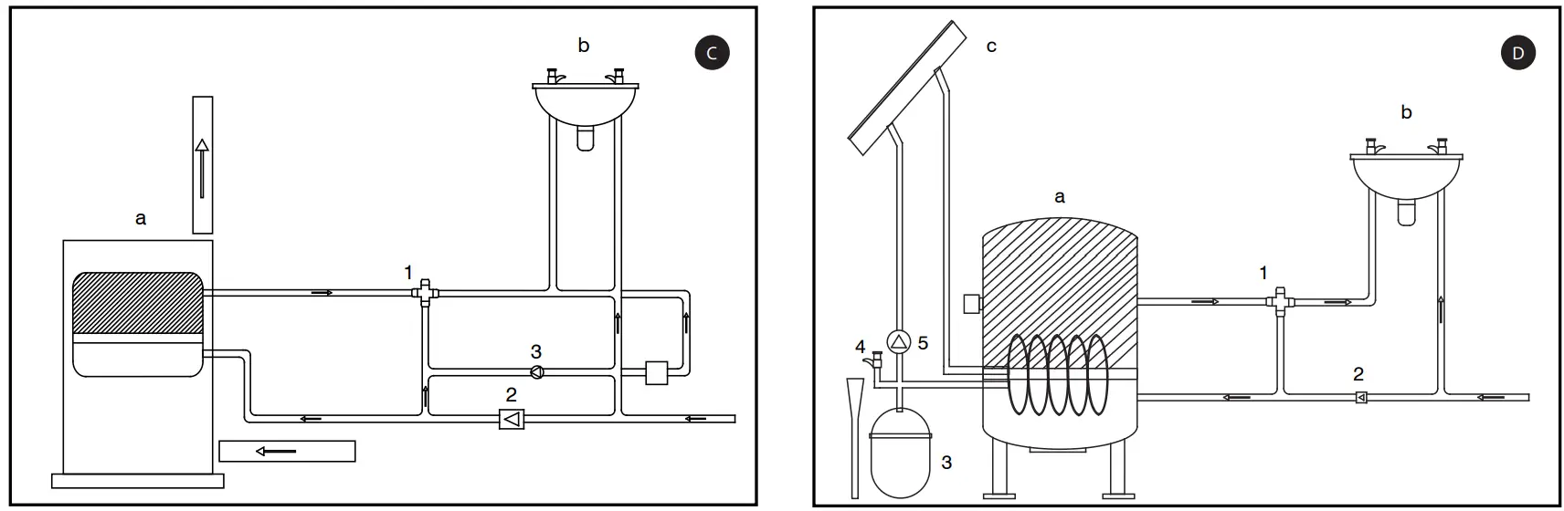
Water Connation


A Hot water boiler |
B Installation with by-pass line |
C +Installation with circulation pump |
D Solar panel installation for hot water with auxiliary heating |
| a. Heated boiler |
| b. Washbasin |
| c. Solar panel |
| 1. Non-return valve |
| 2. Non-return valve |
| 3. Expansion tank |
| 4. Safety |
| 5. Pump |
OKKERSTRAAT 571 – 3125 BD SCHIEDAM – HOLLAND
TEL.: +31(0)88 4884700 – [email protected] – www.vetus.com




















