330PO Safety Pool Ladder
Owner’s Manual
IMPORTANT SAFETY RULES
Read, understand, and follow all instructions carefully before installing and using this product.
Don’t forget to try these other fine Intext products: Pools, Pool Accessories, Inflatable Pools and In-Home Toys, Airbeds and
Boats available at fine retailers or visit our website. Due to a policy of continuous product improvement, Intex reserves the right to change specifications and appearance, which may result in updates to the instruction manual, without notice.
IMPORTANT SAFETY RULES
Read, Understand and Follow All Instructions Carefully Before Installing and Using this Product.
WARNING
- Supervise children and those with disabilities at all times.
- Always assist children when they use the ladder to avoid falls and/or serious injury.
- Never dive or jump from this ladder.
- Locate the ladder on a level, solid base.
- One person on this ladder at a time.
- Maximum load: 300 lbs (136 kg). Complies with EN16582 strength requirements.
- Face the ladder at all times for entry/exit of pool.
- Remove and secure ladder when pool is not occupied.
- Do not swim under, through or behind ladder.
- Check all nuts and bolts regularly to ensure ladder stays sturdy.
- If swimming at night use artificial lighting to illuminate all safety signs, ladders, pool floor and walkways.
- Assembly and disassembly by adults only.
- This ladder is designed and manufactured for a specific pool wall height and/or deck of the pool. Do not use with other pools.
- The non-respect of the maintenance instruction may result in huge risk for health, particularly for children.
- Only use this ladder for the purposes described in this manual.
FAILURE TO FOLLOW THESE WARNINGS MAY RESULT IN BROKEN BONES, ENTRAPMENT, PARALYSIS, DROWNING OR OTHER SERIOUS INJURY.
These product warnings, instructions and safety rules provided with the product represent some common risks of water recreation devices and do not cover all instances of risk and danger. Please use common sense and good judgment when enjoying any water activity.
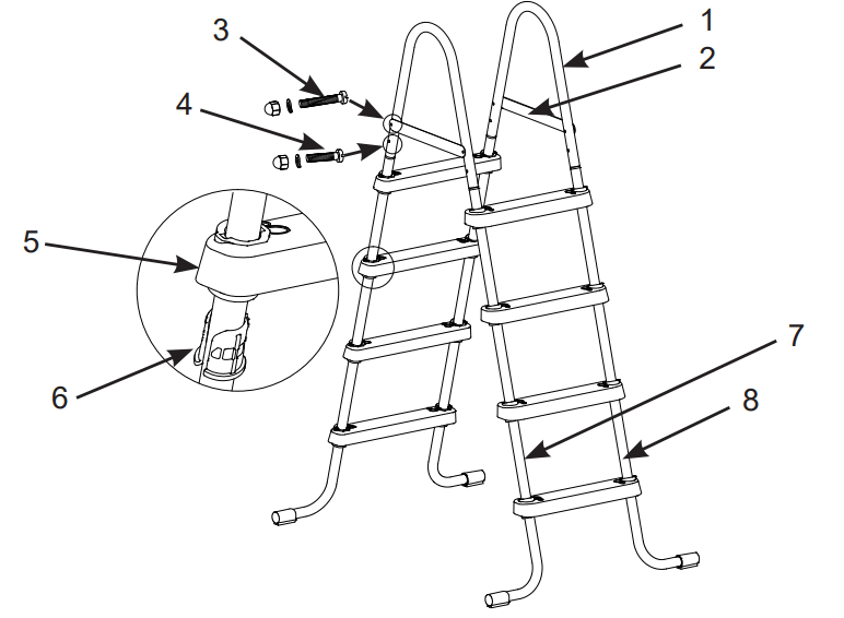
PARTS REFERENCE
Before assembling your product, please take a few minutes to check the contents and become familiar with all the parts.
Drawings for 48” (122cm) model [36” (91cm) and 42” (107cm) not shown]
NOTE: Drawings for illustration purpose only. Actual product may vary. Not to scale.
| REF. NO. | DESCRIPTION | QUANTITY | SPARE PART NO. | ||||||
| 36″ | 42″ | 48″ | |||||||
| 36″ 42″ | 48″ | #28064 | #12625 | #28065 | #12626 | #28066 | #12627 | ||
| 1 | U-SHAPED TOP RAIL | 2 | 2 | 12633A | 12634 | 12637A | 12638 | 12637A | 12638 |
| 2 | TOP BRACE | 2 | 2 | 12509A | 11403 | 12509A | 11403 | 12509A | 11403 |
| 3 | LONG FASTENER FOR TOP BRACE (WITH 1 EXTRA) | 5 | 5 | 10227 | 10227 | 10227 | 10227 | 10227 | 10227 |
| 4 | SHORT FASTENER FOR U-SHAPED TOP RAIL (WITH 1 EXTRA) | 5 | 5 | 10810 | 10810 | 10810 | 10810 | 10810 | 10810 |
| 5 | STEP | 6 | 8 | 12629 | 12631 | 12629 | 12631 | 12629 | 12631 |
| 6 | STEP ANCHOR SLEEVE | 12 | 16 | 12630 | 12632 | 12630 | 12632 | 12630 | 12632 |
| 7 | J-SHAPED SIDE LEG (MARKED “A”) | 2 | 2 | 12635AA | 12636A | 12639AA | 12640A | 12641AA | 12642A |
| 8 | J-SHAPED SIDE LEG (MARKED “8”) | 2 | 2 | 12635AB | 126360 | 12639AB | 12640B | 12641AB | 12642B |
| Item # | Pool Wall Height | Item # | Pool Wall Height |
| 28064 (grey & white) | 36” (91cm) | 12625 (white & blue) | 36” (91cm) |
| 28065 (grey & white) | 42” (107cm) | 12626 (white & blue) | 42” (107cm) |
| 28066 (grey & white) | 48” (122cm) | 12627 (white & blue) | 48” (122cm) |
IMPORTANT
It is very important to lay out the parts correctly and identify which parts connect together before starting the assembly. Although some parts look alike, they are not always interchangeable. Refer to the parts list.
LADDER SETUPTOOLS REQUIRED: One (1) Phillips screwdriver, one (1) small flat screwdriver One (1) pair of pliers or a small adjustable wrench.
IMPORTANT: Do not fully tighten fasteners until last assembly operation.
WARNING
INCORRECTLY CONNECTED PARTS MAY RESULT IN AN UNSTABLE LADDER OR LADDER FAILURE WHICH CAN CAUSE FALLING AND PERSONAL INJURY OR DEATH.
- STEP INSTALLATION (refer to figures 1.1 through 1.3):
IMPORTANT: Ensure the J-shaped legs are pointing outwards before installing the steps.
- U-SHAPED TOP RAIL INSTALLATION (refer to figure 2):

- NSTALLATION OF THE REMAINING LADDER SIDE (refer to figure 3):
- TOP BRACE INSTALLATION – ONE SIDE AT A TIME (refer to figure 4):

- BEFORE USE OF LADDER:
With all parts now in place, verify that all fasteners/screws are fully tightened and apply downward pressure to each step to be sure they are fully anchored in place.
Place the ladder over the side wall of your pool, with one side of the ladder located inside the pool and the other side outside of the pool – see figure 5.
WARNING
• Locate ladder on a level, solid base and make sure the ladder is stable and safe to climb.
• Remove and secure ladder away from the pool when the pool is not in use to prevent unauthorized, unintentional or unsupervised pool entry.
• Check all nuts and bolts regularly and before each use to ensure the ladder is sturdy. See maintenance instructions. - MAINTENANCE:
Regularly check all nuts, bolts, steps and step anchor sleeves to ensure all parts are
secured properly and the ladder is sturdy. Bring the ladder indoors and store in a safe
and dry area, preferably between 32 degrees Fahrenheit (0 degrees Celsius) and
104 degrees Fahrenheit (40 degrees Celsius). - STEP DISASSEMBLY:

GENERAL AQUATIC SAFETY
Water recreation is both fun and therapeutic. However, it involves inherent risks of injury and death. To reduce your risk of injury, read and follow all product, package and package insert warnings and instructions. Remember, however, that product warnings, instructions and safety guidelines cover some common risks of water recreation, but do not cover all risks and dangers.
For additional safeguards, also familiarize yourself with the following general guidelines as well as guidelines provided by nationally recognized Safety
Organizations:
- Demand constant supervision. A competent adult should be appointed as a “lifeguard” or water watcher, especially when children are in and around the pool.
- Learn to swim.
- Take the time to learn CPR and first aid.
- Instruct anyone who is supervising pool users about potential pool hazards and about the use of protective devices such as locked doors, barriers, etc.
- Instruct all pool users, including children what to do in case of an emergency.
- Always use common sense and good judgement when enjoying any water activity.
- Supervise, supervise, supervise.
For additional information on safety, please visit: - The Association of Pool and Spa Professionals: The Sensible Way to Enjoy Your Aboveground/Unground Swimming Pool www.nspi.org
- American Academy of Pediatrics: Pool Safety for Children www.aap.org
- Red Cross www.redcross.org
- Safe Kids www.safekids.org
- Home Safety Council: Safety Guide www.homesafetycouncil.org
- Toy Industry Association: Toy Safety www.toy-tia.org
SAVE THE CARTON FOR STORAGE AND THE INSTRUCTIONS FOR RE-ASSEMBLY
LIMITED WARRANTY
Your Intex Pool Ladder has been manufactured using the highest quality materials and workmanship. All Intext products have been inspected and found free of defects prior to leaving the factory. This Limited Warranty applies to the Intext Pool Ladder only. The provisions of this Limited Warranty apply only to the original purchaser and is not transferable. This Limited Warranty is valid for a period of 1 year from the date of the initial retail purchase. Keep your original sales receipt with this manual, as proof of purchase will be required and must accompany warranty claims or the Limited Warranty is invalid. If a manufacturing defect is found within this 1 year period, please contact the appropriate Intex Service Center listed in the separate “Authorized Service Centers” sheet. The Service Center will determine the validity of the claim. If the Service Center directs you to return the product, please carefully package the product and send with shipping and insurance prepaid to the Service Center. Upon receipt of the returned product, the Intex Service Center will inspect the item and determine the validity of the claim. If the provisions of this warranty cover the item, the item will be repaired or replaced at no charge. Any and all disputes regarding the provisions of this Limited Warranty shall be brought before an informal dispute settlement board and unless and until the provisions of these paragraphs are carried forth, no civil action may be instituted. The methods and procedures of this settlement board shall be subject to the rules and regulations set forth by the Federal Trade Commission (F.T.C.). IMPLIED WARRANTIES ARE LIMITED TO THE TERMS OF THIS WARRANTY AND IN NO EVENT SHALL INTEX, THEIR AUTHORIZED AGENTS OR EMPLOYEES BE LIABLE TO THE BUYER OR ANY OTHER PARTY FOR DIRECT OR CONSEQUENTIAL DAMAGES OR LIABILITIES. Some states, or jurisdictions do not allow the exclusion or limitation of incidental or consequential damages, so the above limitation or exclusion may not apply to you.
This Limited Warranty does not apply if the Intext product is subject to negligence, abnormal use or operation, accident, improper operation, improper maintenance or storage, or to damage by circumstances beyond Index’s control, including but not limited to, ordinary wear and tear and damage caused by exposure to fire, flood, freezing, rain, or other external environmental forces. This Limited Warranty applies only to those parts and components sold by Intext. The Limited Warranty does not cover unauthorized alterations, repairs or disassembly by anyone other than Intext Service Center personnel.
DO NOT GO BACK TO THE PLACE OF PURCHASE FOR RETURN OR REPLACEMENT. IF YOU ARE MISSING PARTS OR NEED ASSISTANCE, PLEASE CALL US (FOR U.S. AND CANADIAN RESIDENTS): 1-310-549-8235 OR VISIT OUR WEBSITE: WWW.INTEXCORP.COM.
Proof of Purchase must accompany all returns or the warranty claim will be invalid.
IMPORTANT: Ensure the J-shaped legs are pointing outwards before installing the steps.



















