INTEX 28270 Small Rectangular Metal Frame Pool

IMPORTANT SAFETY RULES
Please read, understand, and follow all instructions carefully before installing and using this product. keep for future reference.
Don’t forget to try these other fine Intex products: Pools, Pool Accessories, Inflatable Pools and In-Home Toys, Airbeds and Boats available at fine retailers or visit our website listed below. Due to a policy of continuous product improvement, Intex reserves the right to change specifications and appearance, which may result in updates to the instruction manual without notice.
©2021 Intex Marketing Ltd. – Intex Development Co. Ltd. – Intex Recreation Corp. All rights reserved
®™ Trademarks used in some countries of the world under license from Netherlands
www.intexcorp.com
Special Introductory note:
Thanks for buying an Intex pool. Please read this manual before setting up your pool. This information will help extend the pool life and make the pool safer for your family’s enjoyment. A team of 2-3 people is recommended for pool set up. Additional people will speed up the installation.
No tools are required for the assembly.
Read, Understand and Follow All Instructions Carefully Before Installing and Using this Product.
WARNING
- Continuous and competent adult supervision of children and the disabled is required at all times.
- Secure all doors, windows and safety barriers to prevent unauthorized, unintentional or unsupervised pool entry.
- Install a safety barrier that will eliminate access to the pool for young children and pets.
- Pool and pool accessories are to be assembled and disassembled by adults only.
- Never dive, jump or slide into an above-ground pool or any shallow body of water.
- Failure to set up pool on flat, level, compact ground or over filling could result in the pool’s collapse and the possibility that a person lounging in the pool could be swept out/ejected.
- Do not lean, straddle, or exert pressure on the inflatable ring or top rim as injury or flooding could occur. Do not allow anyone to sit on, climb, or straddle the sides of the pool.
- Remove all toys and flotation devices from, in, and around the pool when it is not in use. Objects in the pool attract young children.
- Keep toys, chairs, tables, or any objects that a child could climb on at least four feet (1.22 meters) away from the pool.
- Keep rescue equipment by the pool and clearly post emergency numbers at the phone closest to the pool. Examples of rescue equipment: coast guard approved ring buoy with attached rope, strong rigid pole not less than twelve feet (12′) [3.66m] long.
- Never swim alone or allow others to swim alone.
- Keep your pool clean and clear. The pool floor must be visible at all times from the outside barrier of the pool.
- If swimming at night use properly installed artificial lighting to illuminate all safety signs, ladders, pool floor and walkways.
- Stay away from the pool when using alcohol or drugs/medication.
- Keep children away from pool covers to avoid entanglement, drowning, or other serious injury.
- Pool covers must be completely removed before pool use. Children and adults cannot be seen under a pool cover.
- Do not cover the pool while you or anyone else is in the pool.
- Keep the pool and pool area clean and clear to avoid slips and falls and objects that may cause injury.
- Protect all pool occupants from recreational water illnesses by keeping the pool water sanitized. Don’t swallow the pool water. Practice good hygiene.
- All pools are subject to wear and deterioration. Certain types of excessive or accelerated deterioration can lead to an operation failure, and can ultimately cause the loss of large quantities of water from your pool. Therefore, it is very important that you properly maintain your pool on a regular basis.
- This pool is for outdoor use only.
- Empty pool completely when not in use for a longer period and safely store the empty pool in such a way that it does not collect water from rain or any other source, and to prevent from being blown away by strong wind. See storage instructions.
- While the swimming pool is in use, you will need to operate the filter pump to ensure that there is at least one complete turnover of water a day. Consult your pump’s manual to calculate the necessary operating hours.
POOL BARRIERS AND COVERS ARE NOT SUBSTITUTES FOR CONTINUOUS AND COMPETENT ADULT SUPERVISION. POOL DOES NOT COME WITH A LIFEGUARD. ADULTS ARE THEREFORE REQUIRED TO ACT AS LIFEGUARDS OR WATER WATCHERS AND PROTECT THE LIVES OF ALL POOL USERS, ESPECIALLY CHILDREN, IN AND AROUND THE POOL.
FAILURE TO FOLLOW THESE WARNINGS MAY RESULT IN PROPERTY DAMAGE, SERIOUS INJURY OR DEATH.
Advisory:
Pool owners may need to comply with local or state laws relating to childproof fencing, safety barriers, lighting, and other safety requirements. Customers should contact their local building code enforcement office for further details.
Please read, understand, and follow all instructions carefully before installing and using this product. These warnings, instructions, and safety guidelines address some common risks of water recreation, but they cannot cover all risks and dangers in all cases. Always use caution, common sense, and good judgment when enjoying any water activity. Keep for future reference. Packaging must be read carefully and kept for future reference. See product for additional warnings.
General
- Check pins, bolts and/or screws for rust; splinters or any sharp edges regularly, especially accessible surfaces, to avoid injuries.
Non swimmers safety
- Continuous, active, and vigilant supervision of weak swimmers and non-swimmers by a competent adult is required at all times (remembering that children under five are at the highest risk of drowning).
- Designate a competent adult to supervise the pool each time it is being used.
- Weak swimmers or non-swimmers should wear personal protection equipment when using the pool.
- When the pool is not in use, or unsupervised, remove all toys from the swimming pool and its surrounding to avoid attracting children to the pool.
Safety devices
- It is recommended to keep rescue equipment (e.g. a ring buoy) by the pool.
- Keep a working phone and a list of emergency phone numbers near the pool.
Safe use of the pool
- Encourage all users especially children to learn how to swim
- Learn Basic Life Support (Cardiopulmonary Resuscitation – CPR) and refresh this knowledge regularly. This can make a life-saving difference in the event of an emergency.
- Instruct all pool users, including children, what to do in case of an emergency
- Never dive into any shallow body of water. This can lead to serious injury or death.
- Do not use the swimming pool when using alcohol or medication that may impair your ability to safely use the pool.
- When pool covers are used, remove them completely from the water surface before entering the pool.
- Protect pool occupants from water related illnesses by keeping the pool water treated and practicing good hygiene. Consult the water treatment guidelines in the user’s manual.
- Store chemicals (e.g. water treatment, cleaning or disinfection products) out of the reach of children.
- Removable ladders shall be placed on a horizontal surface.
- Observe and follow the warnings and safety signs on the pool wall.
SAVE THESE INSTRUCTIONS
PARTS REFERENCE
Before assembling your product, please take a few minutes to check the contents and become familiar with all the parts.
NOTE: Drawings for illustration purpose only. Actual product may vary. Not to scale.
| REF. NO. | DESCRIPTION | QUANTITY | SPARE PART NO. |
| 1 | HORIZONTAL BEAM (A) | 4 | 10566 |
| 2 | HORIZONTAL BEAM (B) | 4 | 10567 |
| 3 | HORIZONTAL BEAM (C) | 4 | 10568 |
| 4 | VERTICAL CORNER LEG | 4 | 10569 |
| 5 | CORNER JOINT (WITH CORNER SEAT) | 4 | 10573A |
| 6 | PIN (WITH 2 EXTRA) | 26 | 10574 |
| 7 | “T” JOINT | 8 | 10575A |
| 8 | SPRING PIN | 8 | 10313 |
| 9 | “Y” JOINT VERTICAL LEG | 8 | 10570 |
| 10 | “INVERTED T” SIDE SUPPORT LEG | 8 | 10571 |
| 11 | STRAINER HOLE PLUG (WITH 1 EXTRA) | 3 | 10127 |
| 12 | SPRING PIN | 8 | 10577 |
| 13 | VERTICAL LEG END CAP | 12 | 10576 |
| 14 | POOL LINER (DRAIN VALVE CAP INCLUDED) | 1 | 10580 |
| 15 | DRAIN CONNECTOR | 1 | 10201 |
| 16 | DRAIN VALVE CAP | 1 | 10649 |
POOL SETUP
IMPORTANT SITE SELECTION AND GROUND PREPARATION INFORMATION
WARNING
- The pool location must allow you to secure all doors, windows, and safety barriers to prevent unauthorized, unintentional or unsupervised pool entry.
- Install a safety barrier that will eliminate access to the pool for young children and pets.
- Failure to set up the pool on flat, level, compact ground and to assemble and fill with water in accordance with the following instructions could result in the pool’s collapse or the possibility that a person lounging in the pool could be swept out/ejected, resulting in serious injury or property damage.
- Risk of electric shock: connect the filter pump only to a grounding type receptacle protected by a ground-fault circuit interrupter (GFCI) or residual current device (RCD). To reduce the risk of an electrical shock, do not use extension cords, timers, plug adapters or converter plugs to connect the pump to an electrical supply. Always provide a properly located outlet. Locate the cord where it cannot be damaged by lawn mowers, hedge trimmers, and other equipment. See the filter pump manual for additional warnings and instructions.
- Risk of serious injury: do not attempt to assemble pool in high wind conditions.
Select an outdoor location for the pool with the following requirements in mind:
- The area where the pool is to be set up must be absolutely flat and level. Do not set up the pool on a slope or inclined surface.
- The ground surface must be compacted and firm enough to withstand the pressure and weight of a fully set up pool. Do Not set up the pool on mud, sand, soft or loose soil conditions.
- Do not set up the pool on a deck, balcony or platform, which may collapse under the weight of the filled pool.
- The pool requires at least 5 – 6 feet (1.5 – 2.0 m) of space all around pool from objects that a child could climb on to gain access to the pool.
- Grass under the pool will be damaged. Splash out chlorinated pool water could damage the surrounding vegetation.
- Eliminate all aggressive grasses first. Certain types of grass such as St. Augustine and Bermuda, may grow through the liner. Grass growing through the liner it is not a manufacture defect and is not covered under warranty.
- The area shall facilitate drainage of the pool water after each use and/or for long term pool storage.
You may have purchased this pool with the Intex Krystal Clear™ filter pump. The pump has its own separate set of installation instructions. First assemble your pool unit and then set up the filter pump.
Estimated assembly time 30 minutes. (Note the assembly time is only approximate and individual assembly experience may vary.)
1. Find a flat, level location that is free and clear of stones, branches or other sharp objects that may puncture the pool liner or cause injury.
- Open the carton containing the liner, joints, legs, etc., very carefully as this carton can be used to store the pool during the winter months or when not in use.
- Remove the liner (14) from carton and spread it out over the ground cloth with the drain valve towards the draining area. Place the drain valve away from the house. Spread it out completely with its edges being at least 5 – 6’ (1.5 – 2.0 m) from any obstacle such as walls, fences, trees, etc. Open it up to warm it in the sun. This warming will make installation easier. Be sure to face the end with the 2 hose connectors towards the electrical power source.
IMPORTANT: Always set up the pool unit with at least 2 persons. Do not drag the liner across the ground as this can cause liner damage and pool leakage (see drawing 1). - During the setup of the pool liner, point the hose connections or openings in the direction of the electric power source. The outer edge of the pool should be within reach of the pump’s electrical connection.
Remove all the parts from the carton(s) and place them on the ground in the location where they are to be assembled. Check the parts listing and be sure all the pieces to be assembled are accounted for (see drawing 2). IMPORTANT: Do not start assembly if any pieces are missing. For replacement pieces call the Consumer Service telephone number in your area.
After all pieces are accounted for, move the pieces away from the liner for of installation.
NOTE: Sprinkle some talcum powder over the horizontal beams before sliding them into the pool liner sleeve. This will make removal of the beams from the liner easier during the disassembly of the pool.
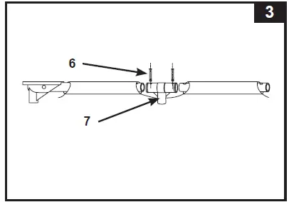
Use “A-A” beams combination for pool’s short sides and insert “B-C-C-B” beams into the long sides of the pool. Insert the beam through the “T” joint (7) at each liner sleeve middle opening. Secure the joints using the pins (6)(see drawing 3).
Connect the corner joints (5) to the horizontal beams at 4 corners. Secure the joints with the pins (6) by inserting them into the pre-drilled holes (see drawing 4).
Connect the vertical corner legs (4) to the corner top rail joints (5) (see drawing 5).
Attached the leg’s end cap (13) to the bottom of the vertical legs (4) (see drawing 6).
Pull the restrainer straps out from under the liner. Connect the “Y” joint vertical legs (9) to the “T” joints (7) and secure these joints using the preinstalled spring-loaded pins (8). Also align the restrainer strap holes with the base of “Y” joint vertical legs (9). Attached the leg’s end cap (13) to the bottom of the “Y” joint vertical legs (9) (see drawing 7).
Connect the “Inverted T” sides support legs (10) to the outward facing angle of joints (9). Stretch the restrainer straps towards the matching sides support legs. Hook the respective sleeves of the restrainer strap to the base of the sides support legs (10) (see drawing 8).
If pool was purchased without a filter pump, use 2 of the 3 plugs provided and plug them into the optional black filter pump outlets from the inside of the pool so water will not leak out while filling.
Before filling the pool with water, ensure that the drain plug inside the pool is closed and that the drain cap on the outside is screwed on tightly. Fill the pool with no more than 1 inch (2.5 cm) of water. Check to see whether the water is level.
IMPORTANT: If the water in the pool flows to one side, the pool is not completely level. Setting up the pool on unleveled ground will cause the pool to tilt resulting in the sidewall material to bulge and a potential collapse of the pool. If the pool is not completely level, you must drain the pool, level the area and re-fill the pool, following the above directions.
Smooth out the remaining wrinkles (from inside the pool) by pushing out where the pool floor and pool sides meet. Or (from outside pool) reach under the pool side of the pool, grasp the pool floor and pull it out.
Fill the pool with water up to just below the sleeve line (see drawing 9).
NOTE: The pool side walls and frame structure will lean inward after having been filled with water to the recommended level. Do not be concerned by the inward leaning of the side walls, this is to accommodate the water movement and pressure when the pool is in use.
IMPORTANT
Before allowing anyone to use the pool, hold a family meeting. Establish a set of rules that include, at a minimum, the important safety rules and general aquatic safety information in this manual. Review these rules on a regular basis and with all users of the pool including guests.
POOL MAINTENANCE & CHEMICALS
WARNING
REMEMBER TO
- Protect all pool occupants from possible water-related illnesses by keeping the pool water clean and sanitized. Do not swallow the pool water. Always practice good hygiene.
- Keep your pool clean and clear. The pool floor must be visible at all times from the outside barrier of the pool.
- Keep children away from pool covers to avoid entanglement, drowning, or another serious injury.
Water maintenance
The maintenance of a proper water balance through appropriate use of sanitizers is the single most important factor in maximizing the life and appearance of the liner as well as ensuring clean, healthy and safe water. Proper technique is important for testing and treating the pool water. See your pool professional for chemical, test kits and testing procedures. Be sure to read and follow the written instructions from the chemical manufacturer.
- Never let chlorine come in contact with the liner if it is not completely dissolved. Dissolve granular or tablet chlorine first in a bucket of water, then add it to the pool water. Likewise with liquid chlorine; mix it immediately and thoroughly with the pool water.
- Never mix chemicals together. Add the chemicals to the pool water separately. Thoroughly dissolve each chemical before adding another one to the water.
- An Intex pool skimmer and an Intex pool vacuum are available to assist in maintaining clean pool water. See your pool dealer for these pool accessories.
- Do not use a pressure washer to clean the pool.
TROUBLESHOOTING
| PROBLEM | DESCRIPTION | CAUSE | SOLUTION |
| ALGAE | • Greenish water. • Green or black spots on pool liner. • Pool liner is slippery and/or has a bad odor. | • Chlorine and pH level need adjustment. | • Super chlorinate with shock treatment. Correct pH to your pool store’s recommended level. • Vacuum pool bottom. • Maintain proper chlorine level. |
| COLORED WATER | • Water turns blue, brown, or black when first treated with chlorine. | • Copper, iron or manganese in water being oxidized by the added chlorine. | • Adjust pH to the recommended level. • Run filter until water is clear. • Replace cartridge frequently. |
| FLOATING MATTER IN WATER | • Water is cloudy or milky. | • “Hard water” caused by a too high pH level. • Chlorine content is low. • Foreign matter in water. | • Correct the pH level. Check with your pool dealer for advice. • Check for proper chlorine level. • Clean or replace your filter cartridge. |
| CHRONIC LOW WATER LEVEL | • Level is lower than on previous day. | • Rip or hole in pool liner or hoses. | • Repair with patch kit. • Finger tighten all caps. • Replace the hoses. |
| SEDIMENT ON POOL BOTTOM | • Dirt or sand on pool floor. | • Heavy use, getting in and out of pool. | • Use Intex pool vacuum to clean bottom of pool. |
| SURFACE DEBRIS | • Leaves, insects etc. | • Pool too close to trees. | • Use Intex pool skimmer. |
POOL MAINTENANCE & DRAINAGE
CAUTION ALWAYS FOLLOW THE CHEMICAL MANUFACTURER’S DIRECTIONS, AND THE HEALTH AND HAZARD WARNINGS.
Do not add chemicals if the pool is occupied. This can cause skin or eye irritation. Concentrated chlorine solutions can damage the pool liner. In no event is Intex Recreation Corp., Intex Development Co. Ltd., their related companies, authorized agents and service centers, retailers or employees liable to the buyer or any other party for costs associated with the loss of pool water, chemicals or water damage. Keep spare filter cartridges on hand. Replace cartridges every two weeks. We recommend the use of a Krystal Clear™ Intex Filter Pump with all of our above-ground-pools.
EXCESSIVE RAIN: To avoid damage to the pool and over filling, immediately drain rain water that causes the water level to be higher than the maximum.
How to Drain Your Pool and Long Term Storage
Note: This pool has drain valve installed in the corner. Connect the garden hose to the corner valve that directs the water to the appropriate location.
- Check local regulations for specific directions regarding disposal of swimming pool water.
- Check to make sure that the drain plug inside the pool is plugged in place.
- Remove the cap from the drain valve on the outside pool wall.
- Attach the female end of the garden hose to the drain connector.
- Place the other end of the hose in an area where the water can be safely drained away from the house.
- Attach the drain connector to the drain valve. NOTE: The drain connector will push the drain plug open inside the pool and water will start to drain immediately.
- When the water stops draining, start lifting the pool from the side opposite the drain, leading any remaining water to the drain and emptying the pool completely.
- Disconnect hose and adapter when finished.
- Re-insert drain plug in drain valve on inside of pool for storage.
- Replace drain cap on outside of pool.
- Reverse the set-up instructions to disassemble the pool, and remove all connecting parts.
- Be sure that the pool and all parts are completely dry before storage. Air dry the liner in the sun until completely dry before folding (see drawing 10). Sprinkle some talcum powder to prevent the vinyl from sticking together and to absorb any residual moisture.
- Create rectangular shape. Starting at one side, fold one-sixth of liner in on itself twice. Do the same on the opposite side (see drawings 11.1 & 11.2).
- Once you have created two opposing folded sides, simply fold one over the other like closing a book (see drawings 12.1 & 12.2).
- Fold the two long ends to the middle (see drawing 13).
- Fold one over the other like closing a book and finally compact the liner (see drawing 14).
- Store the liner and accessories in a dry, temperature controlled, between 32 degrees Fahrenheit (0 degrees Celsius) and 104 degrees Fahrenheit (40 degrees Celsius), storage location.
- The original packing can be used for storage.

WINTER PREPARATIONS
Winterizing your Above Ground Pool
After usage, you can easily empty and store away your pool in a safe place. You must drain, disassemble and properly store the pool when the temperature drops below 41 degrees Fahrenheit (5 degrees Celsius) to prevent ice damage to the pool and related components. Ice damage can result in sudden liner failure or pool collapse. Also see the section ‘’How To Drain Your Pool’’.
Should temperatures in your area not drop below 41 degrees Fahrenheit (5 degrees Celsius), and you choose to leave your pool out, prepare it as follows:
- Clean the pool water thoroughly. If the type is an Easy Set Pool or an Oval Frame Pool, make sure that the top ring is properly inflated.
- Remove the skimmer (if applicable) or any accessories attached to the threaded strainer connector. Replace strainer grid if necessary. Be sure all accessories parts are clean and completely dry before storage.
- Plug the Inlet and Outlet fitting from the inside of the pool with the plug provided (sizes 16′ and below). Close the Inlet and Outlet Plunger Valve (sizes 17′ and above).
- Remove the ladder (if applicable) and store in a safe place. Be sure the ladder is completely dry before storage.
- Remove the hoses that connect the pump and filter to the pool.
- Add the appropriate chemicals for the winter period. Consult your local pool dealer as to which chemicals you should use and how to use them. This can vary greatly by region.
- Cover pool with Intex Pool Cover. IMPORTANT NOTE: INTEX POOL COVER IS NOT A SAFETY COVER.
- Clean and drain the pump, filter housing and hoses. Remove and discard the old filter cartridge. Keep a spare cartridge for the next season.
- Bring pump and filter parts indoors and store in a safe and dry area, preferably between 32 degrees Fahrenheit (0 degrees Celsius) and 104 degrees Fahrenheit (40 degrees Celsius).
GENERAL AQUATIC SAFETY
Water recreation is both fun and therapeutic. However, it involves inherent risks of injury and death. To reduce your risk of injury, read and follow all product, package and package insert warnings and instructions. Remember, however, that product warnings, instructions and safety guidelines cover some common risks of water recreation, but do not cover all risks and or dangers.
For additional safeguards, also familiarize yourself with the following general guidelines as well as guidelines provided by nationally recognized Safety Organizations:
- Demand constant supervision. A competent adult should be appointed as a “lifeguard” or water watcher, especially when children are in and around the pool.
- Learn to swim.
- Take the time to learn CPR and first aid.
- Instruct anyone who is supervising pool users about potential pool hazards and about the use of protective devices such as locked doors, barriers, etc.
- Instruct all pool users, including children what to do in case of an emergency.
- Always use common sense and good judgment when enjoying any water activity.
- Supervise, supervise, supervise.
LIMITED WARRANTY
Your Intex Pool has been manufactured using the highest quality materials and workmanship. All Intex products have been inspected and found free of defects prior to leaving the factory. This Limited Warranty applies to the Intex Pool only.
This limited warranty is in addition to, and not a substitute for, your legal rights and remedies. To the extent that this warranty is inconsistent with any of your legal rights, they take priority. For example, consumer laws across the European Union provide statutory warranty rights in addition to the coverage you receive from this limited warranty: for information on EU-wide consumer laws, please visit the European Consumer Center website at http://ec.europa.eu/consumers/ecc/contact_en/htm
The provisions of this Limited Warranty apply only to the original purchaser and are not transferable. This Limited Warranty is valid for the period noted below from the date of the initial retail purchase. Keep your original sales receipt with this document, as proof of purchase will be required and must accompany warranty claims or the Limited Warranty will be invalid.
Pool Liner and Frame Warranty – 1 Year
If you find a manufacturing defect in the Intex Pool during the warranty period, please contact the appropriate Intex Service Center listed in the separate “Authorized Service Centers” sheet. If the item is returned as directed by the Intex Service Center, the Service Center will inspect the item and determine the validity of the claim. If the item is covered by the provisions of the warranty, the item will be repaired or replaced, with the same or comparable item (at Intex’s choice) at no charge to you.
Other than this warranty, and other legal rights in your country, no further warranties are implied. To the extent possibly in your country, in no event shall Intex be liable to you or any third party for direct or consequential damages arising out of the use of your Intex Pool, or Intex or its agents’ and employees’ actions (including the manufacture of the product). If your country does not allow the exclusion or limitation of incidental or consequential damages, this limitation or exclusion does not apply to you.
You should note that this limited warranty does not apply in the following circumstances:
- If the Intex Pool is subject to negligence, abnormal use or application, accident, improper operation, improper maintenance or storage.
- If the Intex Pool is subject to damage by circumstances beyond Intex’s control, including but not limited to, punctures, tears, abrasions, ordinary wear and tear and damage caused by exposure to fire, flood, freezing, rain, or other external environmental forces;
- To parts and components not sold by Intex; and/or
- To unauthorized alterations, repairs or disassembly to the Intex Pool by anyone other than Intex Service Center personnel.
The costs associated with the loss of pool water, chemicals or water damages are not covered by this warranty. Injury or damage to any property or person is not covered by this warranty.
Read the owner’s manual carefully and follow all instructions regarding proper operation and maintenance of your Intex Pool. Always inspect your product prior to use. This limited warranty will be void if use instructions are not followed.
References
GWM Agency | Garten- und Kleinmöbel Grosshändler
Intex : premier fabricant au monde de piscines hors sol et d'articles gonflables
Intex - официальный сайт
Steinbach Pools und Poolzubehör - “we are pool”
INTEX: The leader in Above Ground Swimming Pools, Air Mattresses and Inflatable Spas
Steinbach Pools und Poolzubehör - “we are pool”
intexcorp.nl
intexdevelopment.com
intexitalia.com
ساماكو السيارات | الرئيسية
The domain name ToyBrokers.com is for sale | Dan.com
INTEX 28270 Small Rectangular Metal Frame Pool

















