avenli A1442567 Frame Rectangular Pool Set Owner’s Manual
Drawing for illustration purpose only. Actual product may vary. Not to scale.
Detailed information of product model and size is shown at the end of this manual!
DO NOT RETURN PRODUCT TO STORE
SHANGHAI JILONG SPORT AND LEISURE PRODUCTS CO., LTD 2555 xiuPu Road, Pudong Area,Shanghai,China. www.avenli.com
JIANGSU JILONG SPORT AND LEISURE PRODUCTS CO., LTD
NO.1 Industrial Area South Zhongchen Road Zhongyang Town,Suqian,Jiangsu,China
Please read carefully and keep for future reference!
THE SAFETY INSTRUCTIONS
Carefully read, understand, and follow all information in this user manual before installing and using the swimming pool. These warnings, instructions, and safety guidelines address some common risks of water recreation, but they cannot cover all risks and dangers in all cases. Always use caution, common sense, and good judgment when enjoying any water activity. Please read carefully and keep for future reference.
Non Swimmers safety
- Continuous, active, and vigilant supervision of weak swimmers and non-swimmers by a competent adult is required at all times (remembering that children under five are at the highest risk of drowning);
- Designate a competent adult to supervise the pool each time it is being used;
Weak swimmers or non-swimmers should wear personal protection equipment when using the pool;- When the pool is not in use, or unsupervised, remove all toys from the swimming pool and its surrounding to avoid attracting children to the pool.
Safety devices
- It is recommended to install a barrier (and secure all doors and windows, where applicable) to prevent unauthorized access to the swimming pool;
- Barriers, pool covers, pool alarms, or similar safety devices are helpful aids, but they are not substitutes for continuous and competent adult supervision.
Safety equipment
- It is recommended to keep rescue equipment (e.g. a ring buoy) by the pool;
- Keep a working phone and a list of emergency phone numbers near the pool.
Safe use of the pool
- Encourage all users especially children to learn how to swim;
- Learn Basic Life Support (Cardiopulmonary Resuscitation – CPR) and refresh this knowledge regularly. This can make a lifesaving difference in the event of an emergency;
- Instruct all pool users, including children, what to do in case of an emergency;
- Never dive into any shallow body of water. This can lead to serious injury or death;
- Do not use the swimming pool when using alcohol or medication that may impair your ability to safely use the pool;
- When pool covers are used, remove them completely from the water surface before entering the pool;
- Protect pool occupants from water related illnesses by keeping the pool water treated and practicing good hygiene. Consult the water treatment guidelines in the user’s manual;
- Store chemicals (e.g. water treatment, cleaning or disinfection products) out of the reach of children.
- Use the signage as outlined below;
- Removable ladders shall be placed on a horizontal surface.
- Warning: a drained pool outdoors may cause unknown hazards.
WARNING: Installation and assembly shall be done by adults.
WARNING: Read and follow the the instruction for use and maintenance to ensure a safe use of the swimming-pool kit. Not following the instructions for use and maintenance can cause serious health hazards, in particular for children.
WARNING: Only for domestic outdoor use.
WARNING: Drowning hazard. Children can drown in very small amounts of water.
WARNING: It is recommended to install a barrier (and secure all doors and windows, where applicable) to prevent unauthorized access to the swimming pool.
WARNING: Keep children under supervision in the aquatic environment.
WARNING: No diving.
This safety sign must be posted in a prominent visible position within 2m of the pool. Alternatively you may purchase a vinyl base glue (not included) to glue the sign to the pool wall next to the entry and exit point,assuring it is prominently visible to all users when approaching the pool.
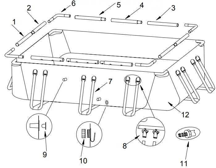
PART REFERENCE

-4m x 2m x 99cm (13’ x 6,5’ x 39”)
| Model | Size | Water Capacity | Pump | Ladder |
| 17726XX | 4m x 2m x 99cm (13’ x 6,5’ x 39”) | 1854Gal(7020L) | √ | √ |
| 17726 | 4m x 2m x 99cm (13’ x 6,5’ x 39”) | 1854Gal(7020L) | × | × |
| 17726-1XX | 4m x 2m x 99cm (13’ x 6,5’ x 39”) | 1854Gal(7020L) | √ | √ |
XX : DE/EU/GB/FR/IL/CH/BR/RU
NOTE: Drawing for illustration purpose only. Actual product may vary. Not to scale.
Before assembling your pool, layout and review the contents to become familiar with all the parts you will be using during the assembly:
| 4m x 2m x 99cm (13’ x 6,5’ x 39”) | |||
| NO. | NAME | QTY | SPARE PART |
| 1 | Horizontal Beam A | 2 | 393037 |
| 2 | Horizontal Beam B | 2 | 393038 |
| 3 | Horizontal Beam C | 2 | 393039 |
| 4 | Horizontal Beam D | 2 | 393040 |
| 5 | Horizontal Beam E | 2 | 393041 |
| 6 | L-Tube | 4 | 393042 |
| 7 | U-Tube | 10 | 393043 |
| 8 | T-Joint | 20 | 393010 |
| 9 | Stopper | 2 | 290311 |
| 10 | Drainage Valve Cover | 1 | 290367 |
| 11 | Drainage Valve Connector | 1 | 290365 |
| 12 | Pool Liner | 1 | 393151 |

-4m x 2.07m x 1.22m (13’ x 6,8’ x 48”)
| Model | Size | Water Capacity | Pump | Ladder |
| 17727 | 4m x 2.07m x 1.22m (13’ x 6,8’ x 48”) | 2343Gal(8870L) | × | × |
| 17727XX | 4m x 2.07m x 1.22m (13’ x 6,8’ x 48”) | 2343Gal(8870L) | √ | √ |
| 17727-1XX | 4m x 2.07m x 1.22m (13’ x 6,8’ x 48”) | 2343Gal(8870L) | √ | √ |
XX : DE/EU/GB/FR/IL/CH/BR/RU
NOTE: Drawing for illustration purpose only. Actual product may vary. Not to scale.
Before assembling your pool, layout and review the contents to become familiar with all the parts you will be using during the assembly:
| 4m x 2.07m x 1.22m (13’ x 6,8’ x 48”) | |||
| NO. | NAME | QTY | SPARE PART |
| 1 | Horizontal Beam A | 2 | 393045 |
| 2 | Horizontal Beam B | 2 | 393046 |
| 3 | Horizontal Beam C | 2 | 393047 |
| 4 | Horizontal Beam D | 2 | 393048 |
| 5 | Horizontal Beam E | 2 | 393049 |
| 6 | L-Tube | 4 | 393050 |
| 7 | U-Tube | 10 | 393051 |
| 8 | T-Joint | 20 | 393010 |
| 9 | Stopper | 2 | 290311 |
| 10 | Drainage Valve Cover | 1 | 290367 |
| 11 | Drainage Valve Connector | 1 | 290365 |
| 12 | Pool Liner | 1 | 393152 |
SITE SELECTION
WARNING: Pools installed on inadequately level surfaces are subject to leaking, forming irregularities, or collapse, which can result in property damage or serious injury for those in or around the pool area!
WARNING: Do not use sand during setup process. If it appears that there is a need for use of a “leveling agent”, then your set-up site is likely unsuitable. FAILURE TO OBEY THIS WARNING MAY RESULT IN SERIOUS PERSONAL INJURY.
CAUTION: Please choose your set-up area carefully, as lawn and other desirable vegetation underneath the ground cloth(If applicable) will die. Furthermore, try to avoid setting the ground cloth(If applicable)in areas prone to aggressive plant and weed species, as they may grow through the ground cloth(If applicable).
CAUTION: The pool must be accessible to a 110 or 230-volt AC outlet protected by a Ground Fault Circuit Interrupter (GFCI). The pool should be set no closer than 2 m. to the power source, but no further than the length of the filter pump cord. Under no circumstances should an extension cord be used to extend the range of the connection.
It is absolutely essential to select a suitable site for your pool BEFORE attempting to fill it with any water. Please select a set-up site which strictly conforms to the following guidelines:
Guide1. Ensure that the area is firm, flat (no bumps or mounds of earth) and extremely level, with a grade not exceeding 3° of slope at any point in the set-up area.
Guide2. Make sure that the area you have selected to set-up the pool is completely free of sticks, stones, sharp objects or other foreign debris.
Guide3. Select an area that is not directly underneath overhead power lines or trees. Additionally, make sure that the pool set-up area does not contain underground utility pipes, lines, or cables or any kind.
Guide4. If a ground cloth is provided with your pool kit, its use is highly recommended. The ground cloth will help protect the pool liner from damage due to weed growth, sharp objects, and debris.
Guide5. If at all possible, choose an open location on your property that is exposed to direct sunlight. This will help to warm your pool.

SET UP THE POOL
IMPORTANT: Do not start assembly if any pieces are missing. For replacement pieces call the Consumer Service telephone number in your area.
The number of persons required for installation: 2 adult at least.
Total installation time except the time for site preparation and water filling : 45 minutes for size 13’ x 6.5’ x 39”/13’ x 6.8’ x 48”
For the steel frame swimming pool, no tools are required for the installation. For the filter pump (if applicable), no tools are required for the installation.For the ladder (if applicable), the tool required for the installation is one screwdriver, one wrench.
Step1. ACCOUNT FOR ALL PARTS.
Remove all the parts from the carton(s) and place them on the ground in the location where they are to be assembled Check each part according to “PART REFERENCE” .Make sure all the pieces to be assembled are accounted for.
Step2. INSTALL DRAIN VALVES COVER AND STOPPER
Make sure that outer drain plug is inserted into the outer drain cap and drain valve cover is screwed on tightly.Plug the connection holes with the stoppers. (The out drain plug changes according to different size of pool.)

Step3. INSTALL THE U-TUBES

Step4. INSTALL HORIZONTAL BEAM
For the long side sleeve of the pool:

For the short side sleeve of the pool:


Step5. INSTALL HORIZONTAL BEAM AND L-TUBE

Step6. INSTALL HORIZONTAL BEAM AND U-TUBES

FILL THE POOL WITH WATER
WARNING: Do not leave pool unattended while filling with water.
WARNING: If more than 1~2 inches of water collects on any one side before you start filling in the center.The pool is not level enough, and must be corrected! You shall pull out the drain plug, release the water completely, disassemble the pool completely,locate the pool on a plane surface, repeat set up instructiion.
WARNING: DO NOT OVERFILL as this could cause the pool to collapse.In times of heavy rainfall you may need to empty some of the water to ensure the level is correct.

- Make sure the drain fitting is plugged securely and the cap is in place. Start filling the pool with water. After about 1-inch of water is on the bottom, stop filling and smooth wrinkles out of the bottom of the pool. Pull the outer wall out from the top edge, all around the bottom of the pool, so that it fills evenly.
- Contineue filling the pool until water level.
WINTERISING AND LONG-TERM STORAGE
WARNING: Do not let your children stand at downfold and face the water outlet during the drainage. The water current may sweep your children.
WARNING: Pool should be stored at places where is cool and dry, with no sharp object surroued, or no heavy objects lying above, which may cause damage to the pool.
Step1. If you have a filter pump, make sure that the electricity source to the filter pump has been disconnected.
Step2. Check to ensure that the out drain plug is firmly inserted on the inside of the pool.
Step3. Attach your garden hose to the drainage valve connector, and placing the other end of the hose in an area where the water can drain safely, such as a storm drain or street gutter. Remember that because water always finds its own level, the end of the hose must be lower in elevation than the pool to ensure complete drainage.
Step4.If you have a filter pump, insert the stopper into the inlet and outlet fix tures, on inside of pool, and then disconnect the filter pump hoses.
Step5. Attach the drainage valve connector to the drain outlet by turning connector in a clockwise direction.
Step6. Open the out drain plug on the inside of the pool and the water will begin to drain immediately.
Step7. Disconnect the hose and drainage valve connector when finished.
Step8. Replace the out drain plug on the inside of the pool.
Step9. Be sure that the pool liner is completely dry before folding the pool for long-term storage. Leaving the pool exposed to sunlight for a few hours will clean and speed the drying process and make it easier to fold the pool for storage. (Never attempt to fold or stow a pool that is not completely dry as this could lead to a proliferation of mold or mildew build-up during the time the pool is in storage.)
Step10. Remember, proper off-season storage is critical to protect your investment in your pool.(espeically in winter) Once drained and dry, your pool should be carefully folded and wrapped in a ground cloth (if available) or other similar protective tarp-like material. The pool and all applicable accessories such as the pump, cover, ground cloth, ladder, hoses, clamps, and hardware should be kept together and stored indoors, in a reasonably warm, dry and weatherproof location.
FOLDING INSTRUCTION
Before folding, it’s better to dry all parts and pool completely by lying them in the sun for one hour or so.(PIC.1). And then, spread some talcum powder to prevent the vinyl from sticking together.
Step1. Please fold the protrusion sides inside to gain rectangle shape.(PIC.2).
Step2. Fold each half of the rectangle to gain a smaller rectangle shape.(PIC.3).
Step3. Fold each ends backwards. (PIC.4).
Step4. Fold the rest ends together to create an ultimate rectangle one.(PIC.5).
TIPS1. Please remove air inside to make the folded pool thin and flat during each folding.
TIPS2. The original packing can be used for storage.

IN-SEASON POOL MAINTENANCE AND WATER CARE
WARNING: If applicable, the filter pump included with your pool is designed to remove dirt and other small particles from your pool water. However, to maintain pool water that is perfectly clear, algae free, and safe from harmful bacteria, it is VERY IMPORTANT TO ENGAGE IN A CONSISTENT REGIMEN OF CHEMICAL TREATMENT. Contact your local pool supply retailer for guidance on the safe and effective use of chlorine, shock, algaecide and other such chemicals.
WARNING:To avoid skin and eye irritation or even injury to bathers, never add chemicals to the pool while it is occupied. Never add any chemicals or substances to your pool if you cannot verify the exact quantity or type to add to the water. Consult a pool supply retailer for specific instructions and guidelines concerning the use of chemicals in your pool.
WARNING: It is highly recommended that pool owners frequently test their pool water to ensure that the pH and chlorine concentration in the water is optimal for safe and enjoyable bathing throughout the season. Please consult your pool supply retailer to find a suitable testing kit and instructions on its use.
WARNING: Non-respect of the maintenance rules may result in serious hazards for health and especially for the children.
This product is designed to be storable, seasonal pools. If you live in a temperate area in which the pool will not be in use year-round, it is STRONGLY RECOMMENDED that you drain your pool, clean and dry it thoroughly, and store it in a protected area for the off-season. This will help extend the life of your pool and prevent a safety hazard from developing while the pool is not in use. During the season of use of the pool kit, the filtration system (if applicable) must be put into service each day, long enough to ensure at least a complete renewal of the volum of water.Irrespective of materials used for swimming pool construction, accessible surfaces have to be checked regularly to avoid injuries.
In order to keep your pool water clean and hygienic all season long please closely adheres to the following guidelines:
- The proper and consistent use of basic pool chemicals are required to maintain the proper pH balance in your pool water.
Furthermore, the application of chemicals will help prevent the growth of harmful bacteria or algae in your pool, and assist your filter-pump in keeping your water crystal clear. Chemicals that your pool may require include but are not limited to:
1) Tabular, Granular, or Liquid Chlorine: Disinfects pool water and inhibits algae growth.
2) PH Adjusting Chemicals: These are used to correct PH level and make water more or less acidic.
3) Algaecides: These chemicals are formulated to remove algae.
4) “Shock” (Super chlorinator): Eliminates certain organic and other combination compounds that can affect water clarity.
In order to obtain specific details on the use of chemicals, please consult a local pool supply retailer and provide them with the volume of water in your specific pool, and if desired, a sample of your pool water. This will enable them to properly instruct you on: 1) which chemicals to purchase, 2) what quantities of chemicals to purchase, and 3) how to use specific chemicals safely and effectively. - Never let chlorine come into direct contact with the pool liner until it has completely dissolved. This means that granular or tabulated chlorine is first dissolved in a bucket of water before applying to pool water, and likewise, liquid chlorine is slowly and evenly poured into pool water from various locations around perimeter of pool.
DANGER: NEVER add water to chemicals. INSTEAD, always add chemicals to water. Also, never mix separate chemicals together, rather, add chemicals to the pool separately and allow them to circulate throughout the pool before adding additional types of chemicals. - We recommend that you purchase a test kit, and frequently test your pool water to make sure that your PH balance and chlorine levels are optimal. Your local pool supply retailer can provide information on purchasing and using a test kit that is most suitable for your needs. NOTE: Excessive chlorine levels or low (acidic) pH levels can damage your pool liner, so please take corrective action as soon as possible if testing reveals either condition.
The tasks of removing larger debris from your pool and keeping the inside of the pool liner clean are simplified by using a Prompt Set Pool Maintenance Kit, which includes a leaf skimmer and garden hose powered vacuum. Maintenance Kits are included as a bonus feature in larger pool systems, and can also be purchased separately as an accessory.Please contact your local after sale service center if you want to get advice on any repair during the life of the pool kit. - If applicable, check your filter-pump cartridge every two weeks (or more frequently during periods of heavy usage) to verify whether it needs to be cleaned or replaced. If your cartridge is no longer white in color, attempt to spray it clean with a strong blast of water from your garden hose. If your cartridge cannot be cleaned in this manner, the cartridge must be replaced. Failure to frequently clean and/or replace your cartridges will affect the effectiveness of your filter pump and could shorten its useful life.
- If your pool system included a cover, try to keep your pool covered at all times when not in use. This will help keep the wind and other elements from depositing dirt and debris in your pool, and will also prevent excess rainwater from overfilling your pool.
- Remind your family and friends to always hose or rinse off any dirt or tanning oil from their hands, feet, and body prior to entering the pool.
- It’s necessary to monitor the bolts and hardware of the pool (eg. rust stain) when possible.
- Once your pool has been filled with water for the season, take note if your pool becomes overfilled due to rainwater or accidental overfill. If this should occur, it is important to drain or bale out the excess water as soon as possible. If it is an inflatable ring pool, the water level should never be higher than the bottom edge of the inflatable ring.
- Irrespective of materials used for swimming pool construction, accessible surfaces have to be checked regularly to avoid injuries.
TROUBLE SHOOTING
Repair Patch Instructions
(Small pinhole and small puncture leaks can be repaired with the included repair patch)
a) Locate the leak place.
b) Deflate the air.
c) Clean the area surrounding the leakage and wipe up all water from the surface.
d) Take out the repair patch, cut it into required shape and size, which should be larger than the leaking area, put the patch on leaking area and press tightly.
e) Wait 30 minutes for open-air drying of the repaired position.
If the damage is too big, we recommend using a Silicone or rubber based glue for repair.
Repair Glue Instructions
- Locate the leak place.
- Deflate(if necessary),and drain thoroughly
- Clean the area surrounding the leakage and wipe up all water from the surface.
- Thoroughly clean the area surrounding the leak .Cut a piece of repair material in round shape, which should be larger than the damaged area.
- Gluing (need to purchase adhesive separately) one side of the material patch to the repair area. Please notice the material patch need to be applied glue evenly.
- Put the patch on the damaged area and press tightly. Wait 12 hours for drying. After patch has dried, apply glue around the edges for a complete seal (dry 4 hours) swimming pool storage.
| PROBLEM | DESCRIPTION | CAUSE | REMEDY |
| COLORED WATER | • Water turns blue, brown, or black when first treated with chlorine. | • The chlorine is oxidizing minerals in your water. This commonly occurs with water from different sources. | • Adjust pH to recommended level. • Run filter until water is clear. • Regularly clean cartridge. |
| PARTICALS SUSPENDED IN WATER | • Water looks “milky” or cloudy. | • “Hard Water” caused by an elevat- ed pH. • Chlorination is inadequate. • Foreign debris in water. • Bathers are not cleaning their feet prior to entering pool. | • Adjust pH. Check with a swimming pool supply retailer for correct water treatment. • Ensure proper chlorine level. • Clean or replace your filter. • Spray off dirt with a high-pressure hose before entry. |
| PERSISTENT LOW WATER LEVEL | • Pool appears to be losing water on a daily basis. | • Tear or hole in pool liner. • Tear or hole in a filter pump hose. • Hose clamps are too loose. • Evaporation from high summer temperatures. | • Locate damage and repair with the included patch kit. • Repair or replace hoses. • Tighten all hose clamps. • Keep pool covered when not in use. |
| ALGAE | • Water has greenish tint. • Green, brown or black spots appear on pool liner. • Pool bottom is slippery and/or an unpleasant odor is present. | • Algae is present. | • Apply “shock” treatment (super- chlorinator). Check pH and adjust to an appropriate level per your local pool supply retailer. • Vacuum or lightly scrub pool liner. • Test water often to maintain proper chlorine levels. |
| POOL WATER IS COOL | • Water is not warming to a comfort- able swimming temperature. | • Pool was set up in an excessively shady or tree lined area. • Heat is escaping from pool water. | • Relocate pool to a more open location where it can get maximum exposure to sunlight during peak daylight hours. • Keep your pool covered whenever it is not in use. |
| Deformation from frame | Did not fill with water to water level | Suggest continue to fill with water to water level |
LIMITED WARRANTY
If any of the components have been consumer-replaced, damaged, or misused, the corresponding warranty on those components is invalidated. In this situation, you will be advised of the cost of replacement parts and processing instructions.
If a verifiable manufacturing defect is found during the relevant time period, we agree to repair or replace at its option any product under warranty provided proper proof of purchase is presented.
This limited warranty is not valid if the product is used for commercial purposes, or if the damage is caused by an accident, an act of God, consumer misuse, neglect or abuse, vandalism, improper use of chemicals, exposure to extreme weather conditions or negligence during product set up or disassembly.
We cannot be held responsible for the cost of installation, labor, or transportation expenses incurred due to the replacement of defective parts. This limited warranty, furthermore, does not cover any unauthorized alterations to the product.
Weak swimmers or non-swimmers should wear personal protection equipment when using the pool;
WARNING: Keep children under supervision in the aquatic environment.
WARNING: No diving.

















