Bestway 56217 My First Frame Pool

Item | Aged |
56217 | Over 2 years |
Refer to the item name or number stated on the packaging. Packaging must be read carefully and kept for future reference.
WARNING

Never leave your child unattended drowning hazard.
- Only for domestic use.
- Only for outdoor use.
- Children can drown in very small amounts of water. Empty the pool when not in use.
- Do not install the paddling pool over concrete, asphalt or any other hard surface.
- Place the product on a level surface at least 2 m from any structure or obstruction such as a fence, garage, house, overhanging branches, laundry lines or electrical wires.
- Recommend back towards the sun when playing.
- Modification by the consumer of the original paddling pool (for example the addition of accessories) shall be carried out according to the instructions of the manufacturer.
- Keep assembly and installation instruction for future reference.
PARTS

STRUCTURE PHOTO

Drawings may not reflect actual product, not scaled to size.
| Ref | Description | Pool Size & Quantity |
| 1.22 m x 1.22 m x 30.5 cm (48’’ x 48’’ x 12’’) | ||
| A | Top Rail A | 4 |
| B | Top Rail B | 4 |
| C | Vertical Pool Leg | 4 |
| D | Corner | 4 |
| E | Footing | 4 |
PREPARATION
Installation of small swimming pool usually takes only 10 minutes with 1 people.
Recommendations regarding placement of the pool:
- It is essential the pool is set up on solid, level ground. If the pool is set up on uneven ground it can cause collapse of the pool and flooding, causing serious personal injury and/or damage to personal property.
- Do not set up on driveways, decks, platforms, gravel or asphalt. Ground should be firm enough to withstand the pressure of the water; mud, sand, soft / loose soil or tar are not suitable.
- The ground must be cleared of all objects and debris including stones and twigs.
- Check with your local city council for by-laws relating to fencing, barriers, lighting and safety requirements and ensure you comply with all laws.
INSTALLATION
Assembly can be completed without tools.
NOTE: It is important to assemble pool in the order shown below. Adult assembly required.
- Find solid, level ground and clear it of debris.
ATTENTION: Do not set up the pool under cables or under trees. - Spread out the pool and make sure it is right side up.
- Cover the water valve.
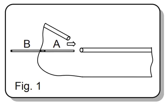
- Assemble the top rails. Connect Top Rail A to Top Rail B, and slide into the pole sleeve (Fig.1). Please see the structure photo for detailed directions. Make sure the top rails’ ends are in right position.

- 5. At the corners, insert the Top Rails (A & B) into the Corners (D). Ensure the spring-loaded pins snap into the pre-drilled holes. (Fig. 2)

- Insert the Vertical Pool Legs (C) into the bottom of the Corners (D). (Fig. 3)

- Attach all Footings (E) to the bottom of the Vertical Pool Legs (C). (Fig. 4)

- Test the Frame to ensure all connections are secure before filling with water.
- Put 1’’ to 2’’ (2.5cm to 5cm) of water in the pool to cover the floor. Once pool floor is slightly covered, gently smooth out all wrinkles. Start in the center of the pool and work your way clockwise to the outside.
- Continue to fill the pool until the water reaches the welding line located 3cm-8cm (1.2”-3.1”) from the top of the pool. Please kindly pay the upmost attention to not over fill the pool for security reasons.

DISMANTLING
- Open water valve on the bottom of the pool, water will drain automatically. (Check local regulations for drainage by-laws). Then dismantle the frame of the pool to release the water. Make sure release most of the water in 20 minutes.
NOTE: Drain by adult only! - Air dry pool.
ATTENTION: Do not leave the drained pool outside.
REPAIR
If your pool is damaged, use the provided repair patch.
- Clean area to be repaired.
- Carefully peel patch.
- Press patch over area to be repaired.
- Wait 30 minutes before inflation.
POOL MAINTENANCE
WARNING: If you do not adhere to the maintenance guidelines covered herein, your health might be at risk, especially that of your children.
- Change the water of pools frequently (particularly in hot weather) or when noticeably contaminated, unclean water is harmful to the user’s health.
- Please contact your local retailer to obtain chemicals to treat the water in your pool. Be sure to follow the chemical manufacturer’s instructions.
- Proper maintenance can maximize the life of your pool.
- See packaging for water capacity.
CLEANING AND STORAGE
- After deflation, use a damp cloth to gently clean all surfaces.
NOTE: Never use solvents or other chemicals that may damage the product. - Remove all the accessories and spare parts of the pool and store them clean and dry.
- Once pool is completely dry, sprinkle with talcum powder to prevent pool from sticking together, fold pool carefully. If pool is not completely dry, mould may result and will damage the pool liner.
- Store liner and accessories in a cool, dry place out of children’s reach, with a moderate temperature between 5°C / 41°F and 38°C / 100°F.
- During the rainy season, pool and accessories should be stored as instructed above.
- Unproper draining of the pool might cause serious personal injury and/or damage to personal property.
- Check the product for damage at the beginning of each season and at regular intervals when in use.
Customer Support
©2021 Bestway Inflatables & Material Corp.
All rights reserved Manufactured, distributed and represented in the European Union by
Bestway (Europe) S.r.l., Via Resistenza, 5, 20098 San Giuliano Milanese (Milano), Italy
Distributed in Latin America by/
Bestway Central & South America Ltda, Salar Ascotan 1282, Parque Enea, Pudahuel, Santiago, Chile
Distributed in Australia & New Zealand by Bestway Australia Pty Ltd, Unit 2/98-104 Carnarvon St Silverwater, NSW 2128, Australia
Tel: Australia: (+61) 29 0371 388; New Zealand: 0800 142 101
Distributed in United Kingdom by Bestway Corp UK Ltd. 8 Wentworth Road, Heathfield Industrial Estate, Newton Abbot, Devon, TQ12 6TL Exported by/ Company Limited
Suite 713, 7/Floor, East Wing, Tsim Sha Tsui Centre, 66 Mody Road, Kowloon, Hong Kong
Tel: +86 21 69135588 (For U.S. and Canada)
www.bestwaycorp.com























