intex Rectangular Ultra Frame Pool
IMPORTANT SAFETY RULES
Read, Understand and Follow All Instructions Carefully Before Installing and Using this Product.
WARNING
- Continuous and competent adult supervision of children and the disabled is required at all times.
- Secure all doors, windows, and safety barriers to prevent unauthorized, unintentional or unsupervised pool entry.
- Install a safety barrier that will eliminate access to the pool for young children and pets.
- Pool and pool accessories are to be assembled and disassembled by adults only.
- Never dive, jump or slide into an above-ground pool or any shallow body of water.
- Failure to set up the pool on flat, level, compact ground or overfilling could result in the pool’s collapse and the possibility that a person lounging in the pool could be swept out/ejected.
- Do not lean, straddle, or exert pressure on the inflatable ring or top rim as injury or flooding could occur. Do not allow anyone to sit on, climb, or straddle the sides of the pool.
- Remove all toys and flotation devices from, in and around the pool when it is not in use. Objects in the pool attract young children.
- Keep toys, chairs, tables, or any objects that a child could climb on at least four feet (1.22 meters) away from the pool.
- Keep rescue equipment by the pool and clearly post emergency numbers at the phone closest to the pool. Examples of rescue equipment: coast guard approved ring buoy with attached rope, strong rigid pole not less than twelve feet (12′) [3.66m] long.
- Never swim alone or allow others to swim alone.
- Keep your pool clean and clear. The pool floor must be visible at all times from the outside barrier of the pool.
- If swimming at night use properly installed artificial lighting to illuminate all safety signs, ladders, pool floor, and walkways.
- Stay away from the pool when using alcohol or drugs/medication.
- Keep children away from pool covers to avoid entanglement, drowning, or another serious injury.
- Pool covers must be completely removed before pool use. Children and adults cannot be seen under a pool cover.
- Do not cover the pool while you or anyone else is in the pool.
- Keep the pool and pool area clean and clear to avoid slips and falls and objects that may cause injury.
- Protect all pool occupants from recreational water illnesses by keeping the pool water sanitized. Don’t swallow the pool water. Practice good hygiene.
- All pools are subject to wear and deterioration. Certain types of excessive or accelerated deterioration can lead to an operation failure, and can ultimately cause the loss of large quantities of water from your pool. Therefore, it is very important that you properly maintain your pool on a regular basis.
- This pool is for outdoor use only.
- Empty and store the pool when not in use for a longer period. See storage instructions.
- All electrical components shall be installed in accordance with Article 680 of the National Electrical Code 1999 (NEC®) “Swimming Pools, Fountains and Similar Installations” or its latest approved edition.
- The installer of the vinyl liner shall affix on the original or replacement liner, or on the pool structure, all safety signs in accordance with the manufacturer’s instructions. The safety signs shall be placed above the water line.
POOL BARRIERS AND COVERS ARE NOT SUBSTITUTES FOR CONTINUOUS AND COMPETENT ADULT SUPERVISION. POOL DOES NOT COME WITH A LIFEGUARD. ADULTS ARE THEREFORE REQUIRED TO ACT AS LIFEGUARDS OR WATER WATCHERS AND PROTECT THE LIVES OF ALL POOL USERS, ESPECIALLY CHILDREN, IN AND AROUND THE POOL.
FAILURE TO FOLLOW THESE WARNINGS MAY RESULT IN PROPERTY DAMAGE, SERIOUS INJURY OR DEATH.
Advisory:
Pool owners may need to comply with local or state laws relating to childproof fencing, safety barriers, lighting, and other safety requirements. Customers should contact their local building code enforcement office for further details.
PARTS LIST

PARTS REFERENCE
Before assembling your product, please take a few minutes to check the contents and become familiar with all the parts.
NOTE: Drawings for illustration purposes only. Actual products may vary. Not to scale.
| REF. NO. | DESCRIPTION | POOL SIZE & QUANTITIES | |||
| 15′ x 9′ (457cmx274cm) | 18′ x 9′ (549cm x 274cm) | 24′ x 12′ (732cm x 366cm) | 32′ x 16′ (975cm x 488cm) | ||
| 1 | SINGLE BUTTON SPRING | 8 | 8 | 14 | 20 |
| 2 | HORIZONTAL BEAM (A) (SINGLE BUTTON SPRING INCLUDED) | 2 | 2 | 2 | 2 |
| 3 | HORIZONTAL BEAM (B) (SINGLE BUTTON SPRING INCLUDED) | 4 | 4 | 8 | 12 |
| 4 | HORIZONTAL BEAM (C) | 2 | 2 | 2 | 2 |
| 5 | HORIZONTAL BEAM (D) (SINGLE BUTTON SPRING INCLUDED) | 2 | 2 | 2 | 2 |
| 6 | HORIZONTAL BEAM (E) (SINGLE BUTTON SPRING INCLUDED) | 0 | 0 | 2 | 4 |
| 7 | HORIZONTAL BEAM (F) | 2 | 2 | 2 | 2 |
| 8 | CORNER JOINT | 4 | 4 | 4 | 4 |
| 9 | U-SUPPORT END CAP | 24 | 24 | 36 | 48 |
| 10 | DOUBLE BUTTON SPRING CLIP | 24 | 24 | 36 | 48 |
| 11 | U-SHAPED SIDE SUPPORT (U-SUPPORT END CAP & DOUBLE BUTTON SPRING CLIP INCLUDED) | 12 | 12 | 18 | 24 |
| 12 | CONNECTING ROD | 12 | 12 | 18 | 24 |
| 13 | RESTRAINER STRAP | 12 | 12 | 18 | 24 |
| 14 | GROUND CLOTH | 1 | 1 | 1 | 1 |
| 15 | POOL LINER (DRAIN VALVE CAP INCLUDED) | 1 | 1 | 1 | 1 |
| 16 | DRAIN CONNECTOR | 1 | 1 | 1 | 1 |
| 17 | DRAIN VALVE CAP | 2 | 2 | 2 | 2 |
| 18 | POOL COVER | 1 | 1 | 1 | 1 |
| REF. NO. | DESCRIPTION | 15′ x 9′ x 48” (457cm x 274cm x 122cm) | 18′ x 9′ x 52” (549cm x 274cm x 132cm) | 24′ x 12′ x 52” (732cm x 366cm x 132cm) | 32′ x 16′ x 52” (975cm x 488cm x 132cm) |
| SPARE PART NO. | |||||
| 1 | SINGLE BUTTON SPRING | 10381 | 10381 | 10381 | 10381 |
| 2 | HORIZONTAL BEAM (A) (SINGLE BUTTON SPRING INCLUDED) | 11524 | 10919 | 10920 | 10921 |
| 3 | HORIZONTAL BEAM (B) (SINGLE BUTTON SPRING INCLUDED) | 11525 | 10922 | 10923 | 10924 |
| 4 | HORIZONTAL BEAM (C) | 11526 | 10925 | 10926 | 10927 |
| 5 | HORIZONTAL BEAM (D) (SINGLE BUTTON SPRING INCLUDED) | 10928 | 10928 | 10929 | 10928 |
| 6 | HORIZONTAL BEAM (E) (SINGLE BUTTON SPRING INCLUDED) | 10930 | 10931 | ||
| 7 | HORIZONTAL BEAM (F) | 10932 | 10932 | 10933 | 10932 |
| 8 | CORNER JOINT | 10934 | 10934 | 10934 | 10934 |
| 9 | U-SUPPORT END CAP | 10935 | 10935 | 10935 | 10935 |
| 10 | DOUBLE BUTTON SPRING CLIP | 10936 | 10936 | 10936 | 10936 |
| 11 | U-SHAPED SIDE SUPPORT (U-SUPPORT END CAP & DOUBLE BUTTON SPRING CLIP INCLUDED) | 11523 | 10937 | 10937 | 10937 |
| 12 | CONNECTING ROD | 10383 | 10383 | 10383 | 10383 |
| 13 | RESTRAINER STRAP | 10938 | 10938 | 10938 | 10938 |
| 14 | GROUND CLOTH | 11521 | 10759 | 18941 | 10760 |
| 15 | POOL LINER (DRAIN VALVE CAP INCLUDED) | 11520 | 10939 | 10940 | 10941 |
| 16 | DRAIN CONNECTOR | 10184 | 10184 | 10184 | 10184 |
| 17 | DRAIN VALVE CAP | 11044 | 11044 | 11044 | 11044 |
| 18 | POOL COVER | 11522 | 10756 | 18936 | 10757 |
POOL SETUP
IMPORTANT SITE SELECTION AND GROUND PREPARATION INFORMATION
WARNING
- The pool location must allow you to secure all doors, windows, and safety barriers to prevent unauthorized, unintentional or unsupervised pool entry.
- Install a safety barrier that will eliminate access to the pool for young children and pets.
- Failure to set up the pool on flat, level, compact ground and to assemble, and fill it with water in accordance with the following instructions could result in the pool’s collapse or the possibility that a person lounging in the pool could be swept out/ejected, resulting in serious injury or property damage.
- Risk of electric shock: connect the filter pump only to a grounding-type receptacle protected by a ground-fault circuit interrupter (GFCI). To reduce the risk of an electric shock, do not use extension cords, timers, plug adapters or converter plugs to connect the pump to an electric supply. Always provide a properly located outlet. Locate the cord where it cannot be damaged by lawnmowers, hedge trimmers, and other equipment. See the filter pump manual for additional warnings and instructions.
Select an outdoor location for the pool with the following in requirements mind:
- The area where the pool is to be set up must be absolutely flat and level. Do not set up the pool on a slope or inclined surface.
- The ground surface must be compacted and firm enough to withstand the pressure and weight of a fully set up pool. Do Not set up the pool on mud, sand, soft or loose soil conditions.
- Do Not set up the pool on a deck, balcony or platform.
- The pool requires at least 5 – 6 feet (1.5 – 2.0 m) of space all around the pool from objects that a child could climb on to gain access to the pool.
- The chlorinated poolwater could damage the surrounding vegetation. Certain types of grass such as St. Augustine and Bermuda may grow through the liner. Grass growing through the liner it is not a manufacturing defect and is not covered under warranty.
- If the ground is not concrete (i.e., if it is asphalt, lawn or earth) you must place a piece of pressure-treated wood, size 15” x 15” x 1.2” (38 x 38 x 3cm), under each U-shaped support and flush with the ground. Alternatively, you may use steel pads or reinforced tiles.
- Consult your local pool supply retailer for advice on support pads.

You may have purchased this pool with the Intex Krystal Clear™ filter pump. The pump has its own separate set of installation instructions. First assemble your pool unit and then set up the filter pump.
Estimated assembly time 60~90 minutes. (Note the assembly time is only approximate and individual assembly experience may vary.)
- Find a flat, level location that is free and clear of stones, branches or other sharp objects that may puncture the pool liner or cause injury.
- Open the carton containing the liner, joints, legs, etc., very carefully as this carton can be used to store the pool during the winter months or when not in use.
- Remove the ground cloth (14) from the carton. Spread it out completely with its edges being at least 5 – 6’ (1.5 – 2.0 m) from any obstacle such as walls, fences, trees, etc. Remove the liner (15) from the carton and spread it out over the ground cloth with the drain valve towards the draining area. Place the drain valve away from the house. Open it up to warm it in the sun. This warming will make installation easier.
Make sure the liner is centered atop the ground cloth. Be sure to face the end with the 2 hose connectors LINER towards the electrical power source.
IMPORTANT: Do not drag the liner across the ground as this can cause liner damage and pool leakage (see drawing 1).
- During the set-up of this pool liner point the hose connections or openings in the direction of the electric power source. The outer edge of the assembled pool is to be within reach of the electrical connection for the optional filter pump.
- Remove all the parts from the carton(s) and place them on the ground in the location where they are to be assembled. Check the parts listing and be sure all the pieces to be assembled are accounted for (see drawings 2.1, 2.2 & 2.3). IMPORTANT: Do not start assembly if any pieces are missing. For replacement, pieces call the Consumer Service telephone number in your area. After all pieces are accounted for move the pieces away from the liner for of installation.


- Be sure the liner is opened and spread out to 3 its fullest extent on top of the ground cloth. Starting with one side, slide the “A” beams first into the sleeve openings located in each corner. Continue with “B” beam snapping into the “A” beam, and another “C” beam snapping into the “B” beam (see drawing 3).
Keep the metal beam holes aligned with the white liner sleeve holes.
Continue inserting all “A-B-C & D-E-F” beams into the sleeve openings. Start the “D-E-F” combination for pool’s short sides by inserting the “D” beam first into the opening.
The combinations for beams are different for different sizes of pools, see the chart below for detail. (Be sure all 4 sides end up with the metal beam holes aligned with the white liner sleeve holes.)Size of Pool No. of “U-shape” Leg on the longer side No. of “U-shape” Leg on the shorter side Horizontal Beam Combinations on the longer side Horizontal Beam Combinations on the shorter side 15′ x 9′ (457 cm x 274 cm) 4 2 A-B-B-C D-F 18′ x 9′ (549 cm x 274 cm) 4 2 A-B-B-C D-F 24′ x 12′ (732 cm x 366 cm) 6 3 A-B-B-B-B-C D-E-F 32′ x 16′ (975 cm x 488 cm) 8 4 A-B-B-B-B-B-B-C D-E-E-F - Slide the restrainer strap (13) onto the large U-shaped side support (11). Repeat for all restrainer straps and U-supports. IMPORTANT: The liner is to remain flat on the ground during the next step #5. This is why 5 – 6’ of clearance space around the pool is necessary (see drawing 4).

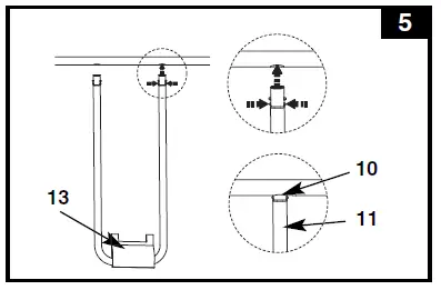
- The tops of the U-shaped side supports have a double button spring-loaded clip (10) that is factory pre-installed. Insert the side supports into the “A-B-C & D-E-F” beam holes by squeezing the bottom button inward with your fingers. Squeezing this bottom button will allow the support to enter the beam. Once the U- support is inside the beam releasing the finger pressure and allowing the support to “SNAP” into place. Repeat this procedure for all U-shaped side supports (see drawing 5).

- With one person standing inside the pool, raise one corner; insert the connecting rod (12) into the overlapping openings, to connect the liner straps to the restrainer straps. Repeat the operation in the other corners and then on the sides (see drawings 6.1 & 6.2).

- Pull the bottoms of the side supports out away from the liner to make the straps taut. Repeat for all locations (see drawing 7).
- If the ground is not concrete (asphalt, lawn or earth) you must place a piece of pressure-treated wood, size 15” x 15” x 1.2”, under each leg and flush with the ground. The U-shaped side supports must be placed in the center of the pressure-treated wood and with the wood grain perpendicular to the support leg (see drawing 8).

- Position the long wall top rails so they are leaning over the short wall top rails. Installed the corner joints (8) at 4 corners (see drawing 9).

- Assemble the ladder. The ladder has separate assembly instructions in the ladder box.

- Place the assembled ladder over one of the sides with one of the liner installation team members entering the pool to smooth out all bottom liner wrinkles. While inside the pool this team member checks the 2 drain valves (in corners) to be sure the inside drain plug is inserted into the valve. This team member pushes each inside corner in an outward direction.
- Before filling the pool with water, ensure that the drain plug inside the pool is closed and that the drain cap on the outside is screwed on tightly. Fill the pool with no more than 1 inch (2.5 cm) of water. Check to see whether the water is level.
IMPORTANT: If the water in the pool flows to one side, the pool is not completely level. Setting up the pool on the unleveled ground will cause the pool to tilt resulting in the sidewall material bulging. If the pool is not completely level, you must drain the pool, level the area, and re-fill the pool.
Smooth out the remaining wrinkles (from the inside pool) by pushing out where the pool floor and pool sides meet. Or (from the outside pool) reach under the side of the pool, grasp the pool floor and pull it out. If the ground cloth is causing the wrinkles, have 2 persons pull from either side to remove all wrinkles. - Fill the pool with water up to just below the sleeve line. (see drawing 10).
- Posting aquatic safety signs
Select a highly visible area near the pool to post the Danger No Diving or Jumping sign included later in this manual.
IMPORTANT
REMEMBER TO
- Protect all pool occupants from possible water-related illnesses by keeping the pool water clean and sanitized. Do not swallow the pool water. Always practice good hygiene.
- Keep your pool clean and clear. The pool floor must be visible at all times from the outside barrier of the pool.
- Keep children away from pool covers to avoid entanglement, drowning, or another serious injury.
Water maintenance
The maintenance of a proper water balance through the appropriate use of sanitizers is the single most important factor in maximizing the life and appearance of the liner as well as ensuring clean, healthy and safe water. Proper technique is important for water testing and treating the pool water. See your pool professional for chemicals, test kits and testing procedures. Be sure to read and follow the written instructions from the chemical manufacturer.
- Never let chlorine come into contact with the liner if it is not completely dissolved. Dissolve granular or tablet chlorine first in a bucket of water, then add it to the pool water. Likewise, with liquid chlorine; mix it immediately and thoroughly with the pool water.
- Never mix chemicals together. Add the chemicals to the pool water separately. Thoroughly dissolve each chemical before adding another one to the water.
- An Intex pool skimmer and an Intex pool vacuum are available to assist in maintaining clean pool water. See your pool dealer for these pool accessories.
- Do not use a pressure washer to clean the pool.
TROUBLESHOOTING
| PROBLEM | DESCRIPTION | CAUSE | SOLUTION |
| ALGAE | • Greenish water. • Green or black spots on pool liner. • Pool liner is slippery and/or has a bad odor. | • Chlorine and pH level need adjustment. | • Super chlorinate with shock treatment. Correct pH to your pool store’s recommended level. • Vacuum pool bottom. • Maintain proper chlorine level. |
| COLORED WATER | • Water turns blue, brown, or black when first treated with chlorine. | • Copper, iron or manganese in water being oxidized by the added chlorine. | • Adjust pH to recommended level. • Run filter until water is clear. • Replace cartridge frequently. |
| FLOATING MATTER IN WATER | • Water is cloudy or milky. | • “Hard water” caused by a too high pH level. • Chlorine content is low. • Foreign matter in water. | • Correct the pH level. Check with your pool dealer for advice. • Check for proper chlorine level. • Clean or replace your filter cartridge. |
| CHRONIC LOW WATER LEVEL | • Level is lower than on previous day. | • Rip or hole in pool liner or hoses. | • Repair with patch kit. • Finger tighten all caps. • Replace the hoses. |
| SEDIMENT ON POOL BOTTOM | • Dirt or sand on pool floor. | • Heavy use, getting in and out of pool. | • Use Intex pool vacuum to clean bottom of pool. |
| SURFACE DEBRIS | • Leaves, insects etc. | • Pool too close to trees. | • Use Intex pool skimmer. |
POOL MAINTENANCE & DRAINAGE
CAUTION ALWAYS FOLLOW THE CHEMICAL MANUFACTURER’S
Do not add chemicals if the pool is occupied. This can cause skin or eye irritation. Concentrated chlorine solutions can damage the pool liner. In no event is Intex Recreation Corp., Intex Development Co. Ltd., their related companies, authorized agents and service centers, retailers or employees be liable to the buyer or any other party for costs associated with the loss of pool water, chemicals or water damage. Keep spare filter cartridges on hand. Replace cartridges every two weeks. We recommend the use of a Krystal Clear™ Intex Filter Pump with all of our above-ground pools. To purchase an Intex Filter Pump or other accessories see your local retailer, visit our website or call the Intex Consumer Services Department at the number below and have your Visa or Mastercard ready. www.intexcorp.com
1-800-234-6839
Consumer Service 8:30 am to 5:00 pm PT (Mon.-Fri.)
EXCESSIVE RAIN: To avoid damage to the pool and overfilling, immediately drain rainwater that causes the water level to be higher than the maximum.
How to Drain Your Pool and Long-Term Storage
NOTE: This pool has drain valves installed in 2 corners. Connect the garden hose to the corner valve that directs the water to the appropriate location.
- Check local regulations for specific directions regarding disposal of swimming pool water.
- Check to make sure that the drain plug inside the pool is plugged in place.
- Remove the cap from the drain valve on the outside pool wall.
- Attach the female end of the garden hose to the drain connector (16).
- Place the other end of the hose in an area where the water can be safely drained away from the house and other nearby structures.
- Attach the drain connector to the drain valve. NOTE: The drain connector will push the drain plug open inside the pool and water will start to drain immediately.
- When the water stops draining, start lifting the pool from the side opposite the drain, leading any remaining water to the drain and emptying the pool completely.
- Disconnect the hose and adapter when finished.
- Re-insert the drain plug-in the drain valve on the inside of the pool for storage.
10. Replace the drain cap on the outside of the pool.
11. Reverse the setup instructions to disassemble the pool, and remove all connecting parts.
12. Be sure that the pool and all parts are completely dry before storage. Air dry the liner in the sun for an hour before folding (see drawing 11). Sprinkle some talcum powder to prevent vinyl from sticking together and to absorb any residual moisture.
13. Create a rectangular shape. Starting at one side, fold one-sixth of the liner in on itself twice. Do the same on the opposite side (see drawings 12.1 & 12.2).
14. Once you have created two opposing folded sides, simply fold one over the other like closing a book (see drawings 13.1 & 13.2).
15. Fold the two long ends to the middle (see drawing 14).
16. Fold one over the other like closing a book and finally compact the liner (see drawing 15).
17. Store the liner and accessories in a dry, temperature controlled, between 32 degrees Fahrenheit
(0 degrees Celsius) and 104 degrees Fahrenheit (40 degrees Celsius), storage location.
18. The original packing can be used for storage.
WINTER PREPARATIONS
Winterizing your Above Ground Pool
After usage, you can easily empty and store away your pool in a safe place. Some pool owners, however, choose to leave their pool up all year round. In cold areas, where freezing temperatures occur, there can be a risk of ice damage to your pool. We, therefore, recommend you drain, disassemble and properly store the pool, when the temperature drops below 32 degrees Fahrenheit (0 degrees Celsius). Also see the section ”How To Drain Your Pool”.
Should you choose to leave your pool out, prepare it as follows:
- Clean the pool water thoroughly. If the type is an Easy Set Pool or an Oval Frame Pool, make sure the top ring is properly inflated).
- Remove the skimmer (if applicable) or any accessories attached to the threaded strainer connector. Replace the strainer grid if necessary. Be sure all accessories parts are clean and completely dry before storage.
- Plug the Inlet and Outlet fitting from the inside of the pool with the plug provided (sizes 16′ and below). Close the Inlet and Outlet Plunger Valve (sizes 17′ and above).
- Remove the ladder (if applicable) and store in a safe place. Be sure the ladder is completely dry before storage.
- Remove the hoses that connect the pump and filter to the pool.
- Add the appropriate chemicals for the winter period. Consult your local pool dealer as to which chemicals you should use and how to use them. This can vary greatly by region.
- Cover pool with Intex Pool Cover.
IMPORTANT NOTE: INTEX POOL COVER IS NOT A SAFETY COVER. - Clean and drain the pump, filter housing and hoses. Remove and discard the old filter cartridge. Keep a spare cartridge for the next season).
- Bring pump and filter parts indoors and store in a safe and dry area, preferably between 32 degrees Fahrenheit (0 degrees Celsius) and 104 degrees Fahrenheit (40 degrees Celsius).
GENERAL AQUATIC SAFETY
Water recreation is both fun and therapeutic. However, it involves inherent risks of injury and death. To reduce your risk of injury, read and follow all product, package and package insert warnings and instructions. Remember, however, that product warnings, instructions and safety guidelines cover some common risks of water recreation, but do not cover all risks and dangers.
For additional safeguards, also familiarize yourself with the following general guidelines as well as guidelines provided by nationally recognized Safety Organizations:
- Demand constant supervision. A competent adult should be appointed as a “lifeguard” or water watcher, especially when children are in and around the pool.
- Learn to swim.
- Take the time to learn CPR and first aid.
- Instruct anyone who is supervising pool users about potential pool hazards and about the use of protective devices such as locked doors, barriers, etc.
- Instruct all pool users, including children what to do in case of an emergency.
- Always use common sense and good judgment when enjoying any water activity.
- Supervise, supervise, supervise.
For additional information on safety, please visit
- The Association of Pool and Spa Professionals: The Sensible Way to Enjoy Your Aboveground/Onground Swimming Pool www.nspi.org
- American Academy of Pediatrics: Pool Safety for Children www.aap.org
- Red Cross www.redcross.org
- Safe Kids www.safekids.org
- Home Safety Council: Safety Guide www.homesafetycouncil.org
- Toy Industry Association: Toy Safety www.toy-tia.org
SAFETY IN YOUR POOL
Safe swimming depends on constant attention to the rules. The “NO DIVING” sign within this manual can be posted near your pool to help keep everyone alert to the danger. You may also wish to copy and laminate the sign for protection from the elements.
For Residents of the U.S. & Canada:
INTEX RECREATION CORP.
Attn: Consumer Service 1665 Hughes Way Long Beach, CA 90801
Phone: 1-800-234-6839
Fax: (310) 549-2900
Consumer Service Hours: 8:30 am to 5:00 pm Pacific time
Monday thru Friday only
Website: www.intexcorp.com
For Residents outside of the U.S. and Canada: Please refer to the Service Center Locations
































