Things well done
Pool Ladder
Instruction Manual
ASSEMBLY INSTRUCTIONS
STANDARD LADDER
Pool Ladder
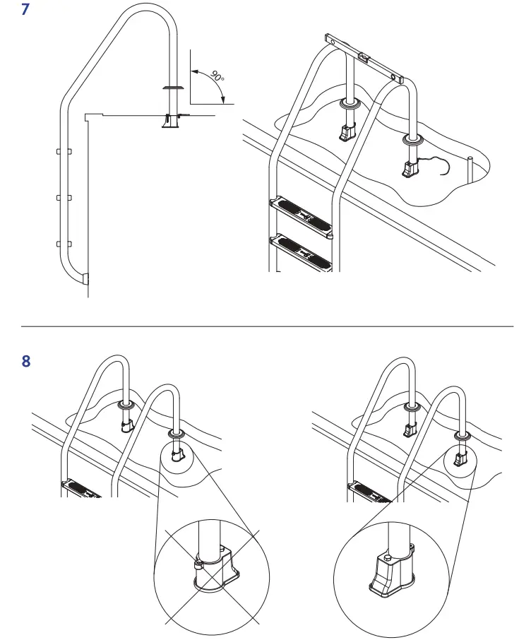
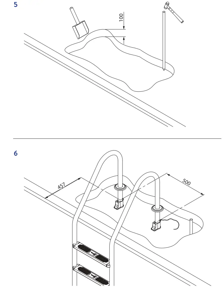
![]() | ![]() |
![]() | ![]() |
![]() | ![]() |


Things well done
Pool Ladder
Instruction Manual
ASSEMBLY INSTRUCTIONS
STANDARD LADDER
![]() | ![]() |
![]() | ![]() |
![]() | ![]() |


Download manual
Here you can download full pdf version of manual, it may contain additional safety instructions, warranty information, FCC rules, etc.