BESTWAY 58331 1.22m (48 Inch) Pool Ladder Owner's Manual

58331
©2022 Bestway Inflatables & Material Corp. All rights reserved Trademarks used in some countries under license from Bestway Inflatables & Material Corp., Shanghai, China Manufactured, distributed and represented in the European Union by Distributed in Australia & New Zealand by Bestway Australia Pty Ltd, Unit 2/98-104 Carnarvon St Silverwater, NSW 2128, Australia Tel: Australia: (+61) 2 9037 1388; New Zealand: 0800 142 101 Distributed in United Kingdom by Bestway Corp UK Ltd. 8 Wentworth Road, Heathfield Industrial Estate, Newton Abbot, Devon, TQ12 6TL Exported by da Bestway (Hong Kong) International Ltd./Bestway Enterprise Company Limited Suite 713, 7/Floor, East Wing, Tsim Sha Tsui Centre, 66 Mody Road, Kowloon, Hong Kong
www.bestwaycorp.com
1.22m (48″) Pool Ladder Model: 58331
OWNER’S MANUAL
Read all the instructions before assembling / using the ladder.
WARNING
Locate ladder on a solid base. Only one person should use the ladder at a time. The ladder shall be installed per manufacturer’s instructions. When entering/exiting the pool, face the ladder at all times. Secure ladder when the pool is not occupied or there is no adult. No person should ever attempt to dive from ladder, pool side, or nearby object. The ladder should only be placed in the pool when proper adult supervision is present and attentive. Pool users should swim and play away from ladder area. Ladder may cause injury to pool users if not regarded as a potential hazard. Always check ladder assembly screws and retention clips, splinters or any sharp edges before use. Monitor bolts and keep them away from children. This ladder is designed to be used in the pool for entering / exiting. Do not use the ladder for any other purpose. Keep all small ladder parts out of the reach of children. The ladder is not a toy, use caution when using. Ignoring maintenance requirements may result in serious health risks, especially for children.
SPECIFICATION
Maximum load weight: 150kg (330lbs). The 1.22m (48”) ladder is designed and manufactured for maximum 1.22m (48”) wall height and 30cm (11.8″) wall width pools.


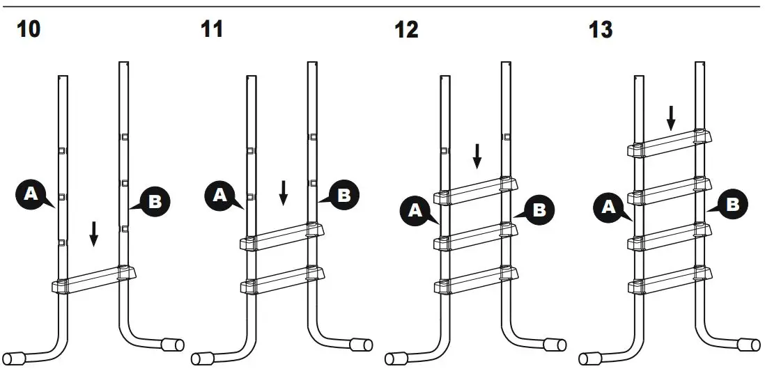
ASSEMBLY
Note: Ladder assembly requires a crosshead screwdriver or an adjustable wrench.
Note: Drawings for illustration purpose only. May not reflect actual product. Not to scale.












Note: This ladder is designed to prevent children from entering the pool when unsupervised by an adult.
Warning: This is not a replacement for competent adult supervision.
Overall dimension

Maintenance and Storage
- Always remember to check ladder before each use, change screws and retention clips if there is any rust.
- Make sure the ladder is clean and dry before storing.
- Keep out of children’s reach.
Winterization
We strongly recommend the pool ladder is removed from the swimming pool during the off season (winter months). Carefully disassemble all the components and dry thoroughly. Store in a dry location out of children’s reach.
Please read carefully and keep for future reference.
-EN 16582. For information concerning product questions, please visit our website at: www.bestwaycorp.com


















