
Sem Motors Range Hood
Installation guide for
SEM11, SEM21, SEM71, and SEM81 motors

Year Warranty
when Sirius ducting is used.
Full replacement warranty on parts and labour.
www.siriusbrand.com
BEFORE YOU INSTALL
This installation should only be performed by a qualified tradesperson. Where possible, use a trained Sirius recommended installer (see Siriusbrand.com). Sirius will not be held responsible for issues that occur due to installation of product by an unqualified tradesperson.
WARNING ![]()
- All motors must be accessible for servicing purposes and if installed above 2 metres from ground height additional cost will be incurred due to OH&S standards for service agents. Prior to install please check minimum & maximum installation details on the Sirius website, FAQ under support tab. Service is offered during normal business hours only, also appliances to have a clear access in a serviceable area.
- The ducting of the rangehood must not be connected to ducting which is used for exhausting other fumes from appliances, such as central heating, boilers etc.
- For the external exhausting of the fumes, comply with the Australian building standards.
- Ventilate the room suitably according to the Australian building standards when the appliance is working together with gas or oil appliances.
- The SEM motor is powered by the rangehood. Standard 10AMP GPO at the point of rangehood required.
- Before connecting the rangehood to the mains supply, make sure that the voltage indicated in the rating plate corresponds to the mains voltage in the home.
- Before carrying out any sort of maintenance or cleaning operation, make sure that the appliance is disconnected from the electrical mains.
IMPORTANT INFORMATION BEFORE INSTALLATION OF YOUR SIRIUS RANGEHOOD![]()
- Rangehood and SEM motor cannot be installed back-to-back. There must be a minimum of 2 metres between rangehood and motor for noise reduction reasons.
- Only use ducting that falls within the necessary minimum and maximum length requirements as specified in the installation guide.
- Try and minimise bends to the ducting for optimum performance.
- Use only suitable ducting as specified by Sirius. Under no circumstances is flexible ducting to be used as it creates unwanted noise, vibration and can place the motor under unnecessary stress resulting in premature failure of the SEM motor.
- Under no circumstances is the duct diameter is the duct diameter to be reduced. A constant minimum diameter of 150mm for the SEM 11 / 21 / 51 must be maintained at all times. For SEM 71 / 81 motors a constant diameter of 200mm must be maintained at all times.
- Read the mounting and operating instructions of the rangehood carefully.
- The manufacturer cannot be held responsible for a decrease of the airflow or for an increase of noise level caused by non-compliance with the instructions above.
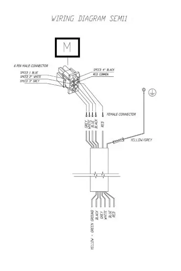
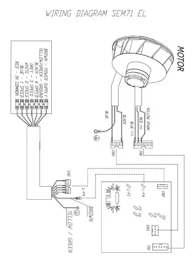
MOTOR WIRING CONNECTION

- Remove the four screws holding the front of the housing in place to expose the connections.
- Following the wiring chart on the front of the housing, connect each wire to the matching colour, making sure that this is done correctly before running power to the unit.
- Replace the cover and fix the four screws back into place.
BEFORE YOU INSTALL – DUCTING INFORMATION
Sirius warranty covers only Sirius product. If you choose to install a non-Sirius branded accessory such as flexible ducting, Sirius will only warrant the rangehood and motor. If installation is found to be the cause of failure or issue then charges will apply for service and parts.
Flexible ducting is not permitted under any circumstances. Flexible ducting has been found to increase noise levels, increase vibration and reduce airflow. Sirius Semi-rigid or solid ducting can be used in lieu. There is a range available to suit any application.
WARNING![]()
The appliance must be installed and connected to the power supply only by a qualified technician.
- There should be adequate ventilation of the room when the rangehood is used at the same time as appliances burning gas or other fuels (not applicable to appliances that only discharge the air back into the room)
- The details concerning the method and frequency of cleaning
- There is a fire risk if cleaning is not carried out in accordance with the instructions;
- Do not flambé under the range hood;
- CAUTION: Accessible parts may become hot when used with cooking appliances.
Ducting available at www.siriusbrand.com
6 Year Warranty when Sirius Ducting is used. Full replacement warranty on parts and labour.
See website for terms & conditions.
A reduction in the duct diameter from stated ducting size will void warranty.
If you are in doubt about the ducting, please contact Sirius on 1300 762 219 prior to installation

The symbol on the product or on its packaging indicates that this product may not be treated as house-hold waste. Instead it shall be handed over to the applicable collection point for the recycling of electrical and electronic equipment. By ensuring this product is disposed of correctly, you will help prevent potential negative consequences for the environment and human health, which could otherwise be caused by inappropriate waste handling of this product. For more detailed information about recycling of this product, please contact your local city office, your household waste disposal service or the shop where you purchased the product. This appliance is marked according to the European directive 2002/96/EC on waste electrical and electronic equipment (WEEE).
SEM11 MOTOR
For ease of installation the SEM11 motor can be fixed inside the roof cavity or positioned underneath the floor of the house, providing the SEM motor is protected from the elements. The SEM motor uses mounting brackets to fix it securely to the predetermined location. This location must be accessible.
Roof venting option shown

Motor/ducting and electrical connection installation
- After deciding the location of the motor (no backto-back installation, no closer than 2 metres and no further than 7 metres from the rangehood). The motor should ideally be located closer to the venting point for maximum air movement. Insert the supplied rubber anti-vibration caps into holes on the supplied brackets. The rubber caps must be inserted on the side of the bracket that fixes to the structure. These caps will reduce any vibration and reduce the noise level of the motor. (Fig 1. [1C])
- Using the supplied screws connect the brackets (Fig. 1A) to the motor (Fig. 1B)
- Align the SEM motor brackets with predetermined location and mark the points required for pre-drilling of the holes.

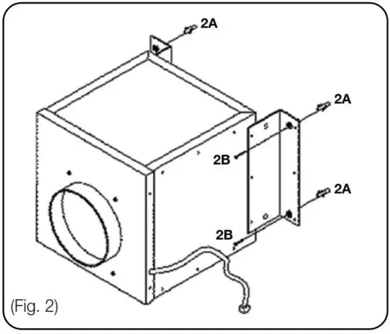
- After pre-drilling the holes, insert the plastic dowels (Fig. 2A) and then fix in place using the supplied screws (Fig. 2B).
Make sure you have taken note of the inwards and outwards arrows on the SEM motor and the motor is positioned accordingly. - Connect a length of Sirius 150mm ducting to the collar of the rangehood and secure with a URC25/215 ring clamp (if using semi-rigid ducting).
- Run the length of ducting to the location of the SEM motor and secure to the inlet collar and secure with another URC25/215 ring clamp (if using semi-rigid ducting).
- Run another length of 150mm ducting from the outlet collar on the SEM motor to the predetermined exit point/vent.
See Sirius website for wall, roof, and eave venting options or contact your nearest Sirius retail partner. - The SEM motor has a 7 metre long cable with colour-coded wiring. Follow the MOTOR WIRING CONNECTION instructions on page 4 of this manual to connect the motor to the rangehood.
- The motor will draw power itself from the rangehood which is plugged into a 10AMP powerpoint located within 1 metre of the rangehood.
SEM11 MOTOR WIRING DIAGRAM

SEM21 MOTOR
The SEM21 motor is designed to exhaust fumes and odours silently and effectively. It must be installed on an external wall a minimum of 500mm from the ground and connected to the rangehood.
- Note: the SEM21 motor cannot be installed back-to-back with the rangehood.
- Note: due to OH&S regulations, if the SEM21 motor is positioned higher than 2 metres from the ground, additional servicing costs may incur. Please note: motor must be accessible.
Note: Due to the noise of the motor itself once installed, be sure to check that if it located close to a boundary fence or you are in a built-up area that you have checked with neighbours or local council regulations prior to installation.
Motor location
- Please note that the SEM21 motor must be installed at a minimum distance of 2 metres from the outlet collar on the rangehood. A maximum of 7 metres must not – under any circumstances – be exceeded. All SEM21 motors come fitted with a 7 metre long control cable.

Installation
- The installation of the SEM21 motor must only be made by a qualified technician/tradesperson. Where possible use a Sirius recommended installer (See www.siriusbrand.com for a list under the support tab)
- After predetermining the location of the motor, make sure you are within the recommendations above in regards to min/max distances. Use the supplied drill hole template that is supplied with SEM21 motor and drill support holes, paying careful attention to make sure that the area behind is clear of electrical cables and piping/plumbing. These holes are to be drilled with an 8mm drill bit.
- 160mm diameter hole to be cut into house for 150mm ducting. Please note that if a solid masonary block wall or brick wall is being used that a series of holes may need to be drilled and then the remainder of the hole be knocked out by hand with a hammer and chisel. If a masonary hole bit is available, this will provide the best result.
- A hole must also be made to contain the plastic pipe that the SEM21 wiring loom is fed through. 40mm hole is required (Fig. 3). 40mm drill but required.

- Remove the stainless steel body to expose the motor and fixing points by removing the external screws located on the outside of the SEM21 motor (Fig.4).

- Run the length of semi-rigid/solid duct through the pre-cut hole and attach to the SEM21 collar. Secure in place with a URC-25/215 ring clamp, making sure it is fastened tightly and will not come off. Feed the cable from the motor through the 40mm plastic pipe at the same time.
- Lining up the fastening points with the pre-drilled holes, secure the motor in place using the supplied plastic dowels and the supplied screws.
- Replace the stainless steel body by following the step 5 in reverse, making sure that the holes line up perfectly to ensure the unit is sealed correctly. Do not silicone motor to the wall.
- Run the length of ducting back to the location of
SEM21 MOTOR WIRING DIAGRAM

SEM71 MOTOR
The SEM71 motor is designed to exhaust fumes and odours silently and effectively. It must be installed on an external wall a minimum of 500mm from the ground and connected to the rangehood. Note: due to OH&S regulations if the SEM71 motor is positioned higher than 2 metres from the ground, additional servicing costs may incur. Please note, motor must be accessible for servicing.
Note: due to the noise of the motor itself once installed, be sure to check that if it is located close to a boundary fence or you are in a built up area that you have checked with neighbours or local council regulations prior to installation.
• Note: the SEM71 motor cannot be installed back-to-back with the rangehood.
Motor/ducting and electrical connection installation
• Please note that the SEM71 motor must be installed at a minimum distance of 2 metres from the outlet collar on the rangehood. A maximum of 7 metres must not under any circumstances be exceeded. All SEM71 motors come fitted with a 7metre long control cable.
- The installation of the SEM71 motor must only be made by a qualified technicial/tradesperson. Where possible use a Sirius recommended installer. (See www.siriusbrand.com for a list under the support tab)
- After predetermining the location of the motor, make sure you are within the recommendations above in regards to min/max distances. Use the supplied drill hole template that is supplied with the SEM71 motor and drill support holes, paying careful attention to make sure that the area behind is clear of electrical cables and/or piping & plumbing. These holes are to be drilled with an 8mm drill bit.
- 210mm diameter hole to be cut into house for 200mm ducting. Please note that if a solid masonary block wall or brick wall is being used thaty a series of holes may need to be drilled and then the remainder of the hole be knock out by hand with a hammer and chisel. If a masonary hole bit is available, this will provise the best result.
- A hole must also be made to contain the plastic pipe that the SEM71 wiring loom is fed through. 40mm hole is required. 40mm drill bit required.


- Remove the stainless steel body to expose the motor and fixing points by removing the external screws located on the outside of the SEM71 motor. (Fig.4)
- Run the length of semi-rigid/solid duct through the pre-cut and attach to the SEM71 collar. Secure in place with a URC-25/215 ring clamp, making sure it is fastened tightly and will not come off. Feed the cable from the motor though the 40mm plastic pipe at the same time.
- Lining up the fastening points with the pre-drilled holes secure the motor in place using the supplied plastic dowels and the supplied screws.
- Replace the stainless steel body by following the step 5 in reverse making sure that the holes line up perfectly to ensure the unit is sealed correctly. Do not silicone motor to the wall.
- Run the length of ducting back to the location of the rangehood and secure to the outlet collar on the rangehood using anouther URC25-215 ring clamp.
SEM71 MOTOR WIRING DIAGRAM

SEM81 MOTOR
For ease of installation the SEM81 motor can be fixed inside the roof cavity or positioned underneath the floor of the house, providing the SEM81 motor is protected from the elements. The SEM81 motors uses mounting brackets to fix it securely to the predetermined location. This location must be accessible.
• Note: the SEM81 motor cannot be installed back-to-back with the rangehood.
Roof venting option shown
Motor/ducting and electrical connection installation
- After deciding the location of the SEM81 motor (no back-to-back intallation, no closer than 2 metres and no further than 7 metres from the rangehood) insert the supplied rubber anti-vibration caps into the holes on the supplied brackets. The motor should be ideally located closer to the venting point for maximum air movement. The rubber caps must be inserted on the side of the bracket that fixes to the structure. These caps will reduce any vibration and reduce the noise level of the motor. (Fig1. [1C])
- Using the supplied screws connect the brackets (Fig. 1A) to the motor (Fig. 1B).

- Align the SEM81 motor bracket with predetermined location and mark the points required for pre-drilling of the holes.
- After pre-drilling he holes, insert the plastic dowels (Fig. 2A) and then fix in place using the supplied screws (Fig. 2B).
Make sure you have taken note of the inwards and outwards arrows on the SEM81 motor and the motor is positioned accordingly. - Connect a length of Sirius 200mm ducting to the collar to the rangehood and secure with a URC25/215 ring clamp (if using semi-rigid ducting).
- Run a length a ducting to the location of the SEM81 motor and secure to the inlet collar and secure with another URC25/215 ring clamp (if using semi-rigid ducting).
- Run another length of 200mm ducting from the outlet collar on the SEM81 motor to the predetermined exit point/vent. See Sirius website for wall/room and eave venting options or contact your nearest Sirius retail partner.
- The SEM motor has a 7 metre long cable with colour-coded wiring. Follow the MOTOR WIRING CONNECTION instructions on page 4 of this manual to connect the motor to the rangehood.
- The motor will draw power itself from the rangehood which is plugged into a 10AMP powerpoint located within 1 metre of the rangehood.
SEM81 MOTOR WIRING DIAGRAM

NOTES
WARRANTY INFORMATION

Dear Customer,
Thank you for choosing this Sirius Rangehood.
We are sure that it will provide you with many years of excellent service. At Arisit Pty Limited we are dedicated to ensuring that our customers receive the best possible after-sales care.
The Sirius ‘Protection Plan’ has been devised to give you added peace of mind. Should you encounter any problems with your appliance, our nationwide team of specially trained technicians will deal with your call swiftly and efficiently.
| PRIORITY SERVICE, ACCESSORIES & SPARE PARTS | |
| AUSTRALIA ARISIT PTY LIMITED 40-50 Mark Anthony Drive, Dandenong South, VIC 3175, Australia Phone: 1300 762 219 Email: [email protected] | NEW ZEALAND ARISIT PTY LIMITED 1A Howe Street, Newton, Auckland 1145, New Zealand Phone: (09) 306 1020 Email: [email protected] |
Warranty
By registering your ownership NOW, you qualify for
Sirius’s Total Peace of Mind Protection Plan.
Australian & New Zealand 3 / 6 Year Protection Plan*
This guarantees your appliance for a full 3 years parts and labour & 10 years for the off-board motors (covering manufacturing defects only) from the date of purchase, subject to the Terms and Conditions overleaf.
*3 Year warranty is extended to a 6 year period only when Sirius ducting is installed.
Year Warranty
when Sirius ducting is used.
www.siriusbrand.com
Your Warranty
Register now to qualify.
Terms & Conditions
These Terms and Conditions apply only to Sirius products distributed in Australia and New Zealand by Arisit Pty Limited.
- This warranty applies for a period of 3 years on all products.
a) Warranty is extended to a 6 year period when Sirius ducting is installed.
b) All off-board motors are covered under warranty for a 10 year period for manufacturing defects only. - Warranty applies for parts and labour in Australia and New Zealand, commencing from date of purchase.
- This warranty applies only to the original purchaser/hire purchaser of this appliance and cannot be assigned or transferred. Failure to produce documentary proof of the date of original acquisition by the original purchaser will result in a charge being levied for work done, labour and parts supplied.
- This warranty does not apply to:
a) Consumable items such as filters, fuses, and light bulbs.
b) Damage to body work, paint work, glass, and plastic items (such as, but not limited to windows, covers, baskets, trays, worktops, door handles, control and kick panels.)
c) Corrosion & rust damage.
A fee may be charged following warranty claims where no fault is found with the appliance. - This warranty will not apply where:
a) The fault is caused by accident, misuse, an infestation of insect and or vermin, fire, flood or the use of products not approved by Arisit Pty Limited.
b) There has been a failure to comply with the manufacturer’s operating and installation instructions.
c) Service, modification or repair has been carried out by anybody other than an approved Arisit Service Technician.
d) The appliance has been used/ installed anywhere other than a private dwelling, or where it has been used other than for domestic use.
e) The appliance is subject to a rental agreement. - Any defective part that has been replaced becomes the property of Arisit Pty. Limited.
- This warranty applies only to Sirius appliances purchased and installed in Australia and New Zealand.
- Loss of use of the appliance or consequential loss of any nature is not covered.
- A charge may be levied at the discretion of Arisit Pty Limited if the call is deemed unnecessary or if the cause of failure is traced to external sourced such as, but not limited to: blown fused, power failure, faulty installation, customer misuse or negligence, etc
- Where the appliance, the subject of a warranty claim or repair, is used or installed more than TWENTY (20) kilometres from the nearest Arisit Service Division or Authorised Service Agent, the cost of delivery to the nearest Service Division or travel costs for a technician or Authorised Service Agent shall be for the account of the Purchaser. Where a built-in appliance is located or installed outside the Arisit Authorised Service Agent’s normal service area, additional travel and labour costs shall be the account of the Purchaser.
- Service is offered during normal business hours only, also appliances to have a clear access in a serviceable area
- Arisit Pty Limited shall not under any circumstances be responsible in terms of this warranty for the replacement or repair of any part of the equipment which may have been damaged in transit, during and after installation or imperfections after installation.
- Losses caused by act of God, failure to obtain spare parts, strikes or lockouts are not covered.
- External off board motors must be installed a minimum of 2 metres and maximum of 7 metres away from the rangehood. This is for optimum sound and performance.
- All motors must be accessible for servicing purposes and if installed above 2 metres from ground height additional cost will be incurred due to OH&S standards for service agents. Prior to install please check minimum & maximum installation details on the Sirius website, FAQ under support tab. We reserve the right to amend any of the above without prior notice.
- This warranty does not affect your statutory rights.

To register for your warranty, please visit:
www.arisitwarranties.com.au/Customer-Registration.aspx or scan the QR code.
ARISIT PTY LIMITED (Australia) ABN 23 091 515 294
40-50 Mark Anthony Drive
Dandenong South VIC 3175
P: Sales & Service: 1300 762 219
F: Sales & Service: (03) 9768 0838
E: [email protected]
ARISIT PTY LIMITED (New Zealand)
1A Howe Street Newton, Auckland 1145
PO Box 68-140 Newton, Auckland 1145
P: (09) 306 1020 – Fax: (09) 302 0077
E: [email protected]
www.arisit.com
www.siriusbrand.com
Year Warranty
when Sirius ducting is used.
Full replacement warranty on parts and labour. Check website for T&Cs.
10 year warranty on SEM motors.
Sirius Hoods and ducting products are only available from our select group of Sirius Professional Stockists nationwide. For the latest list of Sirius Stockists near you, please refer to www.siriusbrand.com All efforts have been made to ensure that the information provided in this brochure is correct at the time of printing. Due to continuous product improvement and ongoing development, Sirius reserves the right to make changes to the products and technical data without prior notice. Some products appearing in this brochure may be for illustrative purposes only. Diagrams are indicative measures only. Prior to commencing cabinetry cutouts the operating/installation instructions accompanying the product must be referred to at www.siriusbrand.com

Make sure you have taken note of the inwards and outwards arrows on the SEM motor and the motor is positioned accordingly.





Make sure you have taken note of the inwards and outwards arrows on the SEM81 motor and the motor is positioned accordingly.















